k-part
Номер на схеме Каталожный номер Название Количество Детали
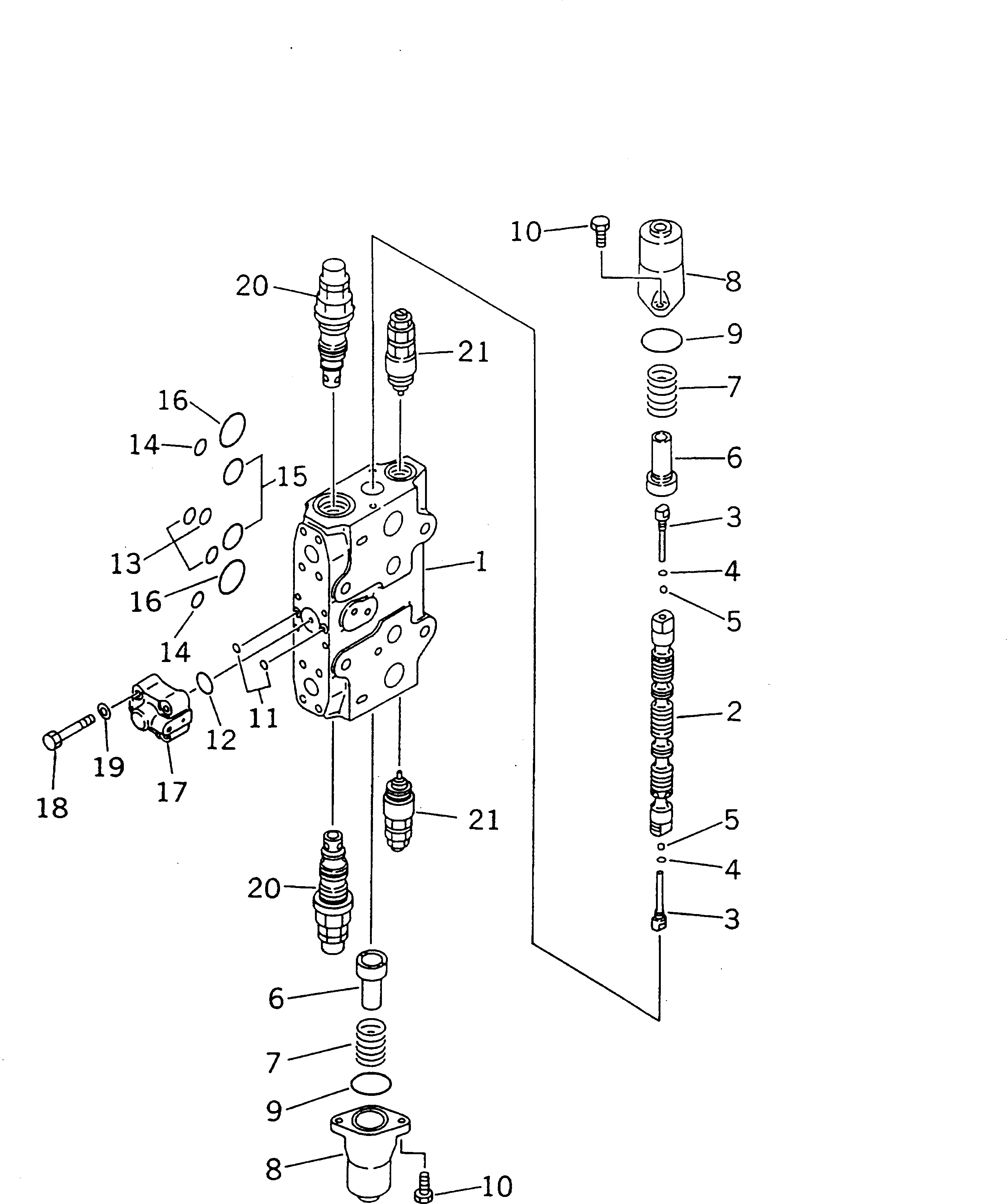
? (723-47-12101) VALVE ASS'Y 1
SN: 30636-30915
KIT-FLAG: _-
SERIALNO: 30636-30915
? (723-47-12100) VALVE ASS'Y 1
SN: 30500-30635
KIT-FLAG: _-
SERIALNO: 30500-30635
? THESE ASSEMBLIES CONSIST OF ALL PARTS SHOWN IN FIGS.Y1662-01A0A TO Y1662-11A0A .
SERIALNO:
? • BLOCK,VALVE 1
SN: 30001-@
KIT-FLAG: _-
SERIALNO: 30001-@
? • SPOOL 1
SN: 30327-@
KIT-FLAG: _-
SERIALNO: 30327-@
? 723-46-15130 • PLUG 2
SN: 30001-@
KIT-FLAG: _-
SERIALNO: 30001-@
? 07002-10823 • O-RING 2
SN: 30001-@
KIT-FLAG: _-
SERIALNO: 30001-@
? 708-7T-16460 • BALL 2
SN: 30001-@
KIT-FLAG: _-
SERIALNO: 30001-@
? 723-46-15120 • RETAINER 2
SN: 30001-@
KIT-FLAG: _-
SERIALNO: 30001-@
? 723-46-14110 • SPRING 2
SN: 30001-@
KIT-FLAG: _-
SERIALNO: 30001-@
? 723-46-15111 • CASE 2
SN: 30001-@
KIT-FLAG: _-
SERIALNO: 30001-@
? 07430-71380 • O-RING 2
SN: 30001-@
KIT-FLAG: _-
SERIALNO: 30001-@
? 01252-30820 • BOLT 4
SN: 30001-@
KIT-FLAG: _-
SERIALNO: 30001-@
? 07000-11009 • O-RING 2
SN: 30001-@
KIT-FLAG: _-
SERIALNO: 30001-@
? 07000-12021 • O-RING 1
SN: 30001-@
KIT-FLAG: _-
SERIALNO: 30001-@
? 07000-12015 • O-RING 3
SN: 30001-@
KIT-FLAG: _-
SERIALNO: 30001-@
? 07000-12018 • O-RING 2
SN: 30001-@
KIT-FLAG: _-
SERIALNO: 30001-@
? 07000-13032 • O-RING 2
SN: 30001-@
KIT-FLAG: _-
SERIALNO: 30001-@
? 07000-03040 • O-RING 2
SN: 30001-@
KIT-FLAG: _-
SERIALNO: 30001-@
? (723-40-66300) • VALVE ASS'Y 1
SN: 30001-@
KIT-FLAG: _-
SERIALNO: 30001-@
? 01252-60845 • BOLT 4
SN: 30001-@
KIT-FLAG: _-
SERIALNO: 30001-@
? 01643-50823 • WASHER 4
SN: 30001-@
KIT-FLAG: _-
SERIALNO: 30001-@
? (723-46-48100) • VALVE ASS'Y 2
SN: 30500-@
KIT-FLAG: _-
SERIALNO: 30500-@
? (709-70-74600) • VALVE ASS'Y,SUCTION AND SAFETY 2
SN: 30001-@
KIT-FLAG: _-
SERIALNO: 30001-@

Excavators Komatsu / PC210LC-6 S/N 30001-UP(pc210lcc) / MAIN VALVE (1-ACTUATOR) (10/11)(#30500-30915)(482100 : Y1662-10A0A)