| Номер на схеме | Каталожный номер | Название | Количество | Детали | |||
|---|---|---|---|---|---|---|---|
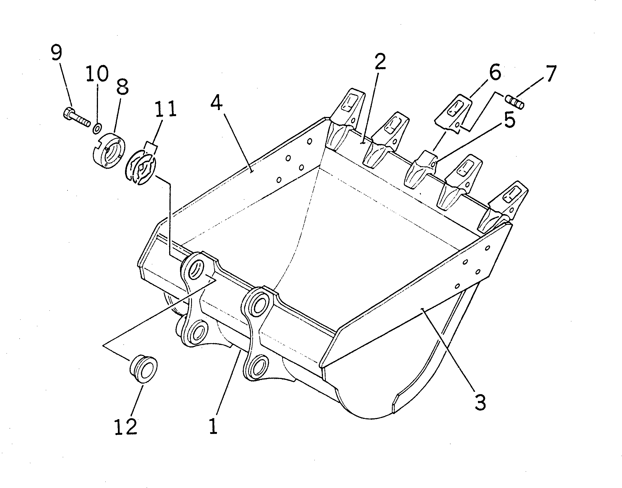
| ? | 20Y-70-24510 | BUCKET | 1 | SN: 30001-30915 |
|||
| ? | 20Y-70-14121 | • PLATE | 1 | SN: 30001-30915 |
|||
| ? | 20Y-70-24130 | • PLATE | 1 | SN: 30001-30915 |
|||
| ? | 20Y-70-24140 | • PLATE | 1 | SN: 30001-30915 |
|||
| ? | 20Y-70-14520 | • ADAPTER | 5 | SN: 30001-30915 |
|||
| ? | 205-70-19570 | TOOTH | 5 | SN: 30001-@ |
|||
| ? | 09244-02496 | PIN | 5 | SN: 30001-@ |
|||
| ? | 205-70-74391 | PLATE | 1 | SN: 30001-@ |
|||
| ? | 01010-32055 | BOLT | 4 | SN: 30001-30915 |
|||
| ? | 01643-32060 | WASHER | 4 | SN: 30001-@ |
|||
| ? | 205-70-00100 | SHIM ASS'Y | 1 | SN: 30001-@ |
|||
| ? | ☆ | • SHIM ? 1.0MM | 8 | SN: 30001-@ |
|||
| ? | ☆ | • SHIM ? 0.5MM | 4 | SN: 30001-@ |
|||
| ? | 205-70-74381 | SPACER | 1 | SN: 30001-@ |
