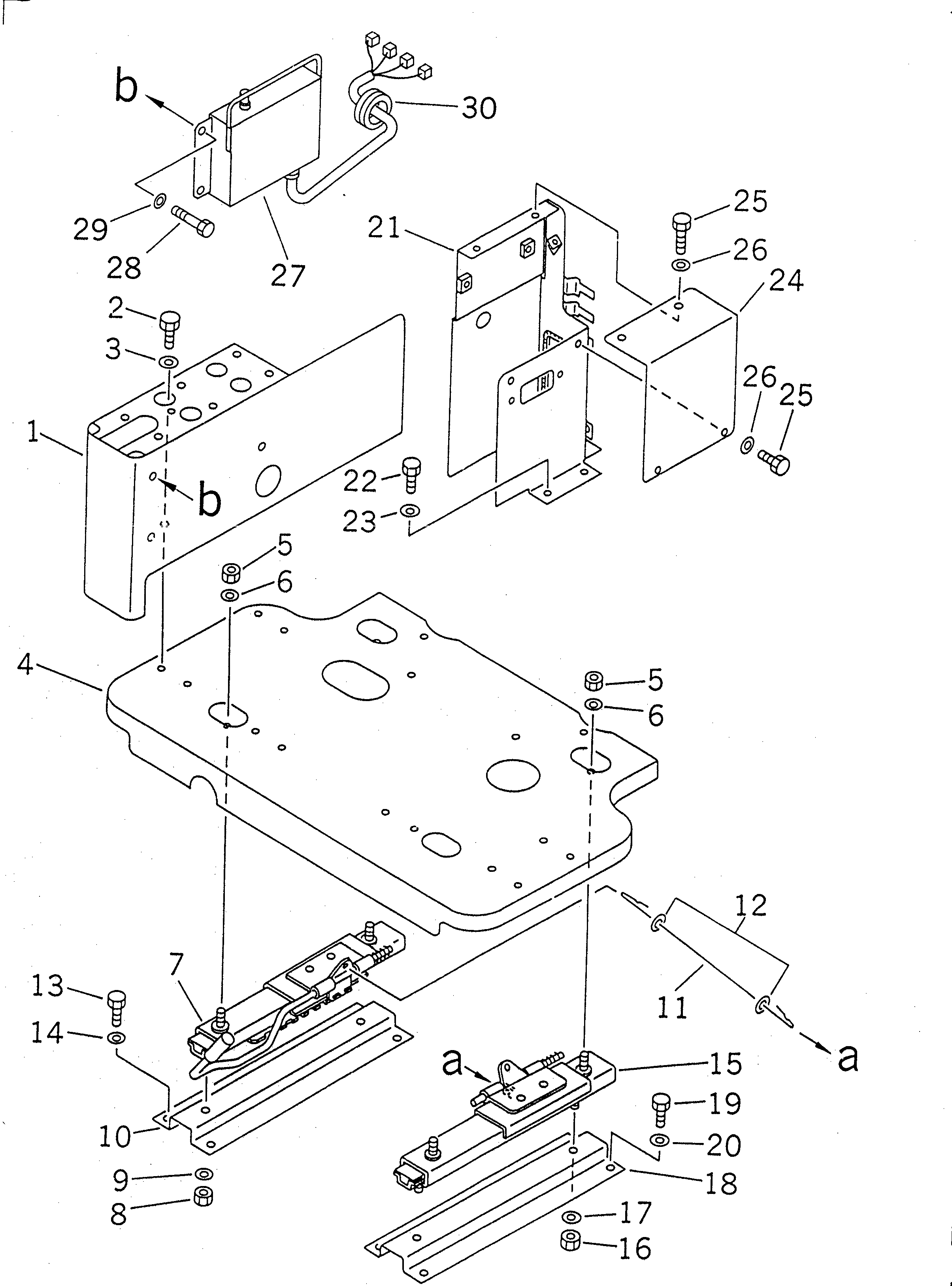
k-part
Номер на схеме Каталожный номер Название Количество Детали
? 20Y-43-22950 COVER 1
SN: 30001-@
? 01010-51025 BOLT 4
SN: 30001-30979
? 01643-31032 WASHER 4
SN: 30001-@
? 207-43-61110 FRAME 1
SN: 30500-@
? 20Y-43-21861 FRAME 1
SN: 30001-30499
? 01582-11008 NUT 4
SN: 30001-@
? 01643-31032 WASHER 4
SN: 30001-@
? 207-43-61140 ADJUSTER,R.H. 1
SN: 30964-@
? 20Y-43-29530 ADJUSTER,R.H. 1
SN: 30512-30963
? 20Y-43-22532 ADJUSTER,R.H. 1
SN: 30001-30511
? 01582-11008 NUT 2
SN: 30001-@
? 01643-31032 WASHER 2
SN: 30001-@
? 20Y-43-22320 PLATE 1
SN: 30001-@
? 20Y-43-22540 WIRE 1
SN: 30001-@
? 01640-20816 WASHER 2
SN: 30001-@
? 01010-51025 BOLT 4
SN: 30001-30979
? 01643-31032 WASHER 4
SN: 30001-@
? 207-43-61130 ADJUSTER,L.H. 1
SN: 30964-@
? 20Y-43-22522 ADJUSTER,L.H. 1
SN: 30001-30963
? 01582-11008 NUT 2
SN: 30001-@
? 01643-31032 WASHER 2
SN: 30001-@
? 20Y-43-22320 PLATE 1
SN: 30001-@
? 01010-51025 BOLT 4
SN: 30001-30979
? 01643-31032 WASHER 4
SN: 30001-@
? 20Y-43-21883 COVER,R.H. 1
SN: 30500-@
? 20Y-43-21882 COVER,R.H. 1
SN: 30001-30499
? 01010-51225 BOLT 3
SN: 30001-30979
? 01643-31232 WASHER 3
SN: 30001-@
? 20Y-43-21970 COVER,R.H. 1
SN: 30001-@
? 01010-50816 BOLT 4
SN: 30001-30979
? 01643-30823 WASHER 4
SN: 30001-@
? 6138-82-5510 MONITOR ASS'Y 1
SN: 30001-@
? 01010-30830 BOLT 3
SN: 30001-@
? 01643-30823 WASHER 3
SN: 30001-@
? 08037-03614 GROMMET 1
SN: 30001-@

Excavators Komatsu / PC210-6-A1 S/N 30001-UP(pc210-2r) / RIGHT STAND (STAND ? FRAME AND ADJUSTER) (FOR CERAMIC MUFFLER)(#30001-30979)(090020 : K1220-02A2)