k-part
Номер на схеме Каталожный номер Название Количество Детали
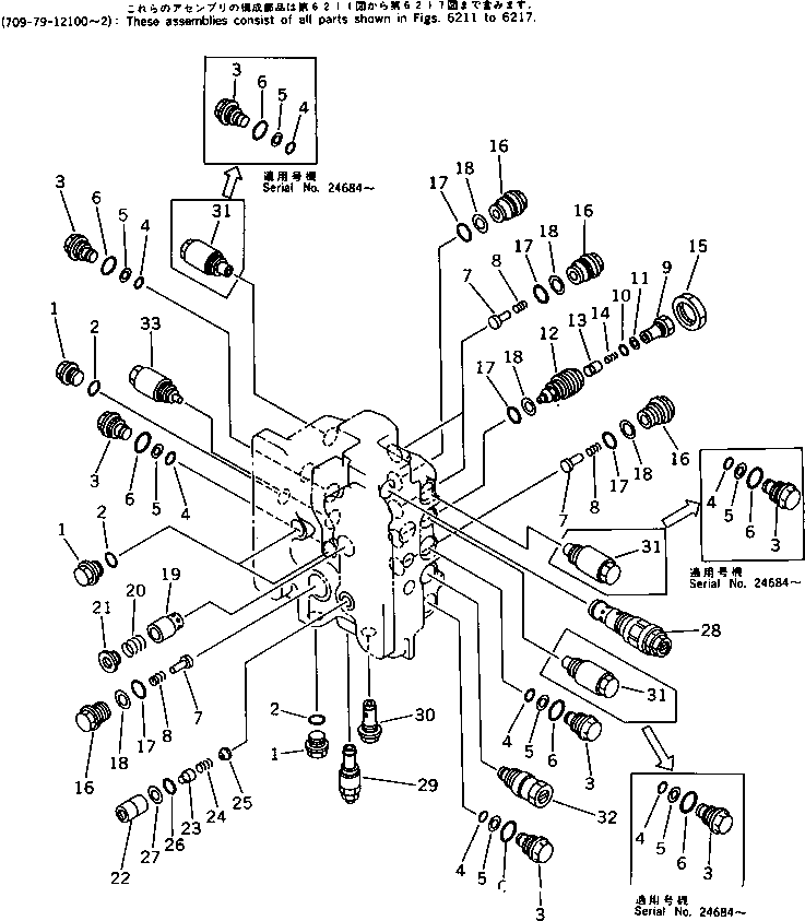
? (709-79-12102) CONTROL VALVE ASS'Y 1
SN: 20001-25160
KIT-FLAG: _-
SERIALNO: 20001-25160
? (☒709-79-12101) CONTROL VALVE ASS'Y 1
SN: (20008-23287)
KIT-FLAG: _-
SERIALNO: (20008-23287)
? (☒709-79-12100) CONTROL VALVE ASS'Y 1
SN: (20001-20007)
KIT-FLAG: _-
SERIALNO: (20001-20007)
? (709-75-00020) • VALVE ASS'Y 1
SN: .-@
KIT-FLAG: _-
SERIALNO: .-@
? (709-75-92101) • VALVE ASS'Y 1
SN: 20001-.
KIT-FLAG: _-
SERIALNO: 20001-.
? (☒709-75-92100) • VALVE ASS'Y 1
SN: (20001-23287)
KIT-FLAG: _-
SERIALNO: (20001-23287)
? 700-22-11370 • • PLUG 4
SN: 20001-@
KIT-FLAG: _-
SERIALNO: 20001-@
? 07002-12434 • • O-RING 4
SN: 20001-@
KIT-FLAG: _-
SERIALNO: 20001-@
? 700-84-13960 • • PLUG 7
SN: 24684-@
KIT-FLAG: _-
SERIALNO: 24684-@
? 700-84-13960 • • PLUG 4
SN: 20001-24683
KIT-FLAG: _-
SERIALNO: 20001-24683
? 700-22-11410 • • O-RING 7
SN: 24684-@
KIT-FLAG: _-
SERIALNO: 24684-@
? 700-22-11410 • • O-RING 4
SN: 20001-24683
KIT-FLAG: _-
SERIALNO: 20001-24683
? 700-80-64220 • • RING,BACK-UP 7
SN: 24684-@
KIT-FLAG: _-
SERIALNO: 24684-@
? 700-80-64220 • • RING,BACK-UP 4
SN: 20001-24683
KIT-FLAG: _-
SERIALNO: 20001-24683
? 07002-03034 • • O-RING 7
SN: 24684-@
KIT-FLAG: _-
SERIALNO: 24684-@
? 07002-03034 • • O-RING 4
SN: 20001-24683
KIT-FLAG: _-
SERIALNO: 20001-24683
? 709-75-92210 • • VALVE,CHECK 4
SN: 20001-@
KIT-FLAG: _-
SERIALNO: 20001-@
? 709-75-92220 • • SPRING 4
SN: 20001-@
KIT-FLAG: _-
SERIALNO: 20001-@
? 709-74-92450 • • PLUG 1
SN: 20001-@
KIT-FLAG: _-
SERIALNO: 20001-@
? 07000-12010 • • O-RING 1
SN: 20001-@
KIT-FLAG: _-
SERIALNO: 20001-@
? 07001-02010 • • RING,BACK-UP 1
SN: 20001-@
KIT-FLAG: _-
SERIALNO: 20001-@
? 709-74-92440 • • PLUG 1
SN: 20001-@
KIT-FLAG: _-
SERIALNO: 20001-@
? 706-73-70140 • • VALVE,CHECK 1
SN: 20001-@
KIT-FLAG: _-
SERIALNO: 20001-@
? 706-73-70150 • • SPRING 1
SN: 20001-@
KIT-FLAG: _-
SERIALNO: 20001-@
? 709-74-92460 • • NUT 1
SN: 20001-@
KIT-FLAG: _-
SERIALNO: 20001-@
? 709-75-92230 • • PLUG 5
SN: 20001-@
KIT-FLAG: _-
SERIALNO: 20001-@
? 700-93-11320 • • O-RING 6
SN: 20001-@
KIT-FLAG: _-
SERIALNO: 20001-@
? 700-93-11330 • • RING,BACK-UP 6
SN: 20001-@
KIT-FLAG: _-
SERIALNO: 20001-@
? 709-74-92280 • • VALVE 1
SN: 20001-@
KIT-FLAG: _-
SERIALNO: 20001-@
? 709-74-92290 • • SPRING 1
SN: 20001-@
KIT-FLAG: _-
SERIALNO: 20001-@
? 709-74-92310 • • SEAT 1
SN: 20001-@
KIT-FLAG: _-
SERIALNO: 20001-@
? 709-74-92320 • • SLEEVE 1
SN: 20001-25160
KIT-FLAG: _-
SERIALNO: 20001-25160
? (☒709-74-92330) • • VALVE 1
SN: (20001-25160)
KIT-FLAG: _-
SERIALNO: (20001-25160)
? (☒709-74-92340) • • SPRING 1
SN: (20001-25160)
KIT-FLAG: _-
SERIALNO: (20001-25160)
? (☒709-74-92350) • • SEAT 1
SN: (20001-25160)
KIT-FLAG: _-
SERIALNO: (20001-25160)
? 07000-12021 • • O-RING 1
SN: 20001-25160
KIT-FLAG: _-
SERIALNO: 20001-25160
? 07001-02021 • • RING,BACK-UP 1
SN: 20001-25160
KIT-FLAG: _-
SERIALNO: 20001-25160
? (709-70-51200) • RELIEF VALVE ASS'Y 1
SN: 20001-@
KIT-FLAG: _-
SERIALNO: 20001-@
? (☒709-70-55100) • RELIEF VALVE ASS'Y 1
SN: (20001-@)
KIT-FLAG: _-
SERIALNO: (20001-@)
? (709-70-91300) • ORIFICE ASS'Y 1
SN: 20001-@
KIT-FLAG: _-
SERIALNO: 20001-@
? (700-81-81000) • VALVE ASS'Y,SUCTION 3
SN: 20001-24683
KIT-FLAG: _-
SERIALNO: 20001-24683
? (709-70-62200) • VALVE ASS'Y,SAFETY 1
SN: 20001-@
KIT-FLAG: _-
SERIALNO: 20001-@
? (☒709-70-62100) • VALVE ASS'Y 1
SN: (20001-.)
KIT-FLAG: _-
SERIALNO: (20001-.)
? (☒709-70-61200) • VALVE ASS'Y,SUCTION AND SAFETY 1
SN: (20001-@)
KIT-FLAG: _-
SERIALNO: (20001-@)

Excavators Komatsu / PC200LC-3 S/N 20001-UP(pc200l5c) / CONTROL VALVE (3/7) (FOR WRIST CONTROL)(#20001-25160)(180630 : 6213)