| Номер на схеме | Каталожный номер | Название | Количество | Детали | |||
|---|---|---|---|---|---|---|---|
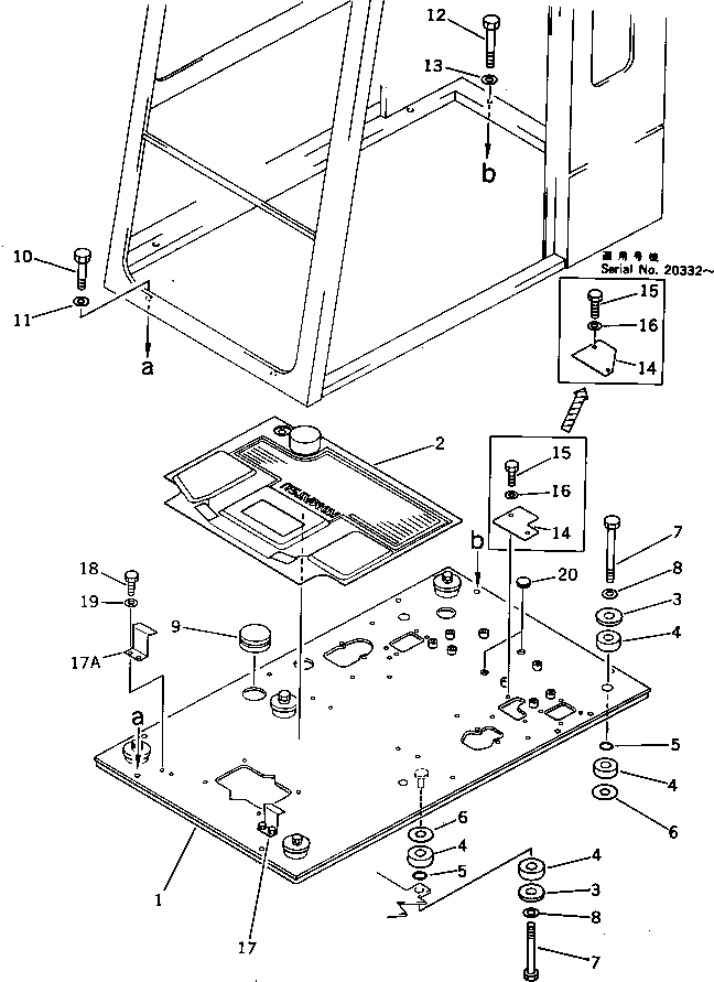
| ? | 205-54-71164 | FRAME,FLOOR | 1 | SN: 20877-25923 KIT-FLAG: _- SERIALNO: 20877-25923 |
|||
| ? | 205-54-71163 | FRAME,FLOOR | 1 | SN: 20332-20876 KIT-FLAG: _- SERIALNO: 20332-20876 |
|||
| ? | 205-54-71162 | FRAME,FLOOR | 1 | SN: 20001-20331 KIT-FLAG: _- SERIALNO: 20001-20331 |
|||
| ? | 205-54-72421 | MAT,FLOOR | 1 | SN: 20001-@ KIT-FLAG: _- SERIALNO: 20001-@ |
|||
| ? | 205-54-71691 | PLATE | 6 | SN: 20001-@ KIT-FLAG: _- SERIALNO: 20001-@ |
|||
| ? | 205-54-71680 | CUSHION | 12 | SN: 20001-@ KIT-FLAG: _- SERIALNO: 20001-@ |
|||
| ? | 07000-03028 | O-RING | 6 | SN: 20001-@ KIT-FLAG: _- SERIALNO: 20001-@ |
|||
| ? | 205-54-72640 | SPACER | 6 | SN: 20001-@ KIT-FLAG: _- SERIALNO: 20001-@ |
|||
| ? | 01011-51600 | BOLT | 6 | SN: 20001-@ KIT-FLAG: _- SERIALNO: 20001-@ |
|||
| ? | 01643-31645 | WASHER | 6 | SN: 20001-@ KIT-FLAG: _- SERIALNO: 20001-@ |
|||
| ? | 09415-05016 | CAP | 2 | SN: 20001-@ KIT-FLAG: _- SERIALNO: 20001-@ |
|||
| ? | 01010-51250 | BOLT | 3 | SN: 20001-@ KIT-FLAG: _- SERIALNO: 20001-@ |
|||
| ? | 01643-31232 | WASHER | 3 | SN: 20001-@ KIT-FLAG: _- SERIALNO: 20001-@ |
|||
| ? | 01010-51270 | BOLT | 6 | SN: 20001-@ KIT-FLAG: _- SERIALNO: 20001-@ |
|||
| ? | 01643-31232 | WASHER | 6 | SN: 20001-@ KIT-FLAG: _- SERIALNO: 20001-@ |
|||
| ? | 205-06-71771 | PLATE | 1 | SN: 20332-@ KIT-FLAG: _- SERIALNO: 20332-@ |
|||
| ? | 205-06-71770 | PLATE | 1 | SN: 20001-20331 KIT-FLAG: _- SERIALNO: 20001-20331 |
|||
| ? | 01010-51020 | BOLT | 2 | SN: 20001-@ KIT-FLAG: _- SERIALNO: 20001-@ |
|||
| ? | 01643-31032 | WASHER | 2 | SN: 20001-@ KIT-FLAG: _- SERIALNO: 20001-@ |
|||
| ? | 205-43-73590 | BRACKET,L.H. | 1 | SN: 24944-@ KIT-FLAG: _- SERIALNO: 24944-@ |
|||
| ? | 203-43-42572 | BRACKET,L.H. | 1 | SN: 20332-24943 KIT-FLAG: _- SERIALNO: 20332-24943 |
|||
| ? | 203-43-42571 | BRACKET,L.H. | 1 | SN: 20001-20331 KIT-FLAG: _- SERIALNO: 20001-20331 |
|||
| ? | 205-43-73610 | BRACKET,R.H. | 1 | SN: 24944-@ KIT-FLAG: _- SERIALNO: 24944-@ |
|||
| ? | 203-43-42572 | BRACKET,R.H. | 1 | SN: 20332-24943 KIT-FLAG: _- SERIALNO: 20332-24943 |
|||
| ? | 203-43-42571 | BRACKET,R.H. | 1 | SN: 20001-20331 KIT-FLAG: _- SERIALNO: 20001-20331 |
|||
| ? | 01010-51025 | BOLT | 4 | SN: 20001-@ KIT-FLAG: _- SERIALNO: 20001-@ |
|||
| ? | 01643-31032 | WASHER | 4 | SN: 20001-@ KIT-FLAG: _- SERIALNO: 20001-@ |
|||
| ? | 09415-02520 | CAP | 2 | SN: 20001-@ KIT-FLAG: _- SERIALNO: 20001-@ |
