| Номер на схеме | Каталожный номер | Название | Количество | Детали | |||
|---|---|---|---|---|---|---|---|
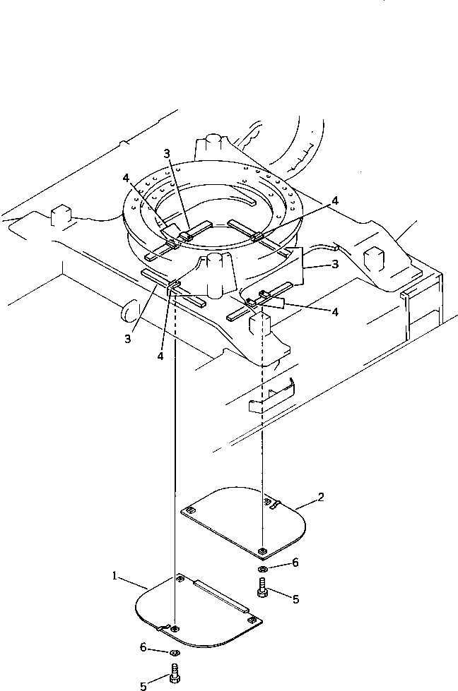
| ? | 205-30-71410 | COVER | 1 | SN: 20001- |
|||
| ? | 205-30-71420 | COVER | 1 | SN: 20001- |
|||
| ? | 205-30-71430 | PLATE (WELDED) | 4 | SN: 20001- |
|||
| ? | 01573-12308 | SEAT (WELDED) | 6 | SN: 20001- |
|||
| ? | 01010-51235 | BOLT | 6 | SN: 20001- |
|||
| ? | 01643-31232 | WASHER | 6 | SN: 20001- |
