| Номер на схеме | Каталожный номер | Название | Количество | Детали | |||
|---|---|---|---|---|---|---|---|
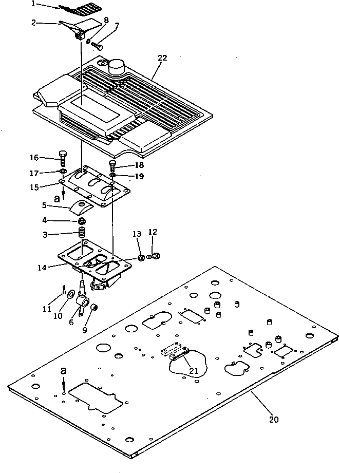
| ? | 205-970-7240 | SHEET | 1 | SN: 20001-@ |
|||
| ? | 205-970-7230 | PEDAL | 1 | SN: 20001-@ |
|||
| ? | 09340-10130 | SPRING | 1 | SN: 20001-@ |
|||
| ? | 203-43-41660 | SPACER | 1 | SN: 20001-@ |
|||
| ? | 20S-43-11230 | COVER | 1 | SN: 20001-23894 |
|||
| ? | 205-970-7250 | LEVER | 1 | SN: 20001-@ |
|||
| ? | 01010-50825 | BOLT | 1 | SN: 20001-@ |
|||
| ? | 01643-30823 | WASHER | 1 | SN: 20001-@ |
|||
| ? | 195-61-34130 | BEARING | 2 | SN: 20001-@ |
|||
| ? | 01640-02032 | WASHER | 1 | SN: 20001-@ |
|||
| ? | 04050-15030 | PIN,COTTER | 1 | SN: 20001-@ |
|||
| ? | 01016-51040 | BOLT | 2 | SN: 20001-@ |
|||
| ? | 01580-11008 | NUT | 2 | SN: 20001-@ |
|||
| ? | 205-970-7210 | BRACKET | 1 | SN: 20001-23894 |
|||
| ? | 205-970-7220 | COVER | 1 | SN: 20001-@ |
|||
| ? | 01010-51235 | BOLT | 6 | SN: 20001-@ |
|||
| ? | 01643-31232 | WASHER | 6 | SN: 20001-@ |
|||
| ? | 01010-51016 | BOLT | 2 | SN: 20001-@ |
|||
| ? | 01643-31032 | WASHER | 2 | SN: 20001-@ |
|||
| ? | 205-970-7380 | FRAME | 1 | SN: 20001-@ |
|||
| ? | 205-970-7330 | • SEAT (WELDED) | 2 | SN: 20001-23894 |
|||
| ? | 205-970-7370 | MAT,FLOOR | 1 | SN: 20001-@ |
