k-part
Номер на схеме Каталожный номер Название Количество Детали
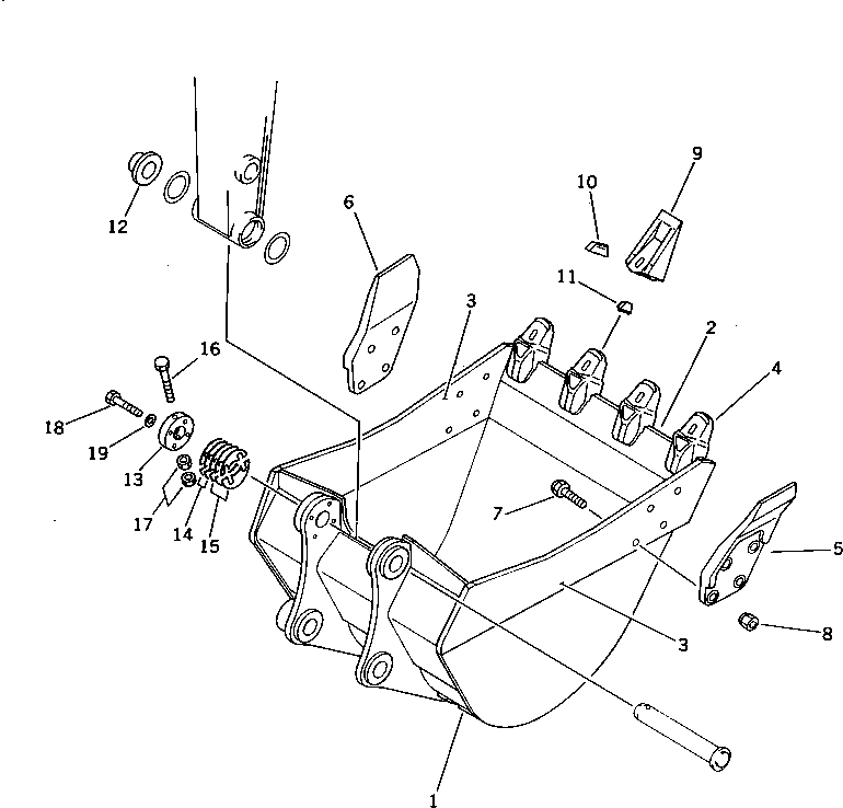
? 203-70-43111 BUCKET 1
SN: 20001-26106
? 203-70-43121 • PLATE (WELDED) 1
SN: 20001-26106
? 203-70-43131 • PLATE (WELDED) 2
SN: 20001-26106
? 203-70-43190 • ADAPTER (WELDED) 4
SN: 20001-26106
? 203-70-43260 CUTTER,L.H. 1
SN: 20001-@
? 203-70-43270 CUTTER,R.H. 1
SN: 20001-@
? 01675-32269 BOLT 8
SN: 20001-@
? 01803-42226 NUT 8
SN: 20001-@
? 203-70-43180 TOOTH 4
SN: 20001-@
? 203-70-43210 PIN 4
SN: 20001-@
? 203-70-43220 PIN 4
SN: 20001-@
? 203-70-44452 SPACER 1
SN: 20001-@
? 203-70-44441 PLATE 1
SN: 20001-@
? 203-70-44460 SHIM ? 0.5MM 4
SN: 20001-@
? 203-70-44550 SHIM ? 1.0MM 8
SN: 20001-@
? 01011-51670 BOLT 1
SN: 20001-@
? 01580-11613 NUT 2
SN: 20001-@
? 01010-51470 BOLT 4
SN: 20001-@
? 01643-31445 WASHER 4
SN: 20001-@

Excavators Komatsu / PC200LC-3 S/N 20001-UP(pc200l7r) / BUCKET ? 0.45M3 ? WIDTH 850MM (FOR 40FEET LONG FRONT)(#20001-26106)(210640 : 7621)