| Номер на схеме | Каталожный номер | Название | Количество | Детали | |||
|---|---|---|---|---|---|---|---|
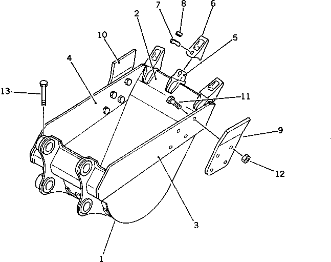
| ? | ▩205-926-7210 | BUCKET | 1 | SN: 20001-22041 |
|||
| ? | (205-926-7211{362-46-11210)} | ||||||
| ? | 205-926-7220 | • PLATE (WELDED) | 1 | SN: 20001-@ |
|||
| ? | 205-70-74161 | • PLATE,L.H. (WELDED) | 1 | SN: 20001-@ |
|||
| ? | 205-70-74171 | • PLATE,R.H. (WELDED) | 1 | SN: 20001-@ |
|||
| ? | 205-70-74261 | • ADAPTER (WELDED) | 3 | SN: 20001-@ |
|||
| ? | 205-70-74271 | TOOTH | 3 | SN: 20001-@ |
|||
| ? | 205-70-74280 | PIN | 3 | SN: 20001-@ |
|||
| ? | 205-70-74290 | LOCK | 3 | SN: 20001-@ |
|||
| ? | 205-70-74180 | CUTTER,L.H. | 1 | SN: 20001-@ |
|||
| ? | 205-70-74190 | CUTTER,R.H. | 1 | SN: 20001-@ |
|||
| ? | 176-32-11210 | BOLT ? SHOE | 8 | SN: 20001-@ |
|||
| ? | 01803-02430 | NUT | 8 | SN: 20001-@ |
|||
| ? | 205-70-73190 | BOLT | 1 | SN: 20001-22041 |
