| Номер на схеме | Каталожный номер | Название | Количество | Детали | |||
|---|---|---|---|---|---|---|---|
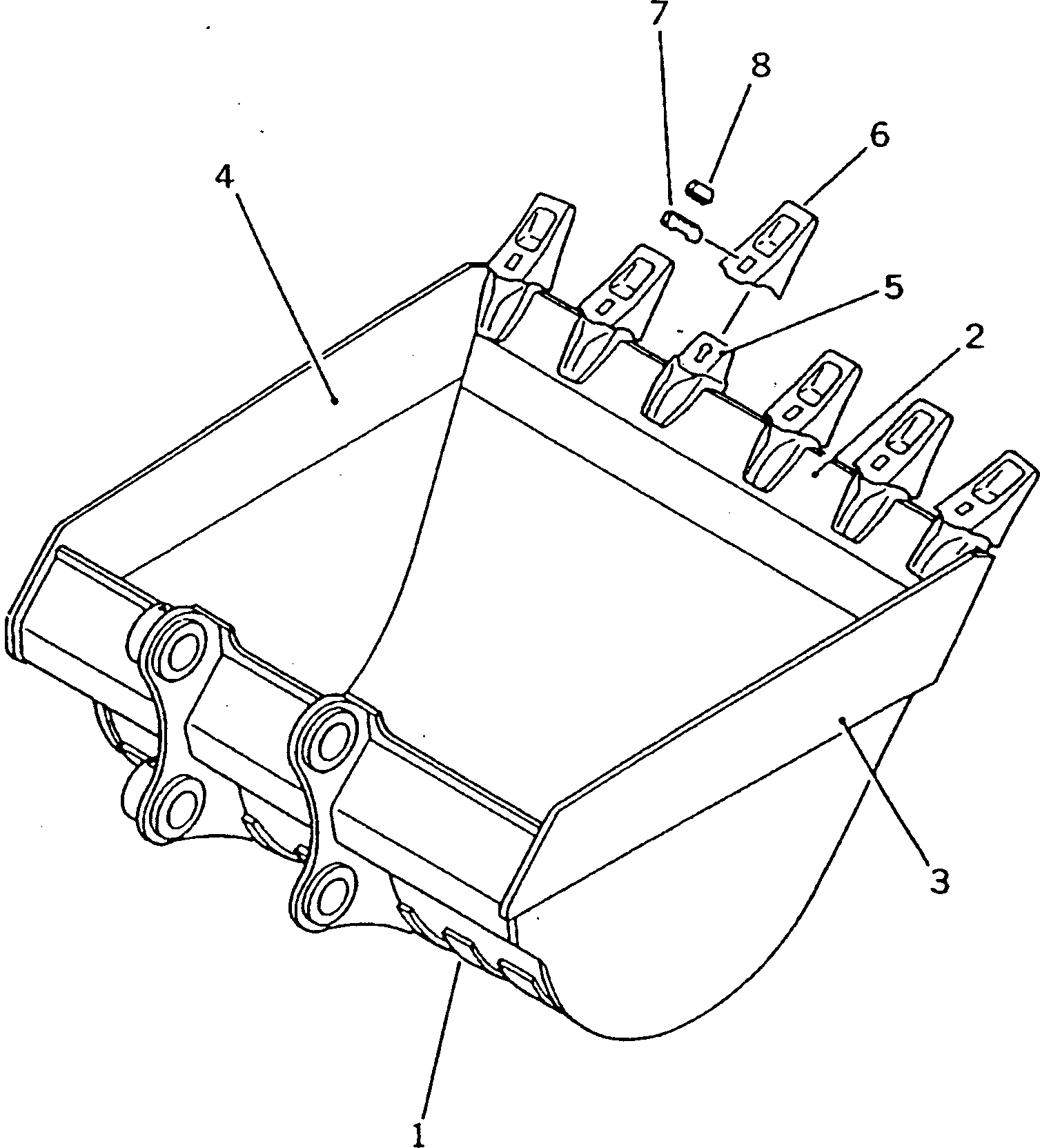
| ? | 205-920-7311 | BUCKET | 1 | SN: 23761-33130 |
|||
| ? | 205-920-7321 | • PLATE (WELDED) | 1 | SN: 31378-33130 |
|||
| ? | 205-920-7320 | • PLATE (WELDED) | 1 | SN: 20001-31377 |
|||
| ? | 205-920-7331 | • PLATE,L.H. (WELDED) | 1 | SN: 31378-33130 |
|||
| ? | 205-920-7330 | • PLATE,L.H. (WELDED) | 1 | SN: 20001-31377 |
|||
| ? | 205-920-7341 | • PLATE,R.H. (WELDED) | 1 | SN: 31378-33130 |
|||
| ? | 205-920-7340 | • PLATE,R.H. (WELDED) | 1 | SN: 20001-31377 |
|||
| ? | 205-70-74261 | • ADAPTER (WELDED) | 6 | SN: 20001-33130 |
|||
| ? | 205-70-74272 | TOOTH | 6 | SN: 25327-@ |
|||
| ? | □205-70-74271 | TOOTH | 6 | SN: 20001-25326 |
|||
| ? | 205-70-74281 | PIN | 6 | SN: 24676-@ |
|||
| ? | □205-70-74280 | PIN | 6 | SN: 20001-24675 |
|||
| ? | 205-70-74291 | LOCK | 6 | SN: 27913-@ |
|||
| ? | □205-70-74290 | LOCK | 6 | SN: 20001-27912 |
