| Номер на схеме | Каталожный номер | Название | Количество | Детали | |||
|---|---|---|---|---|---|---|---|
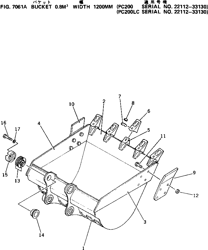
| ? | 205-920-7211 | BUCKET | 1 | SN: 22706-33130 |
|||
| ? | □205-920-7210 | BUCKET | 1 | SN: 20001-22705 |
|||
| ? | 205-920-7221 | • PLATE (WELDED) | 1 | SN: 31378-33130 |
|||
| ? | 205-920-7220 | • PLATE (WELDED) | 1 | SN: 20001-31377 |
|||
| ? | 205-70-74162 | • PLATE,L.H. (WELDED) | 1 | SN: 31378-33130 |
|||
| ? | 205-70-74161 | • PLATE,L.H. (WELDED) | 1 | SN: 20001-31377 |
|||
| ? | 205-70-74172 | • PLATE,R.H. (WELDED) | 1 | SN: 31378-33130 |
|||
| ? | 205-70-74171 | • PLATE,R.H. (WELDED) | 1 | SN: 20001-31377 |
|||
| ? | 205-70-74261 | • ADAPTER (WELDED) | 5 | SN: 20001-33130 |
|||
| ? | 205-70-74272 | TOOTH | 5 | SN: 25327-@ |
|||
| ? | □205-70-74271 | TOOTH | 5 | SN: 20001-25326 |
|||
| ? | 205-70-74281 | PIN | 5 | SN: 24676-@ |
|||
| ? | □205-70-74280 | PIN | 5 | SN: 20001-24675 |
|||
| ? | 205-70-74291 | LOCK | 5 | SN: 27913-@ |
|||
| ? | □205-70-74290 | LOCK | 5 | SN: 20001-27912 |
|||
| ? | 205-70-74180 | CUTTER,L.H. | 1 | SN: 20001-@ |
|||
| ? | 205-70-74190 | CUTTER,R.H. | 1 | SN: 20001-@ |
|||
| ? | 176-32-11210 | BOLT ? SHOE | 8 | SN: 20001-@ |
|||
| ? | 01803-02430 | NUT | 8 | SN: 20001-@ |
|||
| ? | 205-70-00101 | SHIM ASS'Y | 1 | SN: 22427-33130 |
|||
| ? | 205-70-00100 | SHIM ASS'Y | 1 | SN: 20001-22426 |
|||
| ? | ☆ | • SHIM ? 0.5MM | 4 | SN: 20001-33130 |
|||
| ? | ☆ | • SHIM ? 1.0MM | 12 | SN: 22427-33130 |
|||
| ? | ☆ | • SHIM ? 1.0MM | 8 | SN: 20001-22426 |
|||
| ? | 205-70-74381 | SPACER | 1 | SN: 22112-@ |
|||
| ? | 205-70-74391 | PLATE | 1 | SN: 22112-@ |
|||
| ? | 01010-52055 | BOLT | 4 | SN: 20001-@ |
|||
| ? | 01643-32060 | WASHER | 4 | SN: 20001-@ |
