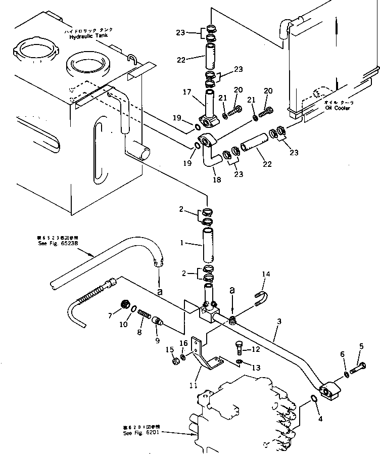
k-part
Номер на схеме Каталожный номер Название Количество Детали
? 205-62-68330 HOSE 1
SN: 20001-@
? 208-09-11110 CLAMP 4
SN: 20001-@
? 205-62-71275 TUBE 1
SN: 24676-26573
? 07000-03035 O-RING 1
SN: 20001-@
? 01010-51085 BOLT 2
SN: 20001-@
? 01643-31032 WASHER 2
SN: 20001-@
? 205-62-71971 PLUG 1
SN: 20001-@
? 135-60-17110 SPRING 1
SN: 20001-@
? 205-60-71230 POPPET 1
SN: 20001-@
? 07002-05234 O-RING 1
SN: 20001-@
? 205-62-71951 BRACKET 1
SN: 20001-26573
? 01010-51230 BOLT 2
SN: 20001-@
? 01643-31232 WASHER 2
SN: 20001-@
? 07283-24346 CLIP 1
SN: 20001-@
? 01599-01011 NUT 2
SN: 20001-@
? 01643-31032 WASHER 2
SN: 20001-@
? 205-62-71911 TUBE 1
SN: 20001-26573
? 205-62-71921 TUBE 1
SN: 20001-26573
? 07000-03045 O-RING 2
SN: 20001-26573
? 01010-51070 BOLT 4
SN: 20001-26573
? 01643-31032 WASHER 4
SN: 20001-@
? 205-62-68330 HOSE 2
SN: 20001-@
? 208-09-11110 CLAMP 8
SN: 20001-@

Excavators Komatsu / PC200LC-3 S/N 20001-UP(pc200l7r) / HYDRAULIC PIPING (RETURN AND OIL COOLER) (WITH AUTO DECELERATION) (WITH SWING MECHANICAL BRAKE)(#24676-26573)(180720 : 6521B)