| Номер на схеме | Каталожный номер | Название | Количество | Детали | |||
|---|---|---|---|---|---|---|---|
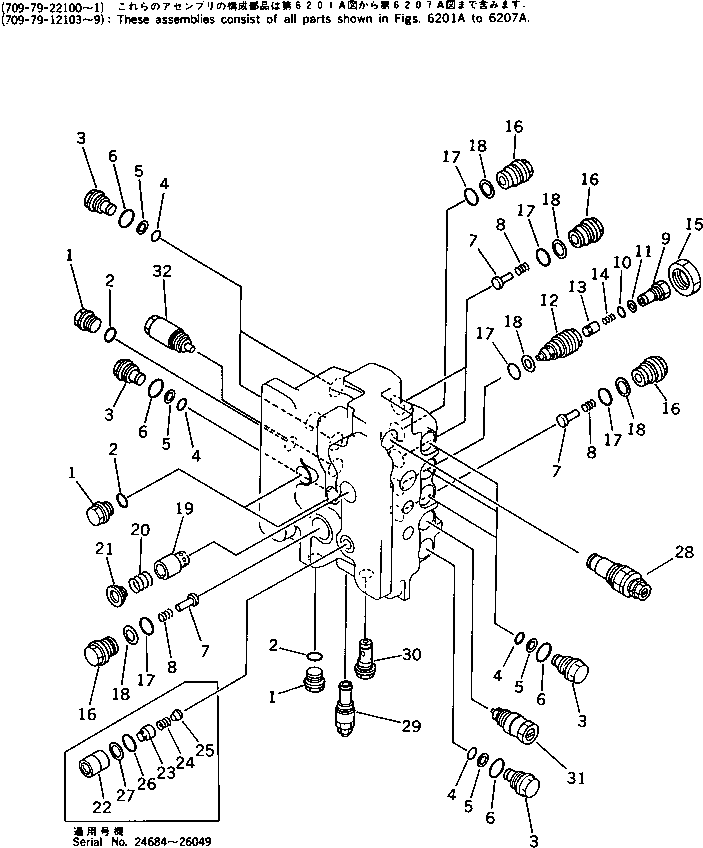
| ? | (709-79-22101) | CONTROL VALVE ASS'Y | 1 | SN: 25161- |
|||
| ? | (☒709-79-22100) | CONTROL VALVE ASS'Y | 1 | SN: (....-.....) |
|||
| ? | (☒709-79-12109) | CONTROL VALVE ASS'Y | 1 | SN: (30911-....) |
|||
| ? | (☒709-79-12108) | CONTROL VALVE ASS'Y | 1 | SN: (...-30910) |
|||
| ? | (☒709-79-12107) | CONTROL VALVE ASS'Y | 1 | SN: (28385-...) |
|||
| ? | (☒709-79-12106) | CONTROL VALVE ASS'Y | 1 | SN: (28217-28384) |
|||
| ? | (☒709-79-12105) | CONTROL VALVE ASS'Y | 1 | SN: (..-28216) |
|||
| ? | (☒709-79-12104) | CONTROL VALVE ASS'Y | 1 | SN: (.-..) |
|||
| ? | (☒709-79-12103) | CONTROL VALVE ASS'Y | 1 | SN: (25161-.) |
|||
| ? | 709-75-92105 | • VALVE ASS'Y | 1 | SN: 20001- |
|||
| ? | (☒709-75-92104) | • VALVE ASS'Y | 1 | SN: (..-...) |
|||
| ? | (☒709-75-00020) | • VALVE ASS'Y | 1 | SN: (.-..) |
|||
| ? | (☒709-75-92103) | • VALVE ASS'Y | 1 | SN: (20001-.) |
|||
| ? | 700-22-11370 | • • PLUG | 4 | SN: 20001- |
|||
| ? | 07002-12434 | • • O-RING | 4 | SN: 20001- |
|||
| ? | 700-84-13960 | • • PLUG | 7 | SN: 24684- |
|||
| ? | 700-22-11410 | • • O-RING | 7 | SN: 24684- |
|||
| ? | 700-80-64220 | • • RING,BACK-UP | 7 | SN: 24684- |
|||
| ? | 07002-03034 | • • O-RING | 7 | SN: 24684- |
|||
| ? | 709-74-92810 | • • VALVE,CHECK | 4 | SN: .- |
|||
| ? | 709-75-92210 | • • VALVE,CHECK | 4 | SN: 20001-. |
|||
| ? | 709-75-92220 | • • SPRING | 4 | SN: 20001- |
|||
| ? | 709-74-92450 | • • PLUG | 1 | SN: 20001- |
|||
| ? | 07000-12010 | • • O-RING | 1 | SN: 20001- |
|||
| ? | 07001-02010 | • • RING,BACK-UP | 1 | SN: 20001- |
|||
| ? | 709-74-92440 | • • PLUG | 1 | SN: 20001- |
|||
| ? | 706-73-70140 | • • VALVE,CHECK | 1 | SN: 20001- |
|||
| ? | 706-73-70150 | • • SPRING | 1 | SN: 20001- |
|||
| ? | 709-74-92460 | • • NUT | 1 | SN: 20001- |
|||
| ? | 709-74-92820 | • • PLUG | 5 | SN: .- |
|||
| ? | 709-75-92230 | • • PLUG | 5 | SN: 20001-. |
|||
| ? | 700-93-11320 | • • O-RING | 6 | SN: 20001- |
|||
| ? | 700-93-11330 | • • RING,BACK-UP | 6 | SN: 20001- |
|||
| ? | 709-74-92281 | • • VALVE | 1 | SN: .- |
|||
| ? | 709-74-92280 | • • VALVE | 1 | SN: 20001-. |
|||
| ? | 709-74-92290 | • • SPRING | 1 | SN: 20001- |
|||
| ? | 709-74-92310 | • • SEAT | 1 | SN: 20001- |
|||
| ? | 709-70-91400 | • • VALVE ASS'Y | 1 | SN: 25161-. |
|||
| ? | 709-74-92320 | • • • SLEEVE | 1 | SN: 25161-. |
|||
| ? | 709-70-91410 | • • • VALVE | 1 | SN: 25161-. |
|||
| ? | 709-70-91420 | • • • SPRING | 1 | SN: 25161-. |
|||
| ? | 709-70-91430 | • • • SEAT | 1 | SN: 25161-. |
|||
| ? | 07000-12021 | • • • O-RING | 1 | SN: 25161-. |
|||
| ? | 07001-02021 | • • • RING | 1 | SN: 25161-. |
|||
| ? | (709-70-51200) | • RELIEF VALVE ASS'Y | 1 | SN: 20001- |
|||
| ? | (709-70-55103) | • RELIEF VALVE ASS'Y | 1 | SN: 24684- |
|||
| ? | (☒709-70-55102) | • RELIEF VALVE ASS'Y | 1 | SN: (..-...) |
|||
| ? | (☒709-70-55101) | • RELIEF VALVE ASS'Y | 1 | SN: (.-..) |
|||
| ? | (☒709-70-55100) | • RELIEF VALVE ASS'Y | 1 | SN: (24684-.) |
|||
| ? | (709-70-91300) | • ORIFICE ASS'Y | 1 | SN: 20001- |
|||
| ? | (709-70-62200) | • VALVE ASS'Y | 1 | SN: 20001- |
|||
| ? | (709-70-61601) | • VALVE ASS'Y,SUCTION AND SAFETY | 1 | SN: 20001- |
|||
| ? | (☒709-70-61600) | • VALVE ASS'Y,SUCTION AND SAFETY | 1 | SN: (28217-30910) |
|||
| ? | (☒709-70-61200) | • VALVE ASS'Y,SUCTION AND SAFETY | 1 | SN: (20001-28216) |
