k-part
Номер на схеме Каталожный номер Название Количество Детали
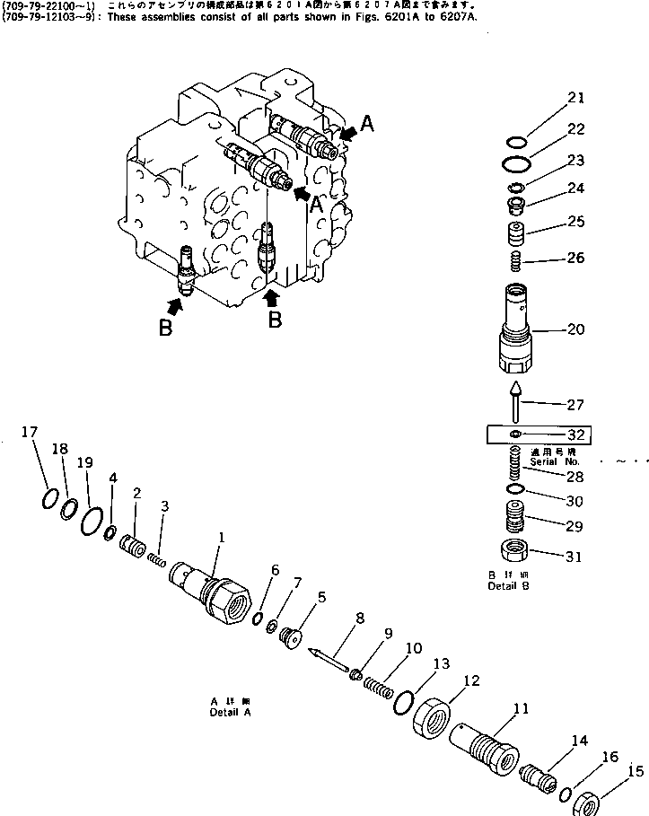
? (709-79-22101) CONTROL VALVE ASS'Y 1
SN: 25161-
? (☒709-79-22100) CONTROL VALVE ASS'Y 1
SN: (32598-34842)
? (☒709-79-12109) CONTROL VALVE ASS'Y 1
SN: (30911-32597)
? (☒709-79-12108) CONTROL VALVE ASS'Y 1
SN: (30083-30910)
? (☒709-79-12107) CONTROL VALVE ASS'Y 1
SN: (28385-30082)
? (☒709-79-12106) CONTROL VALVE ASS'Y 1
SN: (28217-28384)
? (☒709-79-12105) CONTROL VALVE ASS'Y 1
SN: (26050-28216)
? (☒709-79-12104) CONTROL VALVE ASS'Y 1
SN: (25534-26049)
? (☒709-79-12103) CONTROL VALVE ASS'Y 1
SN: (25161-25533)
? 709-70-51200 • RELIEF VALVE ASS'Y 2
SN: 20001-
? • • SLEEVE 1
SN: 20001-
? • • VALVE 1
SN: 20001-
? 700-80-51390 • • SPRING 1
SN: 20001-
? 700-80-51350 • • RING,SNAP 1
SN: 20001-
? 700-80-51340 • • SEAT 1
SN: 20001-
? 07000-22012 • • O-RING 1
SN: 20001-
? 07001-02012 • • RING,BACK-UP 1
SN: 20001-
? 700-80-61190 • • POPPET 1
SN: 20001-
? 709-20-51260 • • VALVE 1
SN: 20001-
? 709-20-51231 • • SPRING 1
SN: 20001-
? 700-80-51360 • • HOLDER 1
SN: 20001-
? 07239-12410 • • NUT 1
SN: 20001-
? 07002-02434 • • O-RING 1
SN: 20001-
? 700-80-51630 • • SCREW 1
SN: 20001-
? 01582-11411 • • NUT 1
SN: 20001-
? 07000-02011 • • O-RING 1
SN: 20001-
? 700-13-31161 • • O-RING 1
SN: 20001-
? 700-80-51190 • • RING,BACK-UP 1
SN: 20001-
? 07002-03334 • • O-RING 1
SN: 20001-
? 709-70-55103 • RELIEF VALVE ASS'Y 1
SN: 20001-
? (☒709-70-55102) • RELIEF VALVE ASS'Y 1
SN: (.-..)
? (☒709-70-55101) • RELIEF VALVE ASS'Y 2
SN: (28385-.)
? (☒709-70-55100) • RELIEF VALVE ASS'Y 2
SN: (20001-28384)
? • • SLEEVE 1
SN: ..-
? • • SLEEVE 1
SN: .-..
? • • SLEEVE 1
SN: 28385-.
? • • SLEEVE 1
SN: 20001-28384
? 700-22-11410 • • O-RING 1
SN: 20001-
? 07002-02434 • • O-RING 1
SN: 20001-
? 700-20-51550 • • RING,SNAP 1
SN: 20001-
? 700-20-51540 • • RETAINER 1
SN: 20001-
? • • VALVE 1
SN: 28385-
? • • VALVE 1
SN: 20001-28384
? 709-70-51210 • • SPRING 1
SN: 28385-
? 700-20-51610 • • SPRING 1
SN: 20001-28384
? 709-70-51420 • • POPPET 1
SN: .-
? 709-70-51220 • • POPPET 1
SN: 28385-.
? 700-80-61190 • • POPPET 1
SN: 20001-28384
? 709-20-51580 • • SPRING 1
SN: ..-
? 709-70-51310 • • SPRING 1
SN: .-..
? 700-20-51580 • • SPRING 1
SN: 20001-.
? 700-20-51340 • • SCREW 1
SN: ..-
? 709-70-51320 • • SCREW 1
SN: .-..
? 700-20-51340 • • SCREW 1
SN: 20001-.
? 07000-02011 • • O-RING 1
SN: 20001-
? 01582-11411 • • NUT 1
SN: 20001-
? 700-80-51240 • • SPACER 1
SN: .-..

Excavators Komatsu / PC200LC-3 S/N 20001-UP(pc200l7r) / CONTROL VALVE (6/7) (FOR LONG LEVER CONTROL)(#25161-)(180350 : 6206A)