| Номер на схеме | Каталожный номер | Название | Количество | Детали | |||
|---|---|---|---|---|---|---|---|
| ? | (709-79-11102) | CONTROL VALVE ASS'Y | 1 | SN: 23288-25160 |
|||
| ? | □709-79-11100 | CONTROL VALVE ASS'Y | 1 | SN: 20001-23287 |
|||
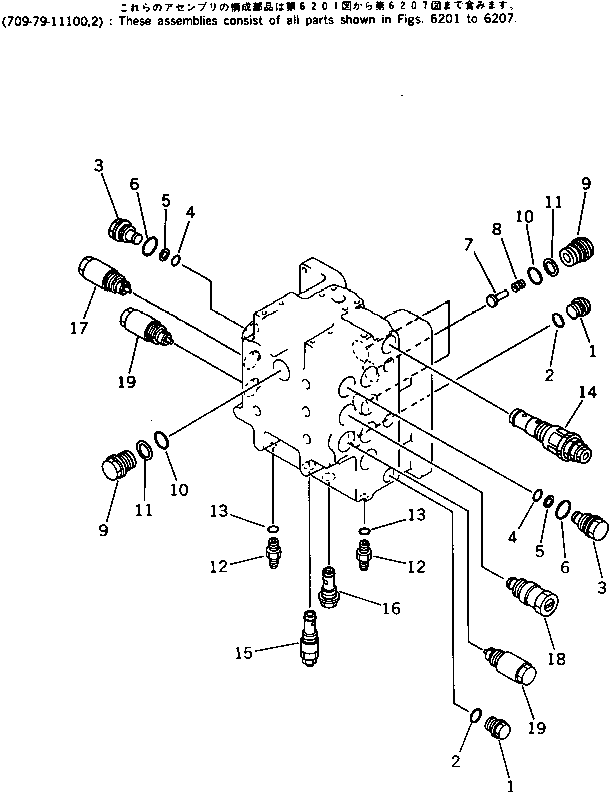
| ? | (709-74-91100) | • VALVE ASS'Y | 1 | SN: 20001-. |
|||
| ? | 700-22-11370 | • • PLUG | 2 | SN: 20001-@ |
|||
| ? | 07002-12434 | • • O-RING | 2 | SN: 20001-@ |
|||
| ? | 700-84-13960 | • • PLUG | 2 | SN: 20001-@ |
|||
| ? | 700-22-11410 | • • O-RING | 2 | SN: 20001-@ |
|||
| ? | 700-80-64220 | • • RING,BACK-UP | 2 | SN: 20001-@ |
|||
| ? | 07002-03034 | • • O-RING | 2 | SN: 20001-@ |
|||
| ? | 709-75-92210 | • • VALVE,CHECK | 3 | SN: 20001-@ |
|||
| ? | 709-75-92220 | • • SPRING | 3 | SN: 20001-@ |
|||
| ? | 709-75-92230 | • • PLUG | 4 | SN: 20001-@ |
|||
| ? | 700-93-11320 | • • O-RING | 4 | SN: 20001-@ |
|||
| ? | 700-93-11330 | • • RING,BACK-UP | 4 | SN: 20001-@ |
|||
| ? | 709-75-92240 | • • UNION | 2 | SN: 20001-@ |
|||
| ? | 07002-01623 | • • O-RING | 2 | SN: 20001-@ |
|||
| ? | (709-70-51200) | • RELIEF VALVE ASS'Y | 1 | SN: 20001-@ |
|||
| ? | (709-70-55100) | • RELIEF VALVE ASS'Y | 1 | SN: 20001-@ |
|||
| ? | (709-70-91300) | • ORIFICE ASS'Y | 1 | SN: 20001-@ |
|||
| ? | (709-70-61100) | • VALVE ASS'Y | 1 | SN: 20001-@ |
|||
| ? | (709-70-62100) | • VALVE ASS'Y | 1 | SN: 20001-25160 |
|||
| ? | (709-70-61200) | • VALVE ASS'Y | 2 | SN: 20001-25160 |
