k-part
Номер на схеме Каталожный номер Название Количество Детали
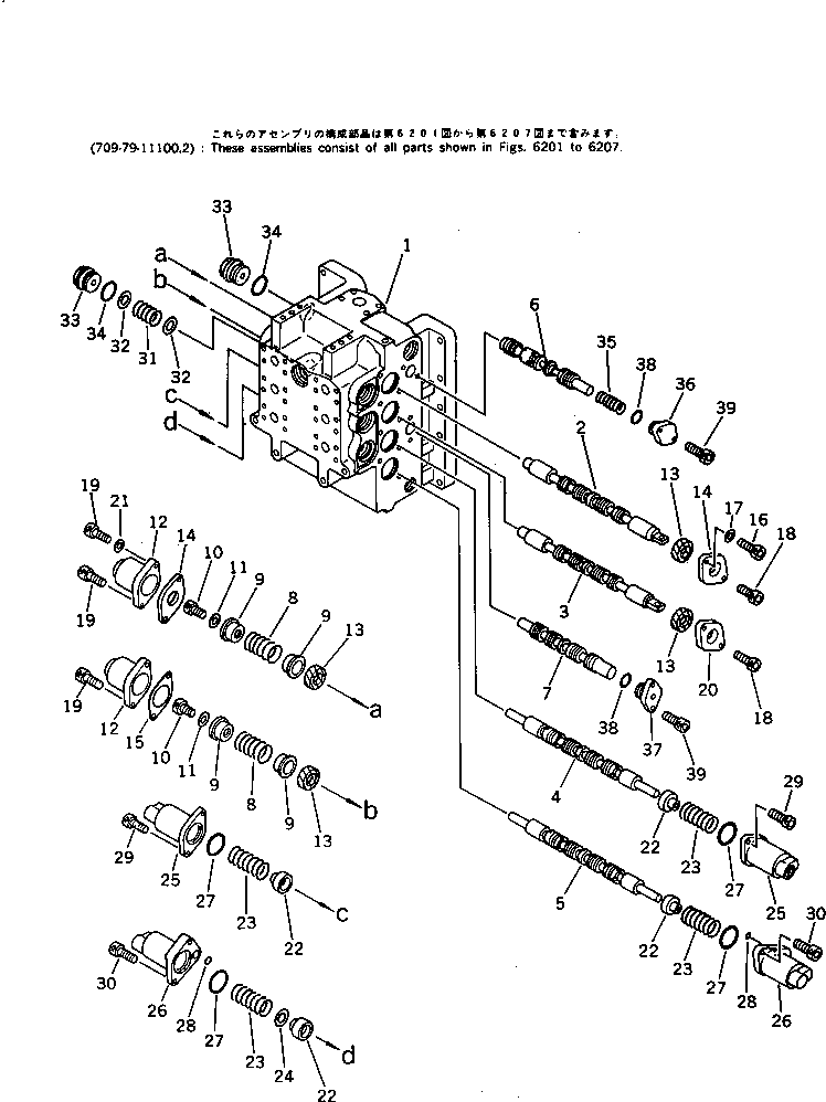
? (709-79-11102) CONTROL VALVE ASS'Y 1
SN: 23288-25160
? □709-79-11100 CONTROL VALVE ASS'Y 1
SN: 20001-23287
? 709-74-91100 • VALVE ASS'Y 1
SN: 20001-@
? • • BODY,VALVE 1
SN: 20001-25160
? • • SPOOL,R.H. TRAVEL 1
SN: 20001-@
? • • SPOOL,BOOM 1
SN: 20001-25160
? • • SPOOL,BUCKET 1
SN: 20001-@
? • • SPOOL,ARM HIGH 1
SN: 20001-@
? • • SPOOL 1
SN: 20001-@
? • • SPOOL 1
SN: 20001-@
? 709-75-92150 • • SPRING 2
SN: 20001-25160
? 709-75-92130 • • RETAINER 4
SN: 20001-25160
? 01252-30812 • • BOLT 2
SN: 20001-25160
? 01643-30823 • • WASHER 2
SN: 20001-25160
? 709-75-92140 • • CASE 2
SN: 20001-25160
? 709-75-92120 • • SEAL 4
SN: 20001-25160
? 709-75-92110 • • PLATE 3
SN: 20001-25160
? 709-75-92170 • • PLATE 1
SN: 20001-25160
? 01252-30816 • • BOLT 1
SN: 20001-@
? 01643-30823 • • WASHER 1
SN: 20001-@
? 01252-30820 • • BOLT 3
SN: 20001-25160
? 01252-30825 • • BOLT 4
SN: 20001-25160
? 709-75-92160 • • PLATE 1
SN: 20001-25160
? 01643-50823 • • WASHER 1
SN: 20001-@
? 709-74-92110 • • RETAINER 4
SN: 20001-25160
? 709-74-92180 • • SPRING 4
SN: 20001-25160
? 709-74-92360 • • SHIM ? 0.5MM 1
SN: 20001-25160
? 709-74-92120 • • CASE 2
SN: 20001-25160
? 709-74-92150 • • CASE 2
SN: 20001-25160
? 709-74-92170 • • O-RING 4
SN: 20001-25160
? 07000-02010 • • O-RING 2
SN: 20001-25160
? 01252-30820 • • BOLT 4
SN: 20001-25160
? 01252-30830 • • BOLT 4
SN: 20001-@
? 700-23-13130 • • SPRING 1
SN: 20001-@
? 709-74-92270 • • WASHER 2
SN: 20001-@
? 709-74-92220 • • PLUG 2
SN: 20001-@
? 07002-03034 • • O-RING 2
SN: 20001-@
? 709-74-92190 • • SPRING 1
SN: 20001-@
? 709-74-92250 • • PLATE 1
SN: 20001-@
? 709-74-92240 • • PLATE 1
SN: 20001-@
? 07000-02018 • • O-RING 2
SN: 20001-@
? 01252-30820 • • BOLT 4
SN: 20001-@

Excavators Komatsu / PC200LC-3 S/N 20001-UP(pc200l7r) / CONTROL VALVE (4/7) (FOR LONG LEVER CONTROL)(#20001-25160)(180300 : 6204)