| Номер на схеме | Каталожный номер | Название | Количество | Детали | |||
|---|---|---|---|---|---|---|---|
| ? | (708-25-01064) | PUMP ASS'Y | 1 | SN: 20001- |
|||
| ? | (☒708-25-01063) | PUMP ASS'Y | 1 | SN: (..-31559) |
|||
| ? | (☒708-25-01062) | PUMP ASS'Y | 1 | SN: (27791-..) |
|||
| ? | (☒708-25-01061) | PUMP ASS'Y | 1 | SN: (.-27790) |
|||
| ? | (☒708-25-01060) | PUMP ASS'Y | 1 | SN: (26988-.) |
|||
| ? | (☒708-25-10200) | PUMP ASS'Y | 1 | SN: (20001-26987) |
|||
| ? | 708-25-07212 | • SERVO VALVE ASS'Y,REAR | 1 | SN: 20001- |
|||
| ? | (☒708-25-07211) | • SERVO VALVE ASS'Y,REAR | 1 | SN: (..-31559) |
|||
| ? | (☒708-25-07210) | • SERVO VALVE ASS'Y,REAR | 1 | SN: (27791-..) |
|||
| ? | (☒708-25-16600) | • SERVO VALVE ASS'Y,REAR | 1 | SN: (20001-27790) |
|||
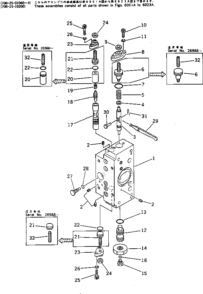
| ? | 708-25-16200 | • • VALVE ASS'Y | 1 | SN: 20001-26987 |
|||
| ? | (★708-23-07011) | • • • BODY ASS'Y | 1 | SN: .- |
|||
| ? | (★708-23-07010) | • • • BODY ASS'Y | 1 | SN: 20001-. |
|||
| ? | ☆ | • • • • BODY | 1 | SN: 20001- |
|||
| ? | ☆ | • • • • EXPANDER | 7 | SN: .- |
|||
| ? | ☆ | • • • • PLUG | 7 | SN: 20001-. |
|||
| ? | (★708-25-15120) | • • • PISTON | 1 | SN: 20001- |
|||
| ? | (★708-25-15130) | • • • SEAT | 1 | SN: 20001- |
|||
| ? | (★708-25-15140) | • • • SPRING | 1 | SN: 20001- |
|||
| ? | (★708-25-15420) | • • • PLUG | 1 | SN: .- |
|||
| ? | (★708-25-15160) | • • • PLUG | 1 | SN: 20001-. |
|||
| ? | (★07000-02018) | • • • O-RING | 1 | SN: 20001- |
|||
| ? | (★708-25-15150) | • • • COVER | 1 | SN: 20001- |
|||
| ? | (★01580-10806) | • • • NUT | 1 | SN: 20001- |
|||
| ? | (★708-25-15320) | • • • BOLT | 2 | SN: .- |
|||
| ? | (★01252-30616) | • • • BOLT | 2 | SN: 20001-. |
|||
| ? | (★01602-20619) | • • • WASHER,SPRING | 2 | SN: 20001- |
|||
| ? | (★708-25-15171) | • • • PLUG | 1 | SN: 20001- |
|||
| ? | (★07002-02034) | • • • O-RING | 1 | SN: 20001- |
|||
| ? | (★07239-12009) | • • • NUT | 1 | SN: 20001- |
|||
| ? | (★07040-11007) | • • • PLUG | 1 | SN: 20001- |
|||
| ? | (★07002-01023) | • • • O-RING | 1 | SN: 20001- |
|||
| ? | (★708-25-15180) | • • • SLEEVE | 1 | SN: 20001- |
|||
| ? | (★708-25-15280) | • • • SPOOL | 1 | SN: 20001- |
|||
| ? | (★708-25-15310) | • • • SPRING | 1 | SN: 20001- |
|||
| ? | (★708-25-15330) | • • • SPACER | 1 | SN: .- |
|||
| ? | (★708-25-15290) | • • • SPACER | 1 | SN: 20001-. |
|||
| ? | (★708-25-15430) | • • • PLUG | 1 | SN: ..- |
|||
| ? | (★708-25-15240) | • • • PLUG | 1 | SN: .-.. |
|||
| ? | (★708-25-15240) | • • • PLUG | 2 | SN: 20001-. |
|||
| ? | (★07000-02012) | • • • O-RING | 2 | SN: 20001- |
|||
| ? | (★708-25-15250) | • • • COVER | 2 | SN: 20001- |
|||
| ? | (★01580-10806) | • • • NUT | 2 | SN: 20001- |
|||
| ? | (★708-25-15320) | • • • BOLT | 4 | SN: .- |
|||
| ? | (★01252-30616) | • • • BOLT | 4 | SN: 20001-. |
|||
| ? | (★01602-20619) | • • • WASHER,SPRING | 4 | SN: 20001- |
|||
| ? | (★708-25-15260) | • • • PLUG | 1 | SN: 20001- |
|||
| ? | (★07002-00823) | • • • O-RING | 1 | SN: 20001- |
|||
| ? | (★708-25-15270) | • • • ARM | 1 | SN: 20001- |
|||
| ? | (★04205-00514) | • • • PIN | 1 | SN: 20001- |
|||
| ? | (★04050-01210) | • • • PIN,COTTER | 1 | SN: 20001- |
|||
| ? | (★708-25-15340) | • • • SCREW | 3 | SN: 26988- |
