k-part
Номер на схеме Каталожный номер Название Количество Детали
? (708-25-01064) PUMP ASS'Y 1
SN: 20001-@
? (☒708-25-10200) PUMP ASS'Y 1
SN: (20001-26987)
? 708-25-01250 • PUMP SUB ASS'Y 1
SN: 20001-@
? (☒708-25-11100) • PUMP SUB ASS'Y 1
SN: (20001-26987)
? (★708-25-00090) • • CASE ASS'Y,FRONT 1
SN: ..-@
? ▩708-25-00030 • • CRADLE ASS'Y,FRONT 1
SN: .-..
? (708-25-00031{708-25-14121)}
? ▩708-25-00540 • • CRADLE ASS'Y,FRONT 1
SN: 20001-.
? (708-25-00450{708-25-14121)}
? • • • CASE,FRONT 1
SN: 20001-@
? • • • PLUG 11
SN: 20001-@
? (★708-25-12310) • • • CRADLE,FRONT 1
SN: .-@
? (★708-25-12420) • • • CRADLE,FRONT 1
SN: 20001-.
? • • • CAM,ROCKER 1
SN: 20001-@
? (★706-86-51180) • • • PLUG 1
SN: 20001-26987
? • • CAP,FRONT 1
SN: 20001-26987
? (★708-25-12340) • • O-RING 1
SN: 20001-@
? (★6130-21-1910) • • PIN 1
SN: .-@
? (★708-25-12390) • • BOLT 12
SN: 20001-@
? (★708-25-12530) • • BOLT 2
SN: 20001-26987
? • • PLUG 1
SN: 20001-26987
? 720-68-19870 • • PLUG 1
SN: 20001-@
? 07002-01223 • • O-RING 1
SN: 20001-@
? (★708-25-12330) • • JOINT 1
SN: .-@
? (★708-25-12330) • • JOINT 4
SN: 20001-.
? (★07000-12015) • • O-RING 1
SN: .-@
? (★07000-12015) • • O-RING 4
SN: 20001-.
? (★708-25-12360) • • PLATE 2
SN: 20001-@
? (★04020-00820) • • PIN,DOWEL 4
SN: 20001-@
? (★01010-50816) • • BOLT 4
SN: 20001-@
? (★708-25-12710) • • SHAFT,FRONT 1
SN: 20001-26987
? (★708-25-12731) • • BEARING 1
SN: 20001-@
? (☒708-25-12730) • • BEARING 1
SN: (20001-.)
? (★708-25-05010) • • WASHER KIT 1
SN: 20001-@
? • • • WASHER ? 2.0MM 1
SN: 20001-@
? • • • WASHER ? 2.1MM 1
SN: 20001-@
? • • • WASHER ? 2.2MM 1
SN: 20001-@
? (★708-25-12790) • • RING,SNAP 1
SN: 20001-@
? 708-25-12810 • • HOUSING 1
SN: 20001-26987
? 708-25-52860 • • SEAL,OIL 1
SN: 20001-@
? (☒706-73-40920) • • SEAL,OIL 1
SN: (20001-.)
? (★708-25-05030) • • SHIM KIT 1
SN: 20001-26987
? • • • SHIM 1
SN: 20001-26987
? • • • SHIM 2
SN: 20001-26987
? • • • SHIM 2
SN: 20001-26987
? 01010-50820 • • BOLT 4
SN: 20001-@
? 01643-30823 • • WASHER 4
SN: 20001-@
? 07000-02080 • • O-RING 1
SN: 20001-@
? (\4\708-25-13150) • • BLOCK,CYLINDER 1
SN: 20001-26987
? (708-25-13422{708-25-00010)}
? • • PLATE,VALVE 1
SN: 20001-@
? (\4\708-25-13421) • • RETAINER,SHOE 1
SN: 20001-26987
? (708-25-13422{708-25-00010)}
? (★708-25-13120) • • WASHER 1
SN: 20001-@
? (★708-25-13130) • • SPRING 1
SN: 20001-@
? (★708-25-13140) • • RING,SNAP 1
SN: 20001-@
? (\4\708-25-13310) • • PISTON SUB ASS'Y 9
SN: 20001-26987
? (708-25-13311(9){708-25-05060(2))}
? • • SPACER ? 12.015MM 2
SN: 20001-26987
? • • SPACER ? 12.040MM 2
SN: 20001-26987
? • • SPACER ? 12.060MM 2
SN: 20001-26987
? (★708-25-13441) • • RETAINER,BEARING 2
SN: 20001-@
? (★708-25-13470) • • SCREW 4
SN: 20001-@
? (★01643-30623) • • WASHER 4
SN: 20001-@
? (★708-25-00210) • • PISTON GROUP 1
SN: 20001-26987
? • • • PISTON 1
SN: 20001-26987
? • • • CAP 1
SN: 20001-26987
? • • • CAP 1
SN: 20001-26987
? (★708-25-14120) • • SLIDER 1
SN: 20001-@
? 708-25-14130 • • SPRING 1
SN: 20001-@
? (★708-25-05050) • • SHIM KIT 2
SN: 20001-@
? • • • SHIM ? 0.1MM 2
SN: 20001-@
? • • • SHIM ? 0.1MM 4
SN: 20001-@
? • • • SHIM ? 0.2MM 2
SN: 20001-@
? • • • SHIM ? 0.5MM 3
SN: 20001-@
? (★07000-02065) • • O-RING 2
SN: 20001-@
? (★01010-51035) • • BOLT 8
SN: 20001-@
? (★01643-31032) • • WASHER 8
SN: 20001-@
? (★07000-05165) • • O-RING 1
SN: 20001-@
? (★07000-02135) • • O-RING 1
SN: 20001-@
? (★07000-03032) • • O-RING 1
SN: 20001-@
? (★07000-11009) • • O-RING 1
SN: 20001-@
? (★07000-12015) • • O-RING 1
SN: 20001-@
? (★720-68-19610) • • PIN 2
SN: 20001-@
? (★708-25-12530) • • BOLT 2
SN: 20001-@
? (★708-25-12740) • • BEARING 1
SN: 20001-@

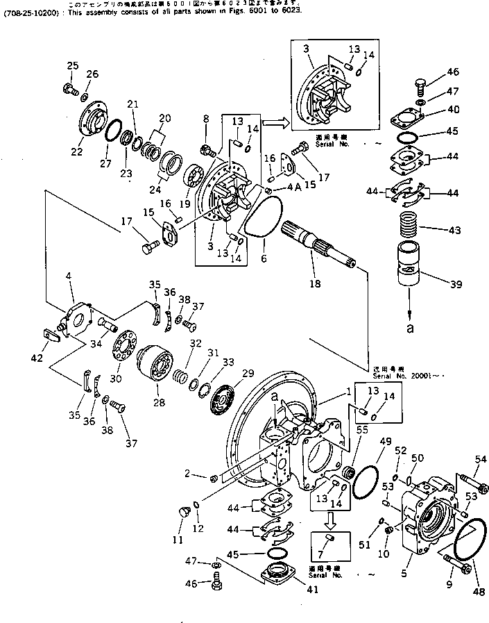
Excavators Komatsu / PC200LC-3 S/N 20001-UP(pc200l7r) / HYDRAULIC PISTON PUMP (2/4) (WITH 3-STAGE SELECTOR MODE OLSS)(#20001-26987)(180030 : 6002)