| Номер на схеме | Каталожный номер | Название | Количество | Детали | |||
|---|---|---|---|---|---|---|---|
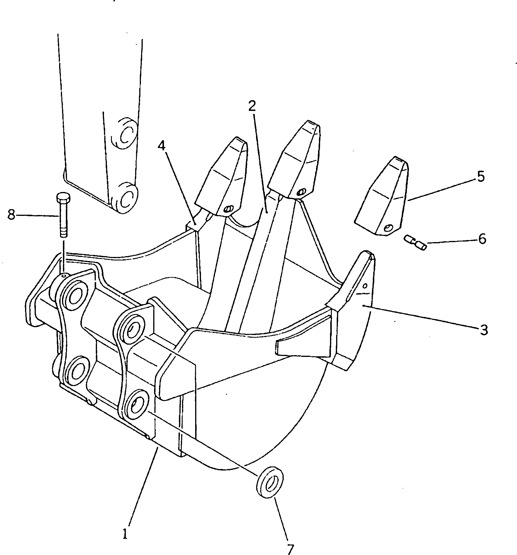
| ? | 205-922-6210 | BUCKET | 1 | SN: C10001- KIT-FLAG: _- SERIALNO: C10001- |
|||
| ? | 205-922-1120 | • SHANK (WELDED) | 1 | SN: C10001- KIT-FLAG: _- SERIALNO: C10001- |
|||
| ? | 205-922-1130 | • ADAPTER,L.H. (WELDED) | 1 | SN: C10001- KIT-FLAG: _- SERIALNO: C10001- |
|||
| ? | 205-922-1140 | • ADAPTER,R.H. (WELDED) | 1 | SN: C10001- KIT-FLAG: _- SERIALNO: C10001- |
|||
| ? | 175-78-31230 | POINT | 3 | SN: C10001- KIT-FLAG: _- SERIALNO: C10001- |
|||
| ? | 09244-02508 | PIN | 3 | SN: C10001- KIT-FLAG: _- SERIALNO: C10001- |
|||
| ? | 205-70-74410 | COLLAR | 1 | SN: C10001- KIT-FLAG: _- SERIALNO: C10001- |
|||
| ? | 205-70-73190 | BOLT | 1 | SN: C10001- KIT-FLAG: _- SERIALNO: C10001- |
