| Номер на схеме | Каталожный номер | Название | Количество | Детали | |||
|---|---|---|---|---|---|---|---|
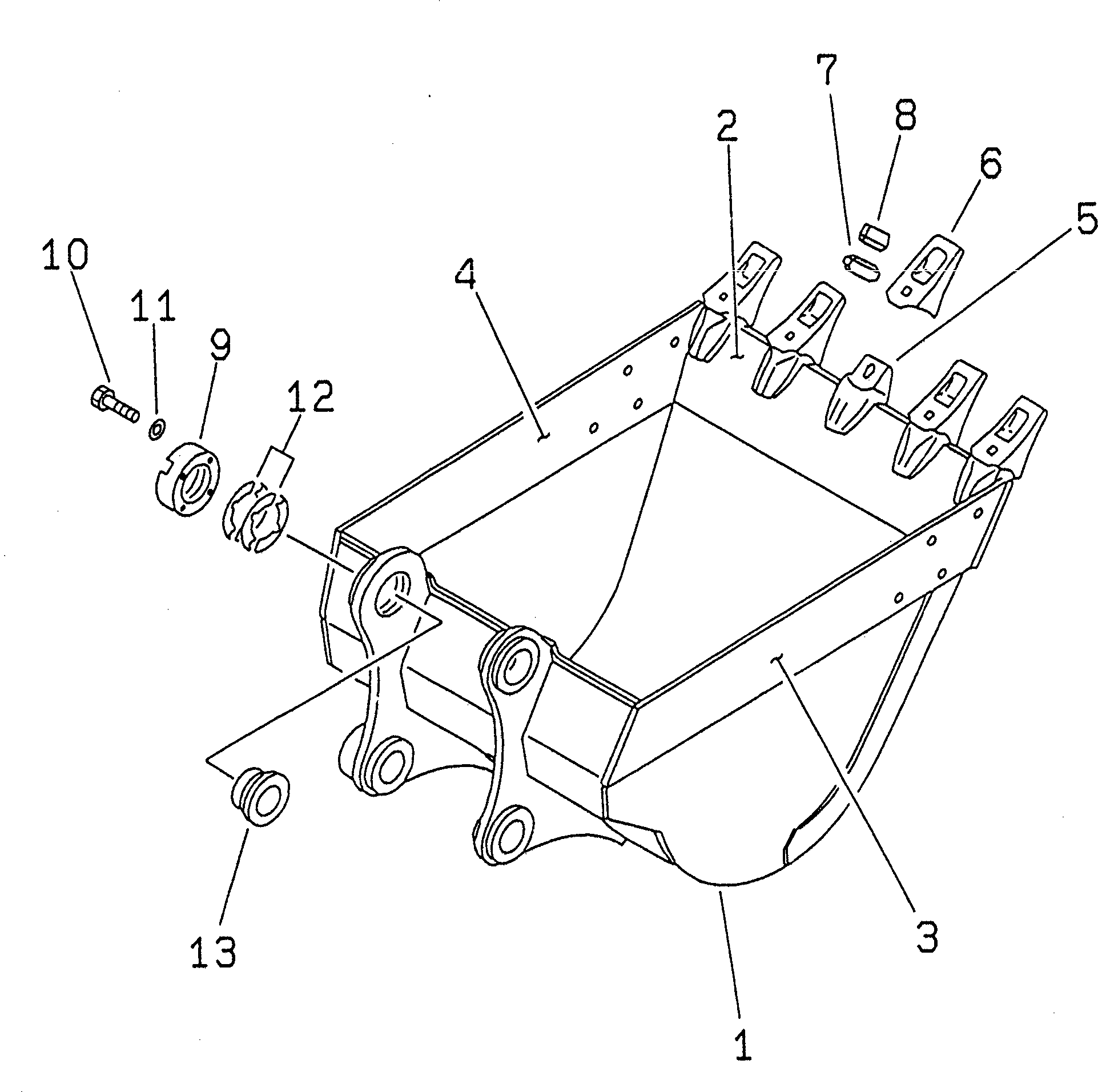
| ? | 20Y-920-2110 | BUCKET | 1 | SN: 80001-94998 KIT-FLAG: _- SERIALNO: 80001-94998 |
|||
| ? | 20Y-920-1120 | • PLATE (WELDED) | 1 | SN: 80001-94998 KIT-FLAG: _- SERIALNO: 80001-94998 |
|||
| ? | 20Y-70-24130 | • PLATE (WELDED) | 1 | SN: 80001-94998 KIT-FLAG: _- SERIALNO: 80001-94998 |
|||
| ? | 20Y-70-24140 | • PLATE (WELDED) | 1 | SN: 80001-94998 KIT-FLAG: _- SERIALNO: 80001-94998 |
|||
| ? | 20Y-70-24210 | • ADAPTER (WELDED) | 5 | SN: 80001-@ KIT-FLAG: _- SERIALNO: 80001-@ |
|||
| ? | 205-70-74272 | TOOTH | 5 | SN: 80001-@ KIT-FLAG: _- SERIALNO: 80001-@ |
|||
| ? | 205-70-74281 | PIN | 5 | SN: 80001-@ KIT-FLAG: _- SERIALNO: 80001-@ |
|||
| ? | 205-70-74291 | LOCK | 5 | SN: 80001-@ KIT-FLAG: _- SERIALNO: 80001-@ |
|||
| ? | 205-70-74391 | PLATE | 1 | SN: 80001-@ KIT-FLAG: _- SERIALNO: 80001-@ |
|||
| ? | 01010-32055 | BOLT | 4 | SN: 80001-94998 KIT-FLAG: _- SERIALNO: 80001-94998 |
|||
| ? | 01643-32060 | WASHER | 4 | SN: 80001-@ KIT-FLAG: _- SERIALNO: 80001-@ |
|||
| ? | 205-70-00100 | SHIM ASS'Y | 1 | SN: 80001-@ KIT-FLAG: _- SERIALNO: 80001-@ |
|||
| ? | ☆ | • SHIM, 1.0MM | 8 | SN: 80001-@ KIT-FLAG: _- SERIALNO: 80001-@ |
|||
| ? | ☆ | • SHIM, 0.5MM | 4 | SN: 80001-@ KIT-FLAG: _- SERIALNO: 80001-@ |
|||
| ? | 205-70-74381 | SPACER | 1 | SN: 80001-@ KIT-FLAG: _- SERIALNO: 80001-@ |
