| Номер на схеме | Каталожный номер | Название | Количество | Детали | |||
|---|---|---|---|---|---|---|---|
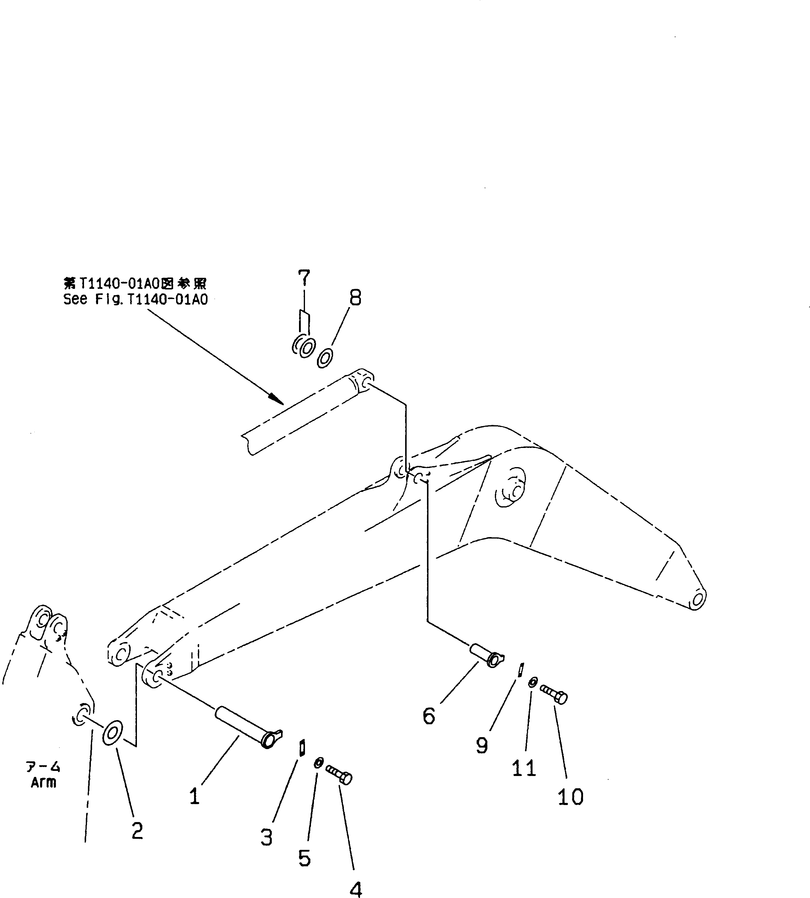
| ? | 205-70-65680 | PIN | 1 | SN: 80001- KIT-FLAG: _- SERIALNO: 80001- |
|||
| ? | 20Y-70-11360 | SPACER, 0.8MM | 1 | SN: 80001- KIT-FLAG: _- SERIALNO: 80001- |
|||
| ? | 205-70-71310 | PLATE | 1 | SN: 80001- KIT-FLAG: _- SERIALNO: 80001- |
|||
| ? | 01010-81235 | BOLT | 2 | SN: 94999- KIT-FLAG: _- SERIALNO: 94999- |
|||
| ? | 01010-51235 | BOLT | 2 | SN: 80001-94998 KIT-FLAG: _- SERIALNO: 80001-94998 |
|||
| ? | 01643-31232 | WASHER | 2 | SN: 80001- KIT-FLAG: _- SERIALNO: 80001- |
|||
| ? | 20Y-70-11180 | PIN | 1 | SN: 80001- KIT-FLAG: _- SERIALNO: 80001- |
|||
| ? | 20Y-70-11340 | SPACER, 0.8MM | 2 | SN: 80001- KIT-FLAG: _- SERIALNO: 80001- |
|||
| ? | 205-70-51530 | SPACER, 1.5MM | 1 | SN: 80001- KIT-FLAG: _- SERIALNO: 80001- |
|||
| ? | 205-70-66580 | PLATE | 1 | SN: 80001- KIT-FLAG: _- SERIALNO: 80001- |
|||
| ? | 01010-81230 | BOLT | 2 | SN: 94999- KIT-FLAG: _- SERIALNO: 94999- |
|||
| ? | 01010-51235 | BOLT | 2 | SN: 80001-94998 KIT-FLAG: _- SERIALNO: 80001-94998 |
|||
| ? | 01643-31232 | WASHER | 2 | SN: 80001- KIT-FLAG: _- SERIALNO: 80001- |
