| Номер на схеме | Каталожный номер | Название | Количество | Детали | |||
|---|---|---|---|---|---|---|---|
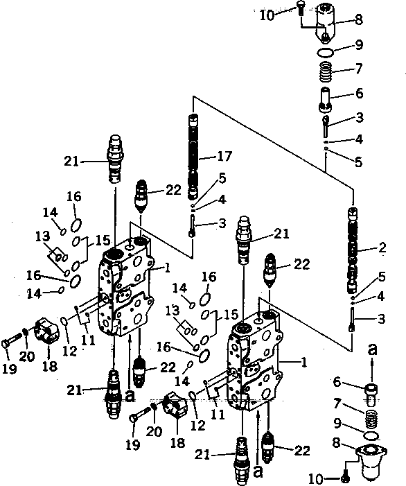
| ? | (723-48-12101) | VALVE ASS'Y | 1 | SN: 89799-94998 KIT-FLAG: _- SERIALNO: 89799-94998 |
|||
| ? | THIS ASSEMBLY CONSISTS OF ALL PARTS SHOWN IN FIGS.Y1664-01A0C T0 Y1664-11A0C . | SERIALNO: |
|||||
| ? | ☆ | • BLOCK,VALVE | 2 | SN: 80001-@ KIT-FLAG: _- SERIALNO: 80001-@ |
|||
| ? | ☆ | • SPOOL | 1 | SN: 83720-@ KIT-FLAG: _- SERIALNO: 83720-@ |
|||
| ? | 723-46-15130 | • PLUG | 4 | SN: 80001-@ KIT-FLAG: _- SERIALNO: 80001-@ |
|||
| ? | 07002-10823 | • O-RING | 4 | SN: 80001-@ KIT-FLAG: _- SERIALNO: 80001-@ |
|||
| ? | 708-7T-16460 | • BALL | 4 | SN: 80001-@ KIT-FLAG: _- SERIALNO: 80001-@ |
|||
| ? | 723-46-15120 | • RETAINER | 4 | SN: 80001-@ KIT-FLAG: _- SERIALNO: 80001-@ |
|||
| ? | 723-46-14110 | • SPRING | 4 | SN: 80001-@ KIT-FLAG: _- SERIALNO: 80001-@ |
|||
| ? | 723-46-15110 | • CASE | 4 | SN: 80001-@ KIT-FLAG: _- SERIALNO: 80001-@ |
|||
| ? | 07430-71380 | • O-RING | 4 | SN: 80001-@ KIT-FLAG: _- SERIALNO: 80001-@ |
|||
| ? | 01252-30820 | • BOLT | 8 | SN: 80001-@ KIT-FLAG: _- SERIALNO: 80001-@ |
|||
| ? | 07000-11009 | • O-RING | 4 | SN: 80001-@ KIT-FLAG: _- SERIALNO: 80001-@ |
|||
| ? | 07000-12021 | • O-RING | 2 | SN: 80001-@ KIT-FLAG: _- SERIALNO: 80001-@ |
|||
| ? | 07000-12015 | • O-RING | 6 | SN: 80001-@ KIT-FLAG: _- SERIALNO: 80001-@ |
|||
| ? | 07000-12018 | • O-RING | 4 | SN: 80001-@ KIT-FLAG: _- SERIALNO: 80001-@ |
|||
| ? | 07000-13032 | • O-RING | 4 | SN: 80001-@ KIT-FLAG: _- SERIALNO: 80001-@ |
|||
| ? | 07000-03040 | • O-RING | 4 | SN: 80001-@ KIT-FLAG: _- SERIALNO: 80001-@ |
|||
| ? | ☆ | • SPOOL | 1 | SN: 83720-@ KIT-FLAG: _- SERIALNO: 83720-@ |
|||
| ? | (723-40-66300) | • VALVE ASS'Y | 2 | SN: 80001-@ KIT-FLAG: _- SERIALNO: 80001-@ |
|||
| ? | 01252-60845 | • BOLT | 8 | SN: 80001-@ KIT-FLAG: _- SERIALNO: 80001-@ |
|||
| ? | 01643-50823 | • WASHER | 8 | SN: 80001-@ KIT-FLAG: _- SERIALNO: 80001-@ |
|||
| ? | (723-46-48100) | • VALVE ASS'Y | 4 | SN: 86930-@ KIT-FLAG: _- SERIALNO: 86930-@ |
|||
| ? | (709-70-74600) | • VALVE ASS'Y,SUCTION AND SAFETY | 4 | SN: 80001-@ KIT-FLAG: _- SERIALNO: 80001-@ |
