| Номер на схеме | Каталожный номер | Название | Количество | Детали | |||
|---|---|---|---|---|---|---|---|
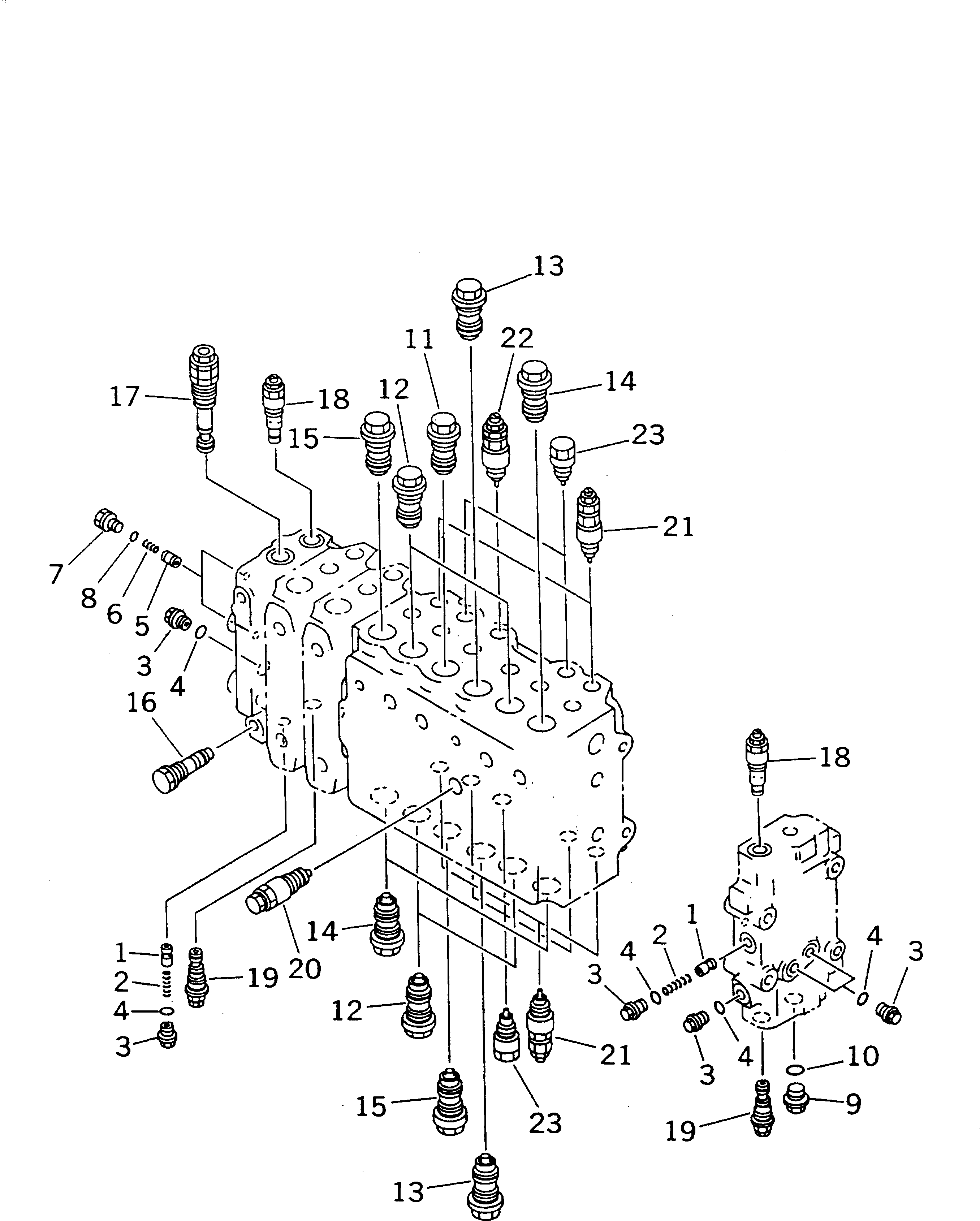
| ? | (723-48-10501) | VALVE ASS'Y | 1 | SN: 86930-87999 KIT-FLAG: _- SERIALNO: 86930-87999 |
|||
| ? | THIS ASSEMBLY CONSISTS OF ALL PARTS SHOWN IN FIGS.Y1664-01A0A T0 Y1664-11A0A . | SERIALNO: |
|||||
| ? | 723-46-15150 | • VALVE | 2 | SN: 80001-@ KIT-FLAG: _- SERIALNO: 80001-@ |
|||
| ? | 723-46-14150 | • SPRING | 2 | SN: 80001-@ KIT-FLAG: _- SERIALNO: 80001-@ |
|||
| ? | 723-46-15180 | • PLUG | 6 | SN: 80001-@ KIT-FLAG: _- SERIALNO: 80001-@ |
|||
| ? | 07002-11823 | • O-RING | 6 | SN: 80001-@ KIT-FLAG: _- SERIALNO: 80001-@ |
|||
| ? | 723-46-15190 | • VALVE | 2 | SN: 80001-@ KIT-FLAG: _- SERIALNO: 80001-@ |
|||
| ? | 723-46-14140 | • SPRING | 2 | SN: 80001-@ KIT-FLAG: _- SERIALNO: 80001-@ |
|||
| ? | 708-8E-16160 | • PLUG | 2 | SN: 80001-@ KIT-FLAG: _- SERIALNO: 80001-@ |
|||
| ? | 07002-11023 | • O-RING | 2 | SN: 80001-@ KIT-FLAG: _- SERIALNO: 80001-@ |
|||
| ? | 709-74-91860 | • PLUG | 1 | SN: 80001-@ KIT-FLAG: _- SERIALNO: 80001-@ |
|||
| ? | 07002-12434 | • O-RING | 1 | SN: 80001-@ KIT-FLAG: _- SERIALNO: 80001-@ |
|||
| ? | (723-46-40100) | • VALVE ASS'Y | 1 | SN: 84620-@ KIT-FLAG: _- SERIALNO: 84620-@ |
|||
| ? | (723-46-40300) | • VALVE ASS'Y | 4 | SN: 80001-@ KIT-FLAG: _- SERIALNO: 80001-@ |
|||
| ? | (723-46-41100) | • VALVE ASS'Y | 2 | SN: 84620-@ KIT-FLAG: _- SERIALNO: 84620-@ |
|||
| ? | (723-46-45100) | • VALVE ASS'Y | 3 | SN: 84620-@ KIT-FLAG: _- SERIALNO: 84620-@ |
|||
| ? | (723-46-46101) | • VALVE ASS'Y | 2 | SN: 84620-@ KIT-FLAG: _- SERIALNO: 84620-@ |
|||
| ? | (723-46-15100) | • PLUG ASS'Y | 1 | SN: 80001-@ KIT-FLAG: _- SERIALNO: 80001-@ |
|||
| ? | (723-40-50100) | • VALVE ASS'Y,RELIEF | 1 | SN: 80001-87999 KIT-FLAG: _- SERIALNO: 80001-87999 |
|||
| ? | (723-40-50200) | • VALVE ASS'Y,RELIEF | 2 | SN: 80001-87999 KIT-FLAG: _- SERIALNO: 80001-87999 |
|||
| ? | (723-40-56100) | • VALVE ASS'Y,UNLOAD | 2 | SN: 80001-87999 KIT-FLAG: _- SERIALNO: 80001-87999 |
|||
| ? | (723-40-60100) | • VALVE ASS'Y | 1 | SN: 80001-@ KIT-FLAG: _- SERIALNO: 80001-@ |
|||
| ? | (709-70-74302) | • VALVE ASS'Y,SUCTION AND SAFETY | 4 | SN: 80001-@ KIT-FLAG: _- SERIALNO: 80001-@ |
|||
| ? | (709-70-74203) | • VALVE ASS'Y,SUCTION AND SAFETY | 1 | SN: 80001-87999 KIT-FLAG: _- SERIALNO: 80001-87999 |
|||
| ? | (723-40-85100) | • VALVE ASS'Y,SUCTION | 5 | SN: 84620-@ KIT-FLAG: _- SERIALNO: 84620-@ |
