k-part
Номер на схеме Каталожный номер Название Количество Детали
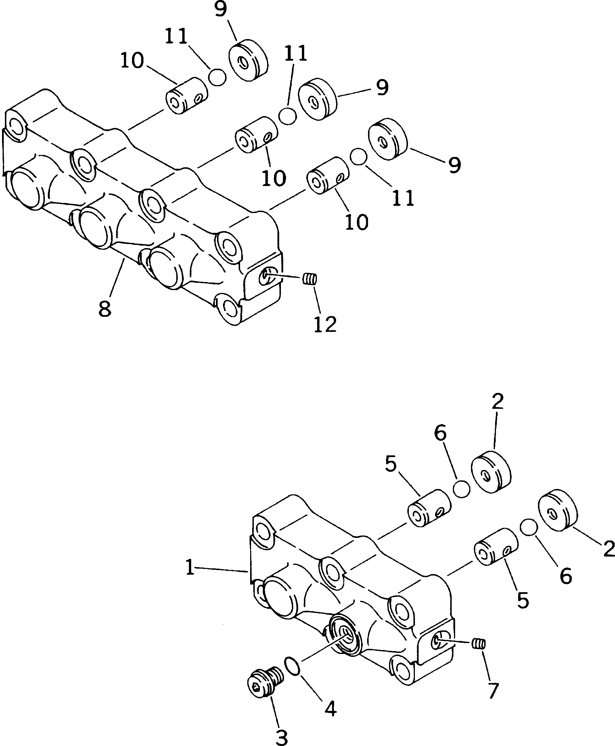
? (723-48-12101) VALVE ASS'Y 1
SN: 89799-96513
KIT-FLAG: _-
SERIALNO: 89799-96513
? THIS ASSEMBLY CONSISTS OF ALL PARTS SHOWN IN FIGS.Y1664-01A0D T0 Y1664-11A0D .
SERIALNO:
? 723-40-66100 • VALVE ASS'Y 1
SN: 80001-96513
KIT-FLAG: _-
SERIALNO: 80001-96513
? • • CASE 1
SN: 80001-96513
KIT-FLAG: _-
SERIALNO: 80001-96513
? • • SEAT 2
SN: 80001-96513
KIT-FLAG: _-
SERIALNO: 80001-96513
? 708-8E-16160 • • PLUG 1
SN: 80001-96513
KIT-FLAG: _-
SERIALNO: 80001-96513
? 07002-11023 • • O-RING 1
SN: 80001-96513
KIT-FLAG: _-
SERIALNO: 80001-96513
? • • SEAT 2
SN: 80001-96513
KIT-FLAG: _-
SERIALNO: 80001-96513
? • • BALL 2
SN: 80001-96513
KIT-FLAG: _-
SERIALNO: 80001-96513
? • • PLUG 1
SN: 80001-96513
KIT-FLAG: _-
SERIALNO: 80001-96513
? 723-40-66200 • VALVE ASS'Y 1
SN: 80001-96513
KIT-FLAG: _-
SERIALNO: 80001-96513
? • • CASE 1
SN: 80001-96513
KIT-FLAG: _-
SERIALNO: 80001-96513
? • • SEAT 3
SN: 80001-96513
KIT-FLAG: _-
SERIALNO: 80001-96513
? • • SEAT 3
SN: 80001-96513
KIT-FLAG: _-
SERIALNO: 80001-96513
? • • BALL 3
SN: 80001-96513
KIT-FLAG: _-
SERIALNO: 80001-96513
? • • PLUG 1
SN: 80001-96513
KIT-FLAG: _-
SERIALNO: 80001-96513

Excavators Komatsu / PC200LC-6 S/N 80001-UP (Overseas Version)(pc200l2c) / MAIN VALVE (2-ACTUATOR) (4/11)(#89799-96513)(483750 : Y1664-04A0D)