k-part
Номер на схеме Каталожный номер Название Количество Детали
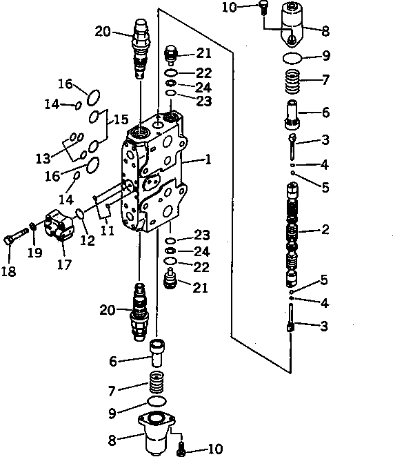
? (723-47-12201) VALVE ASS'Y 1
SN: 89799-94998
KIT-FLAG: _-
SERIALNO: 89799-94998
? (723-47-12200) VALVE ASS'Y 1
SN: 88000-89798
KIT-FLAG: _-
SERIALNO: 88000-89798
? THESE ASSEMBLIES CONSIST OF ALL PARTS SHOWN IN FIGS.Y1662-41A0B TO Y1662-51A0B .
SERIALNO:
? • BLOCK,VALVE 1
SN: 80001-@
KIT-FLAG: _-
SERIALNO: 80001-@
? • SPOOL 1
SN: 84620-@
KIT-FLAG: _-
SERIALNO: 84620-@
? 723-46-15130 • PLUG 2
SN: 80001-@
KIT-FLAG: _-
SERIALNO: 80001-@
? 07002-10823 • O-RING 2
SN: 80001-@
KIT-FLAG: _-
SERIALNO: 80001-@
? 708-7T-16460 • BALL 2
SN: 80001-@
KIT-FLAG: _-
SERIALNO: 80001-@
? 723-46-15120 • RETAINER 2
SN: 80001-@
KIT-FLAG: _-
SERIALNO: 80001-@
? 723-46-14110 • SPRING 2
SN: 80001-@
KIT-FLAG: _-
SERIALNO: 80001-@
? 723-46-15111 • CASE 2
SN: 80001-@
KIT-FLAG: _-
SERIALNO: 80001-@
? 07430-71380 • O-RING 2
SN: 80001-@
KIT-FLAG: _-
SERIALNO: 80001-@
? 01252-30820 • BOLT 4
SN: 80001-@
KIT-FLAG: _-
SERIALNO: 80001-@
? 07000-11009 • O-RING 2
SN: 80001-@
KIT-FLAG: _-
SERIALNO: 80001-@
? 07000-12021 • O-RING 1
SN: 80001-@
KIT-FLAG: _-
SERIALNO: 80001-@
? 07000-12015 • O-RING 3
SN: 80001-@
KIT-FLAG: _-
SERIALNO: 80001-@
? 07000-12018 • O-RING 2
SN: 80001-@
KIT-FLAG: _-
SERIALNO: 80001-@
? 07000-13032 • O-RING 2
SN: 80001-@
KIT-FLAG: _-
SERIALNO: 80001-@
? 07000-03040 • O-RING 2
SN: 80001-@
KIT-FLAG: _-
SERIALNO: 80001-@
? (723-40-66300) • VALVE ASS'Y 1
SN: 80001-@
KIT-FLAG: _-
SERIALNO: 80001-@
? 01252-60845 • BOLT 4
SN: 80001-@
KIT-FLAG: _-
SERIALNO: 80001-@
? 01643-50823 • WASHER 4
SN: 80001-@
KIT-FLAG: _-
SERIALNO: 80001-@
? (723-46-48100) • VALVE ASS'Y 2
SN: 86930-@
KIT-FLAG: _-
SERIALNO: 86930-@
? 709-74-91510 • PLUG 2
SN: 80001-@
KIT-FLAG: _-
SERIALNO: 80001-@
? 709-25-11390 • O-RING 2
SN: 80001-@
KIT-FLAG: _-
SERIALNO: 80001-@
? 07000-11009 • O-RING 2
SN: 80001-@
KIT-FLAG: _-
SERIALNO: 80001-@
? 07001-01009 • RING,BACK-UP 2
SN: 80001-@
KIT-FLAG: _-
SERIALNO: 80001-@

Excavators Komatsu / PC200LC-6 S/N 80001-UP (Overseas Version)(pc200l2c) / MAIN VALVE (1-ACTUATOR) (10/11) (WITHOUT SAFETY VALVE)(#88000-94998)(483220 : Y1662-50A0B)