k-part
Номер на схеме Каталожный номер Название Количество Детали
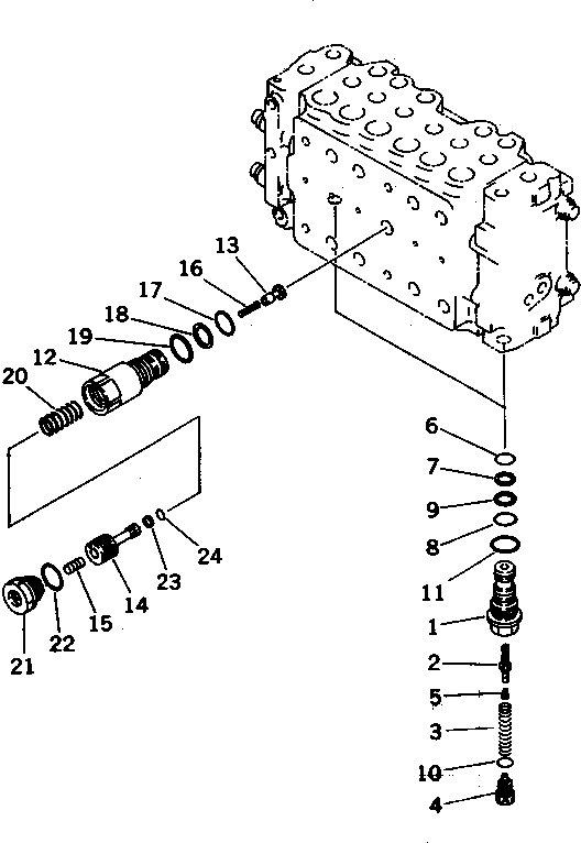
? (723-46-12101) VALVE ASS'Y 1
SN: 89799-94998
KIT-FLAG: _-
SERIALNO: 89799-94998
? (723-46-12100) VALVE ASS'Y 1
SN: 88000-89798
KIT-FLAG: _-
SERIALNO: 88000-89798
? THESE ASSEMBLIES CONSIST OF ALL PARTS SHOWN IN FIGS.Y1660-01A0 TO Y1660-11A0.
SERIALNO:
? 723-40-56302 • VALVE ASS'Y,UNLOAD 2
SN: 88000-@
KIT-FLAG: _-
SERIALNO: 88000-@
? • • SLEEVE 1
SN: 88000-@
KIT-FLAG: _-
SERIALNO: 88000-@
? • • VALVE 1
SN: 88000-@
KIT-FLAG: _-
SERIALNO: 88000-@
? • • SPRING 1
SN: 88000-@
KIT-FLAG: _-
SERIALNO: 88000-@
? • • PLUG 1
SN: 88000-@
KIT-FLAG: _-
SERIALNO: 88000-@
? • • PLUG 1
SN: 88000-@
KIT-FLAG: _-
SERIALNO: 88000-@
? 07000-12014 • • O-RING 1
SN: 80001-@
KIT-FLAG: _-
SERIALNO: 80001-@
? 723-40-56350 • • RING 1
SN: 80001-@
KIT-FLAG: _-
SERIALNO: 80001-@
? 07000-12016 • • O-RING 1
SN: 80001-@
KIT-FLAG: _-
SERIALNO: 80001-@
? 723-60-22230 • • RING,BACK-UP 1
SN: 80001-@
KIT-FLAG: _-
SERIALNO: 80001-@
? • • O-RING 1
SN: 80001-@
KIT-FLAG: _-
SERIALNO: 80001-@
? 07002-12434 • • O-RING 1
SN: 80001-@
KIT-FLAG: _-
SERIALNO: 80001-@
? 723-40-60101 • VALVE ASS'Y 1
SN: 89799-@
KIT-FLAG: _-
SERIALNO: 89799-@
? 723-40-60100 • VALVE ASS'Y 1
SN: 80001-89798
KIT-FLAG: _-
SERIALNO: 80001-89798
? • • SLEEVE 1
SN: 80001-@
KIT-FLAG: _-
SERIALNO: 80001-@
? • • VALVE 1
SN: 80001-@
KIT-FLAG: _-
SERIALNO: 80001-@
? • • PISTON 1
SN: 89799-@
KIT-FLAG: _-
SERIALNO: 89799-@
? • • PISTON 1
SN: 80001-89798
KIT-FLAG: _-
SERIALNO: 80001-89798
? • • PISTON 1
SN: 80001-@
KIT-FLAG: _-
SERIALNO: 80001-@
? • • SPRING 1
SN: 80001-@
KIT-FLAG: _-
SERIALNO: 80001-@
? 07000-12020 • • O-RING,BACK-UP 1
SN: 80001-@
KIT-FLAG: _-
SERIALNO: 80001-@
? 07001-02020 • • RING 1
SN: 80001-@
KIT-FLAG: _-
SERIALNO: 80001-@
? 709-25-11390 • • O-RING 1
SN: 80001-@
KIT-FLAG: _-
SERIALNO: 80001-@
? • • SPRING 1
SN: 80001-@
KIT-FLAG: _-
SERIALNO: 80001-@
? • • PLUG 1
SN: 80001-@
KIT-FLAG: _-
SERIALNO: 80001-@
? • • O-RING 1
SN: 80001-@
KIT-FLAG: _-
SERIALNO: 80001-@
? • • SEAL 1
SN: 89799-@
KIT-FLAG: _-
SERIALNO: 89799-@
? • • SEAL 1
SN: 80001-89798
KIT-FLAG: _-
SERIALNO: 80001-89798
? • • O-RING 1
SN: 80001-@
KIT-FLAG: _-
SERIALNO: 80001-@

Excavators Komatsu / PC200LC-6 S/N 80001-UP (Overseas Version)(pc200l2c) / MAIN VALVE (8/11)(#88000-94998)(481740 : Y1660-08A0A)