k-part
Номер на схеме Каталожный номер Название Количество Детали
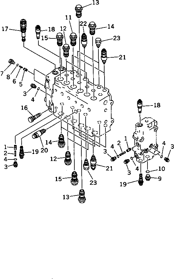
? (723-46-10501) VALVE ASS'Y 1
SN: 86930-87999
KIT-FLAG: _-
SERIALNO: 86930-87999
? THIS ASSEMBLY CONSISTS OF ALL PARTS SHOWN IN FIGS.Y1660-01A0 T0 Y1660-11A0.
SERIALNO:
? 723-46-15150 • VALVE 2
SN: 80001-@
KIT-FLAG: _-
SERIALNO: 80001-@
? 723-46-14150 • SPRING 2
SN: 80001-@
KIT-FLAG: _-
SERIALNO: 80001-@
? 723-46-15180 • PLUG 6
SN: 80001-@
KIT-FLAG: _-
SERIALNO: 80001-@
? 07002-11823 • O-RING 6
SN: 80001-@
KIT-FLAG: _-
SERIALNO: 80001-@
? 723-46-15190 • VALVE 2
SN: 80001-@
KIT-FLAG: _-
SERIALNO: 80001-@
? 723-46-14140 • SPRING 2
SN: 80001-@
KIT-FLAG: _-
SERIALNO: 80001-@
? 708-8E-16160 • PLUG 2
SN: 80001-@
KIT-FLAG: _-
SERIALNO: 80001-@
? 07002-11023 • O-RING 2
SN: 80001-@
KIT-FLAG: _-
SERIALNO: 80001-@
? 709-74-91860 • PLUG 1
SN: 80001-@
KIT-FLAG: _-
SERIALNO: 80001-@
? 07002-12434 • O-RING 1
SN: 80001-@
KIT-FLAG: _-
SERIALNO: 80001-@
? (723-46-40100) • VALVE ASS'Y 1
SN: 84620-@
KIT-FLAG: _-
SERIALNO: 84620-@
? (723-46-40300) • VALVE ASS'Y 4
SN: 80001-@
KIT-FLAG: _-
SERIALNO: 80001-@
? (723-46-41100) • VALVE ASS'Y 2
SN: 84620-@
KIT-FLAG: _-
SERIALNO: 84620-@
? (723-46-45100) • VALVE ASS'Y 3
SN: 84620-@
KIT-FLAG: _-
SERIALNO: 84620-@
? (723-46-46101) • VALVE ASS'Y 2
SN: 84620-@
KIT-FLAG: _-
SERIALNO: 84620-@
? (723-46-15100) • PLUG ASS'Y 1
SN: 80001-@
KIT-FLAG: _-
SERIALNO: 80001-@
? (723-40-50100) • VALVE ASS'Y,RELIEF 1
SN: 80001-87999
KIT-FLAG: _-
SERIALNO: 80001-87999
? (723-40-50200) • VALVE ASS'Y,RELIEF 2
SN: 80001-87999
KIT-FLAG: _-
SERIALNO: 80001-87999
? (723-40-56100) • VALVE ASS'Y,UNLOAD 2
SN: 80001-87999
KIT-FLAG: _-
SERIALNO: 80001-87999
? (723-40-60100) • VALVE ASS'Y 1
SN: 80001-@
KIT-FLAG: _-
SERIALNO: 80001-@
? (709-70-74302) • VALVE ASS'Y,SUCTION AND SAFETY 4
SN: 80001-@
KIT-FLAG: _-
SERIALNO: 80001-@
? (709-70-74203) • VALVE ASS'Y,SUCTION AND SAFETY 1
SN: 80001-87999
KIT-FLAG: _-
SERIALNO: 80001-87999
? (723-40-85100) • VALVE ASS'Y,SUCTION 5
SN: 84620-@
KIT-FLAG: _-
SERIALNO: 84620-@

Excavators Komatsu / PC200LC-6 S/N 80001-UP (Overseas Version)(pc200l2c) / MAIN VALVE (5/11)(#86930-87999)(481590 : Y1660-05A0A)