| Номер на схеме | Каталожный номер | Название | Количество | Детали | |||
|---|---|---|---|---|---|---|---|
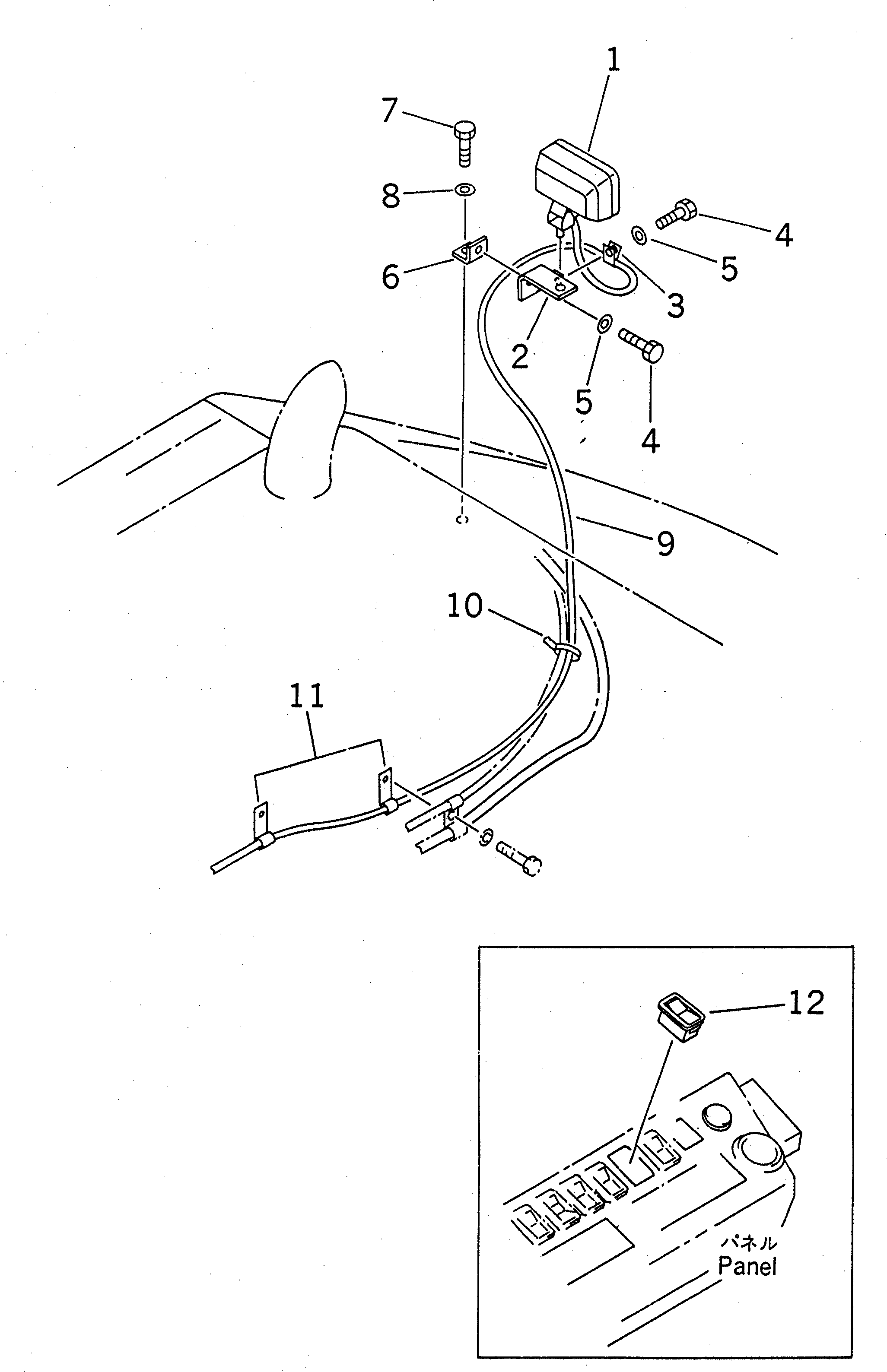
| ? | 20Y-06-25310 | WORK LAMP ASS'Y | 1 | SN: 102992- |
|||
| ? | □20Y-06-21480 | WORK LAMP ASS'Y | 1 | SN: 80001-102991 |
|||
| ? | 421-06-23330 | • BULB ? 70W | 1 | SN: 102992- |
|||
| ? | 20Y-06-21551 | BRACKET | 1 | SN: 98100- |
|||
| ? | □20Y-06-21550 | BRACKET | 1 | SN: 80001-98099 |
|||
| ? | 21T-38-12270 | CLIP | 1 | SN: 80001- |
|||
| ? | 01010-81225 | BOLT | 2 | SN: 94999- |
|||
| ? | 01010-51225 | BOLT | 2 | SN: 80001-94998 |
|||
| ? | 01643-31232 | WASHER | 2 | SN: 80001- |
|||
| ? | 20Y-06-21590 | BRACKET | 1 | SN: 80001- |
|||
| ? | 01010-81225 | BOLT | 1 | SN: 94999- |
|||
| ? | 01010-51225 | BOLT | 1 | SN: 80001-94998 |
|||
| ? | 01643-31232 | WASHER | 1 | SN: 80001- |
|||
| ? | 20Y-06-21320 | WIRE | 1 | SN: 80001- |
|||
| ? | 08034-00414 | BAND | 3 | SN: 80001- |
|||
| ? | 515-35-13930 | CLIP | 2 | SN: 80001- |
|||
| ? | 20Y-06-23451 | SWITCH | 1 | SN: 80001- |
