| Номер на схеме | Каталожный номер | Название | Количество | Детали | |||
|---|---|---|---|---|---|---|---|
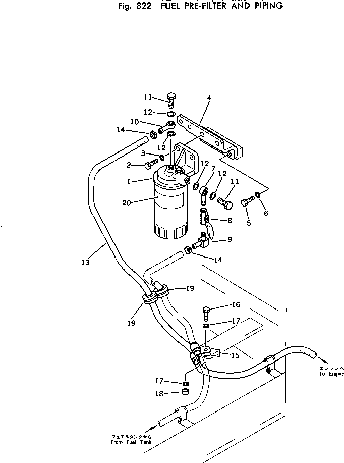
| ? | 600-311-9100 | FUEL FILTER ASS'Y | 1 | SN: 1001- |
|||
| ? | 01010-51035 | BOLT | 2 | SN: 1001- |
|||
| ? | 01643-31032 | WASHER | 2 | SN: 1001- |
|||
| ? | 21K-04-61120 | BRACKET | 1 | SN: 1001- |
|||
| ? | 01010-51225 | BOLT | 2 | SN: 1001- |
|||
| ? | 01643-31232 | WASHER | 2 | SN: 1001- |
|||
| ? | 205-04-62140 | JOINT | 1 | SN: 1001- |
|||
| ? | 07700-40240 | VALVE | 1 | SN: 1001- |
|||
| ? | 205-04-62130 | ELBOW | 1 | SN: 1001- |
|||
| ? | 205-04-62150 | JOINT | 1 | SN: 1001- |
|||
| ? | 07206-31014 | BOLT,JOINT | 2 | SN: 1001- |
|||
| ? | 07005-01412 | GASKET,SEAL | 4 | SN: 1001- |
|||
| ? | 202-04-41110 | HOSE | 1 | SN: 1001- |
|||
| ? | 07281-00197 | CLAMP | 2 | SN: 1001- |
|||
| ? | 6114-61-8550 | CLAMP | 2 | SN: 1001- |
|||
| ? | 01010-51030 | BOLT | 1 | SN: 1001- |
|||
| ? | 01643-31032 | WASHER | 2 | SN: 1001- |
|||
| ? | 01580-11008 | NUT | 1 | SN: 1001- |
|||
| ? | 560-06-12510 | GROMMET | 2 | SN: 1001- |
|||
| ? | 6712-81-8610 | PLATE ? CAUTION,(JAPANESE-ENGLISH) | 1 | SN: 1001- |
|||
| ? | 6712-81-8620 | PLATE ? CAUTION,(ENGLISH) | 1 | SN: 1001- |
|||
| ? | 6712-81-8630 | PLATE ? CAUTION,(ENGLISH-ARABIC) | 1 | SN: 1001- |
|||
| ? | 6712-81-8650 | PLATE ? CAUTION,(ENGLISH-INDONESIAN) | 1 | SN: 1001- |
|||
| ? | 6712-81-8660 | PLATE ? CAUTION,(ENGLISH-FRENCH) | 1 | SN: 1001- |
|||
| ? | 6712-81-8720 | PLATE ? CAUTION,(ENGLISH-SPANISH) | 1 | SN: 1001- |
