| Номер на схеме | Каталожный номер | Название | Количество | Детали | |||
|---|---|---|---|---|---|---|---|
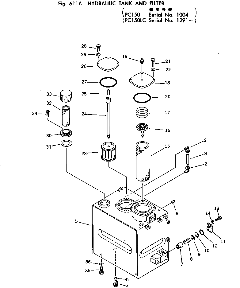
| ? | 21K-60-00011 | TANK ASS'Y,HYDRAULIC | 1 | SN: 1004- |
|||
| ? | ☆ | • TANK | 1 | SN: 1001- |
|||
| ? | 203-60-31100 | • ELBOW ASS'Y | 2 | SN: 1001- |
|||
| ? | 203-60-31160 | • TUBE | 1 | SN: 1001- |
|||
| ? | 07044-13620 | • PLUG | 1 | SN: 1001- |
|||
| ? | 07002-03634 | • O-RING | 1 | SN: 1001- |
|||
| ? | 07042-00211 | • PLUG | 1 | SN: 1001- |
|||
| ? | 205-60-65250 | • POPPET | 1 | SN: 1004- |
|||
| ? | 156-76-33310 | • SPRING | 1 | SN: 1001- |
|||
| ? | 205-60-65260 | • SEAT | 1 | SN: 1004- |
|||
| ? | 04065-05020 | • RING,SNAP | 1 | SN: 1004- |
|||
| ? | 21K-60-11410 | • PLATE | 1 | SN: 1001- |
|||
| ? | 07000-02060 | • O-RING | 1 | SN: 1001- |
|||
| ? | 01010-51025 | • BOLT | 4 | SN: 1001- |
|||
| ? | 01643-31032 | • WASHER | 4 | SN: 1001- |
|||
| ? | 205-60-51430 | • ELEMENT | 1 | SN: 1001- |
|||
| ? | 12R-60-11300 | • VALVE ASS'Y | 1 | SN: 1001- |
|||
| ? | 12R-60-11390 | • SPRING | 1 | SN: 1001- |
|||
| ? | 21K-60-11260 | • COVER | 1 | SN: 1004- |
|||
| ? | 07042-20108 | • PLUG | 1 | SN: 1004- |
|||
| ? | 07000-05180 | • O-RING | 1 | SN: 1001- |
|||
| ? | 01010-51230 | • BOLT | 4 | SN: 1001- |
|||
| ? | 01643-31232 | • WASHER | 4 | SN: 1001- |
|||
| ? | 21K-60-11190 | • STRAINER | 1 | SN: 1001- |
|||
| ? | 21K-60-11152 | • SUPPORT | 1 | SN: 1001- |
|||
| ? | 12R-60-11230 | • SPRING | 1 | SN: 1001- |
|||
| ? | 21K-60-11180 | • COVER | 1 | SN: 1001- |
|||
| ? | 07000-05180 | • O-RING | 1 | SN: 1001- |
|||
| ? | 01010-51025 | • BOLT | 4 | SN: 1001- |
|||
| ? | 01643-31032 | • WASHER | 4 | SN: 1001- |
|||
| ? | 22W-60-15200 | • CAP ASS'Y | 1 | SN: 1001- |
|||
| ? | 22W-60-15220 | • • FLANGE | 1 | SN: 1001- |
|||
| ? | 22W-60-15240 | • • PACKING | 1 | SN: 1001- |
|||
| ? | 22W-60-15210 | • • STRAINER | 1 | SN: 1001- |
|||
| ? | 22W-60-15230 | • • CAP ASS'Y | 1 | SN: 1001- |
|||
| ? | 01252-40616 | • BOLT | 4 | SN: 1001- |
|||
| ? | 01010-51635 | BOLT | 4 | SN: 1001- |
|||
| ? | 01643-31645 | WASHER | 4 | SN: 1001- |
