k-part
Номер на схеме Каталожный номер Название Количество Детали
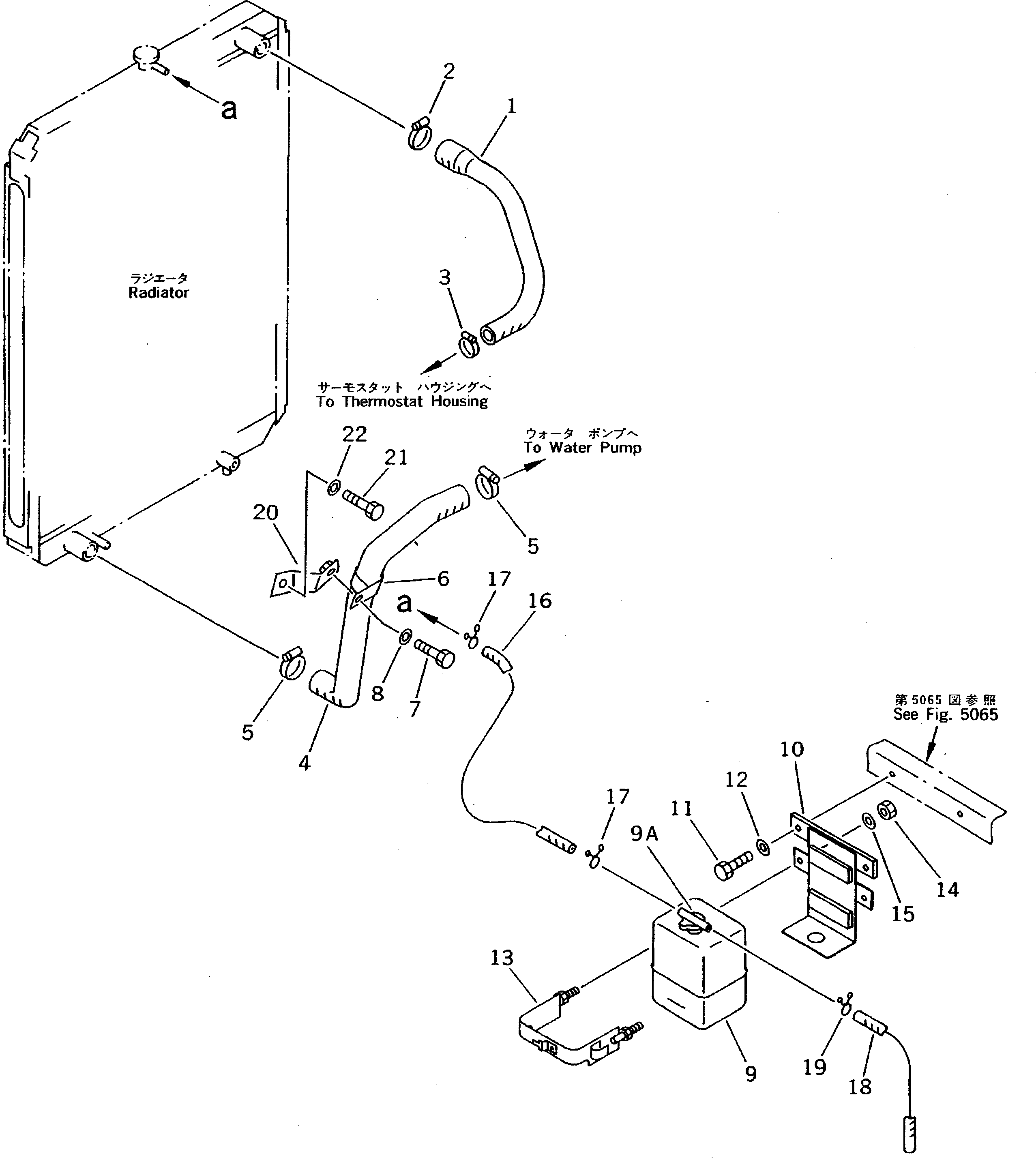
? 20Y-03-12190 HOSE 1
SN: 45001-
? 208-09-11110 CLAMP 1
SN: 45001-
? 207-09-11110 CLAMP 1
SN: 45001-
? 20Y-03-12280 HOSE 1
SN: 57469-
? 208-09-11110 CLAMP 2
SN: 45001-
? 20Y-03-11530 CLIP 1
SN: 45001-
? 01010-51230 BOLT 1
SN: 45001-
? 01643-31232 WASHER 1
SN: 45001-
? 20Y-06-15240 TANK ASS'Y 1
SN: 45001-
? 205-03-71532 • CAP 1
SN: 69113-
? □205-03-71531 • CAP 1
SN: 45001-69112
? 20Y-03-11261 BRACKET 1
SN: 45001-
? 01010-51230 BOLT 2
SN: 45001-
? 01643-31232 WASHER 2
SN: 45001-
? 20Y-03-11361 BAND 1
SN: 45001-
? 01580-10806 NUT 2
SN: 45001-
? 01643-30823 WASHER 2
SN: 45001-
? 20Y-03-12220 HOSE 1
SN: 45001-
? 206-03-43340 CLIP 2
SN: 45001-
? 206-03-43331 HOSE 1
SN: 45001-
? 206-03-43340 CLIP 1
SN: 45001-
? 20Y-03-18310 BRACKET 1
SN: 57469-
? 01010-51230 BOLT 1
SN: 57469-
? 01643-31232 WASHER 1
SN: 57469-

Excavators Komatsu / PC200-5S S/N 45001-UP(pc200-0r) / RADIATOR PIPING (FOR LARGE CAPACITY RADIATOR)(030070 : 1225A)