| Номер на схеме | Каталожный номер | Название | Количество | Детали | |||
|---|---|---|---|---|---|---|---|
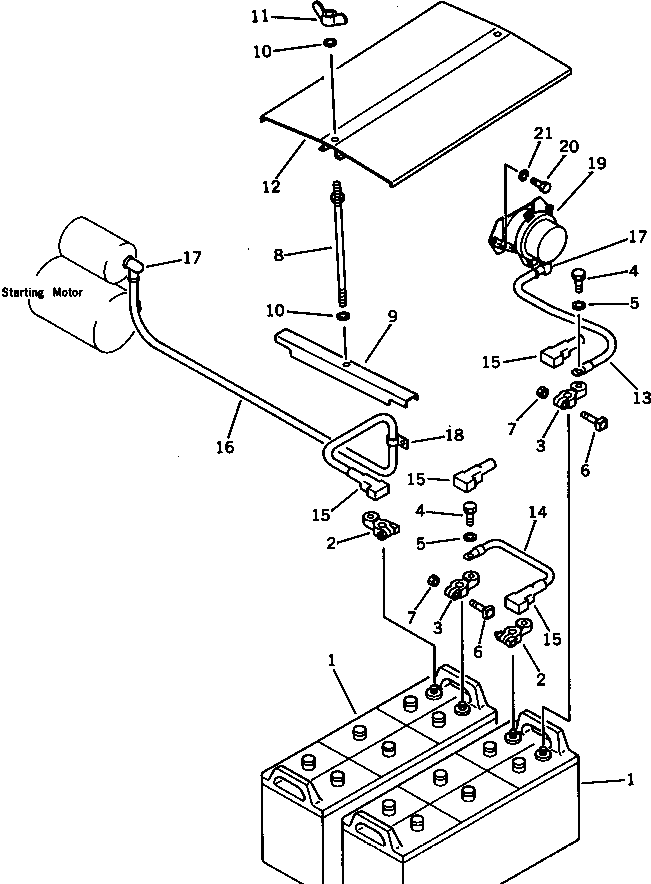
| ? | 08000-32215 | BATTERY, WET | 2 | SN: 18001-@ KIT-FLAG: _- SERIALNO: 18001-@ |
|||
| ? | 08000-00000 | TERMINAL, (+) | 2 | SN: 18001-@ KIT-FLAG: _- SERIALNO: 18001-@ |
|||
| ? | 08000-00001 | TERMINAL, (-) | 2 | SN: 18001-@ KIT-FLAG: _- SERIALNO: 18001-@ |
|||
| ? | 01050-31018 | • BOLT | 1 | SN: 18001-@ KIT-FLAG: _- SERIALNO: 18001-@ |
|||
| ? | 01640-01016 | • WASHER | 1 | SN: 18001-@ KIT-FLAG: _- SERIALNO: 18001-@ |
|||
| ? | 01010-30830 | • BOLT | 1 | SN: 18001-@ KIT-FLAG: _- SERIALNO: 18001-@ |
|||
| ? | 01580-00806 | • NUT | 1 | SN: 18001-@ KIT-FLAG: _- SERIALNO: 18001-@ |
|||
| ? | 203-09-31120 | BOLT | 2 | SN: 18001-21099 KIT-FLAG: _- SERIALNO: 18001-21099 |
|||
| ? | 203-06-31222 | CLAMP | 2 | SN: 18001-@ KIT-FLAG: _- SERIALNO: 18001-@ |
|||
| ? | 01643-31232 | WASHER | 4 | SN: 18001-21099 KIT-FLAG: _- SERIALNO: 18001-21099 |
|||
| ? | 01541-21260 | NUT | 2 | SN: 18001-21099 KIT-FLAG: _- SERIALNO: 18001-21099 |
|||
| ? | 203-06-31212 | COVER | 1 | SN: 18001-21099 KIT-FLAG: _- SERIALNO: 18001-21099 |
|||
| ? | 08028-12045 | CABLE | 1 | SN: 18001-@ KIT-FLAG: _- SERIALNO: 18001-@ |
|||
| ? | 08028-12015 | CABLE | 1 | SN: 18001-@ KIT-FLAG: _- SERIALNO: 18001-@ |
|||
| ? | 08038-22009 | CAP,TERMINAL | 4 | SN: 18001-@ KIT-FLAG: _- SERIALNO: 18001-@ |
|||
| ? | 203-06-41620 | WIRE | 1 | SN: 18001-@ KIT-FLAG: _- SERIALNO: 18001-@ |
|||
| ? | 08038-04030 | CAP | 2 | SN: 18001-@ KIT-FLAG: _- SERIALNO: 18001-@ |
|||
| ? | 08036-11214 | CLIP | 1 | SN: 18001-@ KIT-FLAG: _- SERIALNO: 18001-@ |
|||
| ? | 08088-10000 | SWITCH | 1 | SN: 18001-@ KIT-FLAG: _- SERIALNO: 18001-@ |
|||
| ? | 01010-50816 | BOLT | 2 | SN: 18001-@ KIT-FLAG: _- SERIALNO: 18001-@ |
|||
| ? | 01602-20825 | WASHER,SPRING | 2 | SN: 18001-@ KIT-FLAG: _- SERIALNO: 18001-@ |
|||
| ? | 6130-81-9910 | PLATE, CAUTION,(NOT SHOWN) | 1 | SN: 18001-@ KIT-FLAG: _- SERIALNO: 18001-@ |
