k-part
Номер на схеме Каталожный номер Название Количество Детали
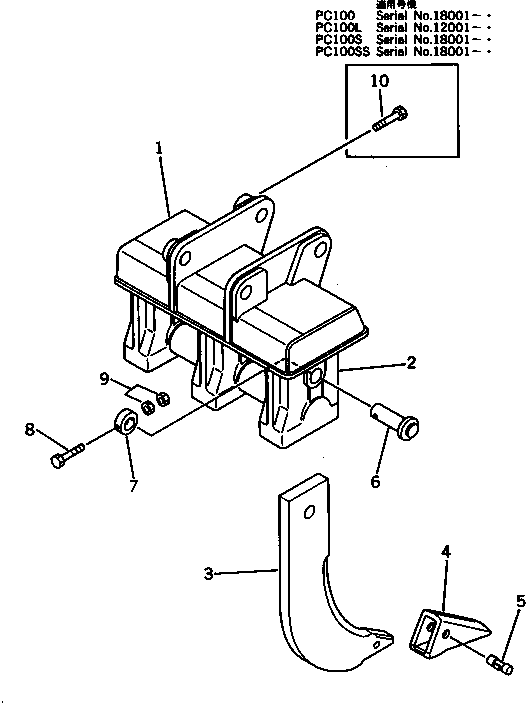
? 202-951-0014 RIPPER ASS'Y,THREE SHANK 1
SN: .-
KIT-FLAG: _-
SERIALNO: .-
? □202-951-0013 RIPPER ASS'Y,THREE SHANK 1
SN: 18001-.
KIT-FLAG: _-
SERIALNO: 18001-.
? • BRACKET 1
SN: .-
KIT-FLAG: _-
SERIALNO: .-
? • BRACKET 1
SN: 18001-.
KIT-FLAG: _-
SERIALNO: 18001-.
? 205-951-6120 • • HOLDER 3
SN: 18001-
KIT-FLAG: _-
SERIALNO: 18001-
? 205-951-0020 • SHANK ASS'Y 3
SN: 18001-
KIT-FLAG: _-
SERIALNO: 18001-
? • • SHANK 1
SN: 18001-
KIT-FLAG: _-
SERIALNO: 18001-
? 131-78-31190 • • POINT 1
SN: 18001-
KIT-FLAG: _-
SERIALNO: 18001-
? 09244-02489 • • PIN 1
SN: 18001-
KIT-FLAG: _-
SERIALNO: 18001-
? 205-951-6140 • PIN 3
SN: 18001-
KIT-FLAG: _-
SERIALNO: 18001-
? 205-951-6150 • COLLAR 3
SN: 18001-
KIT-FLAG: _-
SERIALNO: 18001-
? 01019-11205 • BOLT 3
SN: 18001-
KIT-FLAG: _-
SERIALNO: 18001-
? 01580-11210 • NUT 6
SN: 18001-
KIT-FLAG: _-
SERIALNO: 18001-
? 01011-51640 BOLT 1
SN: 18001-.
KIT-FLAG: _-
SERIALNO: 18001-.

Excavators Komatsu / PC120-3 S/N 18001-UP (For U.S.A.)(pc120-bc) / THREE SHANK RIPPER(210200 : 7221)