| Номер на схеме | Каталожный номер | Название | Количество | Детали | |||
|---|---|---|---|---|---|---|---|
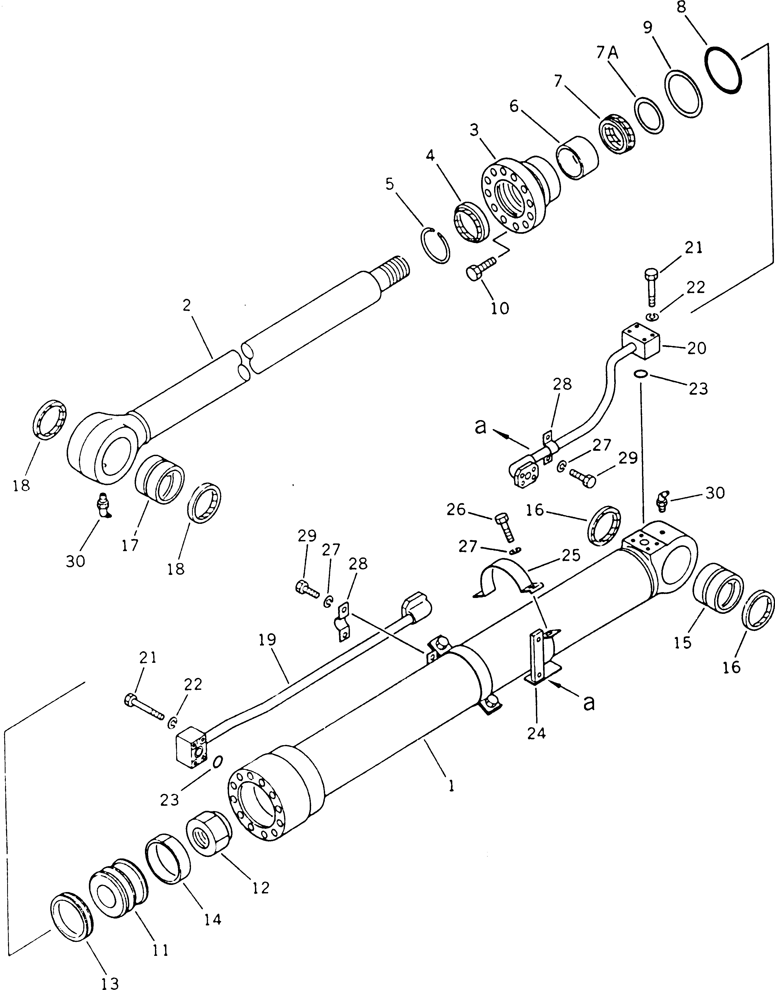
| ? | 203-63-72500 | BUCKET CYLINDER A. | 1 | SN: 18001- |
|||
| ? | 203-63-72510 | • CYLINDER SUB ASS'Y | 1 | SN: 18001- |
|||
| ? | 203-63-72540 | • • CYLINDER | 1 | SN: 18001- |
|||
| ? | 203-63-72520 | • • ROD,PISTON | 1 | SN: 18001- |
|||
| ? | 707-27-10171 | • • HEAD,CYLINDER | 1 | SN: 18001- |
|||
| ? | 144-63-92170 | • • SEAL,DUST (KIT) | 1 | SN: 18001- |
|||
| ? | 07179-00088 | • • RING,SNAP | 1 | SN: 18001- |
|||
| ? | 07177-06530 | • • BUSHING | 1 | SN: 18001- |
|||
| ? | 707-51-65211 | • • PACKING,ROD (KIT) | 1 | SN: 18001- |
|||
| ? | 07000-12095 | • • O-RING (KIT) | 1 | SN: 18001- |
|||
| ? | 07146-02096 | • • RING,BACK-UP (KIT) | 1 | SN: 18001- |
|||
| ? | 01010-51450 | • • BOLT | 12 | SN: 18001- |
|||
| ? | 707-36-10260 | • • PISTON | 1 | SN: 18001- |
|||
| ? | 07165-14547 | • • NUT | 1 | SN: 18001- |
|||
| ? | 707-44-10080 | • • RING,PISTON (KIT) | 1 | SN: 18001- |
|||
| ? | 07155-01025 | • • RING,WEAR (KIT) | 1 | SN: 18001- |
|||
| ? | 707-76-65040 | • • BUSHING | 1 | SN: 18001- |
|||
| ? | 07145-00065 | • • SEAL,DUST (KIT) | 2 | SN: 18001- |
|||
| ? | 707-76-65050 | • • BUSHING | 1 | SN: 18001- |
|||
| ? | 707-77-65110 | • • SEAL,DUST (KIT) | 2 | SN: 18001- |
|||
| ? | 203-63-72570 | • TUBE | 1 | SN: 18001- |
|||
| ? | 203-63-72580 | • TUBE | 1 | SN: 18001- |
|||
| ? | 01010-50850 | • BOLT | 8 | SN: 18001- |
|||
| ? | 01602-20825 | • WASHER,SPRING | 8 | SN: 18001- |
|||
| ? | 07000-13025 | • O-RING (KIT) | 2 | SN: 18001- |
|||
| ? | 707-88-99060 | • BAND | 2 | SN: 18001- |
|||
| ? | 707-88-99010 | • BAND | 2 | SN: 18001- |
|||
| ? | 01010-51035 | • BOLT | 4 | SN: 18001- |
|||
| ? | 01602-21030 | • WASHER,SPRING | 8 | SN: 18001- |
|||
| ? | 07282-02288 | • CLAMP | 2 | SN: 18001- |
|||
| ? | 01010-51020 | • BOLT | 4 | SN: 18001- |
|||
| ? | 07020-00675 | • FITTING,GREASE | 2 | SN: 18001- |
