k-part
Номер на схеме Каталожный номер Название Количество Детали
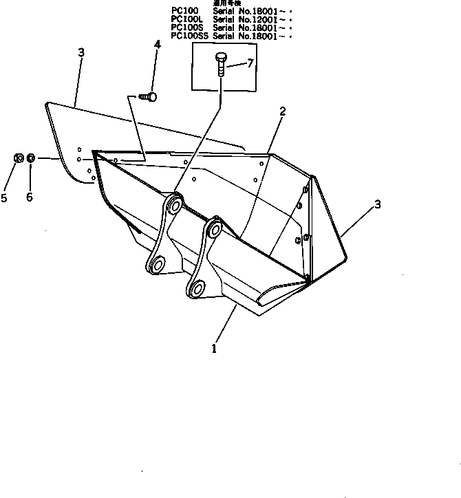
? 202-929-0021 BUCKET ASS'Y 1
SN: .-
? □202-929-0020 BUCKET ASS'Y 1
SN: 18001-.
? 202-929-5111 • BUCKET,TRAPEZOIDAL 1
SN: .-
? 202-929-5110 • BUCKET,TRAPEZOIDAL 1
SN: 18001-.
? 202-929-1121 • • LIP (WELDED) 1
SN: 18001-
? 202-929-1150 • PLATE,SIDE 2
SN: 18001-
? 01010-52055 • BOLT 12
SN: 18001-
? 01580-12016 • NUT 12
SN: 18001-
? 01643-32060 • WASHER 12
SN: 18001-
? 01011-51640 BOLT 1
SN: 18001-.

Excavators Komatsu / PC120S-3 S/N 18001-UP(pc120s-r) / TRAPEZOIDAL BUCKET(210140 : 7141)