k-part
Номер на схеме Каталожный номер Название Количество Детали
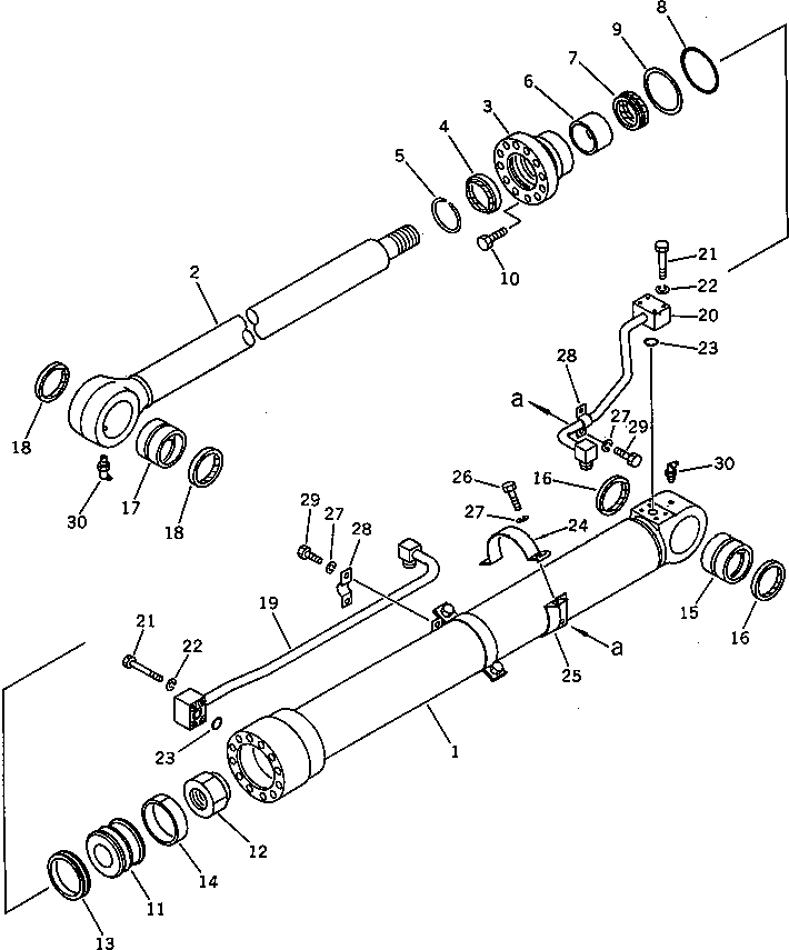
? 203-63-72500 BUCKET CYLINDER A. 1
SN: 18001-20335
? 203-63-72510 • CYLINDER SUB ASS'Y 1
SN: 18001-@
? 203-63-72540 • • CYLINDER 1
SN: 18001-@
? 203-63-72520 • • ROD,PISTON 1
SN: 18001-@
? 707-27-10171 • • HEAD,CYLINDER 1
SN: 18001-@
? 144-63-92170 • • SEAL,DUST (KIT) 1
SN: 18001-@
? 07179-00088 • • RING,SNAP 1
SN: 18001-@
? 07177-06530 • • BUSHING 1
SN: 18001-@
? 707-51-65211 • • PACKING,ROD (KIT) 1
SN: 18001-@
? 07000-12095 • • O-RING (KIT) 1
SN: 18001-@
? 07146-02096 • • RING,BACK-UP (KIT) 1
SN: 18001-@
? 01010-51450 • • BOLT 12
SN: 18001-@
? 707-36-10260 • • PISTON 1
SN: 18001-@
? 07165-14547 • • NUT 1
SN: 18001-@
? 707-44-10080 • • RING,PISTON (KIT) 1
SN: 18001-@
? 07155-01025 • • RING,WEAR (KIT) 1
SN: 18001-@
? 707-76-65040 • • BUSHING 1
SN: 18001-@
? 07145-00065 • • SEAL,DUST (KIT) 2
SN: 18001-@
? 707-76-65050 • • BUSHING 1
SN: 18001-@
? 707-77-65110 • • SEAL,DUST (KIT) 2
SN: 18001-@
? 203-63-72570 • TUBE 1
SN: 18001-20335
? 203-63-72580 • TUBE 1
SN: 18001-20335
? 01010-50850 • BOLT 8
SN: 18001-@
? 01602-20825 • WASHER,SPRING 8
SN: 18001-@
? 07000-13025 • O-RING (KIT) 2
SN: 18001-@
? 707-88-99060 • BAND 2
SN: 18001-@
? 707-88-99010 • BAND 2
SN: 18001-@
? 01010-51030 • BOLT 4
SN: 18001-@
? 01602-21030 • WASHER,SPRING 8
SN: 18001-@
? 07282-02288 • CLAMP 2
SN: 18001-@
? 01010-51020 • BOLT 4
SN: 18001-@
? 07020-00675 • FITTING,GREASE 2
SN: 18001-@

Excavators Komatsu / PC120S-3 S/N 18001-UP(pc120s-r) / BUCKET CYLINDER(#18001-20335)(180380 : 6405)