| Номер на схеме | Каталожный номер | Название | Количество | Детали | |||
|---|---|---|---|---|---|---|---|
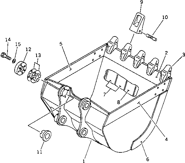
| ? | 203-920-0060 | BUCKET ASS'Y | 1 | SN: 36601- KIT-FLAG: _- SERIALNO: 36601- |
|||
| ? | 203-920-5170 | • BUCKET | 1 | SN: 36601- KIT-FLAG: _- SERIALNO: 36601- |
|||
| ? | 203-920-5130 | • • PLATE (WELDED) | 1 | SN: 36601- KIT-FLAG: _- SERIALNO: 36601- |
|||
| ? | 205-939-7120 | • • ADAPTER (WELDED) | 5 | SN: 36601- KIT-FLAG: _- SERIALNO: 36601- |
|||
| ? | 203-70-53132 | • • PLATE,L.H. (WELDED) | 1 | SN: 36601- KIT-FLAG: _- SERIALNO: 36601- |
|||
| ? | 203-70-53142 | • • PLATE,R.H. (WELDED) | 1 | SN: 36601- KIT-FLAG: _- SERIALNO: 36601- |
|||
| ? | 203-70-53220 | • • PLATE (WELDED) | 2 | SN: 36601- KIT-FLAG: _- SERIALNO: 36601- |
|||
| ? | 203-70-53210 | • • PLATE (WELDED) | 4 | SN: 36601- KIT-FLAG: _- SERIALNO: 36601- |
|||
| ? | 203-920-5160 | • • PLATE,CENTER (WELDED) | 1 | SN: 36601- KIT-FLAG: _- SERIALNO: 36601- |
|||
| ? | 205-70-19570 | • TOOTH | 5 | SN: 36601- KIT-FLAG: _- SERIALNO: 36601- |
|||
| ? | 09244-02496 | • PIN | 5 | SN: 36601- KIT-FLAG: _- SERIALNO: 36601- |
|||
| ? | 202-70-64250 | SPACER | 1 | SN: 36601- KIT-FLAG: _- SERIALNO: 36601- |
|||
| ? | 202-70-64240 | PLATE | 1 | SN: 36601- KIT-FLAG: _- SERIALNO: 36601- |
|||
| ? | 202-70-64210 | SPACER, 0.5MM | 4 | SN: 36601- KIT-FLAG: _- SERIALNO: 36601- |
|||
| ? | 202-70-64220 | SPACER, 1.0MM | 8 | SN: 36601- KIT-FLAG: _- SERIALNO: 36601- |
|||
| ? | 01010-51470 | BOLT | 4 | SN: 36601- KIT-FLAG: _- SERIALNO: 36601- |
|||
| ? | 01643-31445 | WASHER | 4 | SN: 36601- KIT-FLAG: _- SERIALNO: 36601- |
