| Номер на схеме | Каталожный номер | Название | Количество | Детали | |||
|---|---|---|---|---|---|---|---|
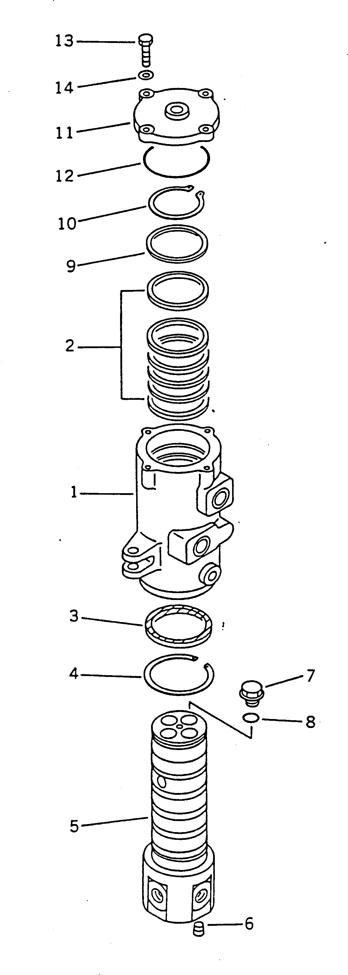
| ? | 703-08-33110 | SWIVEL JOINT ASS'Y | 1 | SN: 36601- KIT-FLAG: _- SERIALNO: 36601- |
|||
| ? | 703-08-91730 | • ROTOR | 1 | SN: 36601- KIT-FLAG: _- SERIALNO: 36601- |
|||
| ? | 703-08-95611 | • SEAL | 6 | SN: 36601- KIT-FLAG: _- SERIALNO: 36601- |
|||
| ? | 703-08-96510 | • SEAL,OIL | 1 | SN: 36601- KIT-FLAG: _- SERIALNO: 36601- |
|||
| ? | 04077-00100 | • RING,SNAP | 1 | SN: 36601- KIT-FLAG: _- SERIALNO: 36601- |
|||
| ? | 703-08-92740 | • SHAFT,SWIVEL | 1 | SN: 36601- KIT-FLAG: _- SERIALNO: 36601- |
|||
| ? | 07043-20108 | • PLUG | 1 | SN: 36601- KIT-FLAG: _- SERIALNO: 36601- |
|||
| ? | 703-08-98611 | • PLUG | 4 | SN: 36601- KIT-FLAG: _- SERIALNO: 36601- |
|||
| ? | 07002-12034 | • O-RING | 4 | SN: 36601- KIT-FLAG: _- SERIALNO: 36601- |
|||
| ? | 703-08-94510 | • RING | 1 | SN: 36601- KIT-FLAG: _- SERIALNO: 36601- |
|||
| ? | 04064-07525 | • RING,SNAP | 1 | SN: 36601- KIT-FLAG: _- SERIALNO: 36601- |
|||
| ? | 703-08-93510 | • COVER | 1 | SN: 36601- KIT-FLAG: _- SERIALNO: 36601- |
|||
| ? | 07000-02105 | • O-RING | 1 | SN: 36601- KIT-FLAG: _- SERIALNO: 36601- |
|||
| ? | 01010-50835 | • BOLT | 4 | SN: 36601- KIT-FLAG: _- SERIALNO: 36601- |
|||
| ? | 01643-30823 | • WASHER | 4 | SN: 36601- KIT-FLAG: _- SERIALNO: 36601- |
