| Номер на схеме | Каталожный номер | Название | Количество | Детали | |||
|---|---|---|---|---|---|---|---|
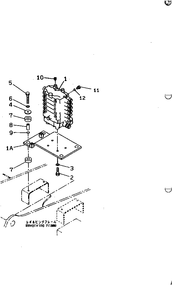
| ? | 723-36-11105 | CONTROL VALVE,(SEE FIG.Y1660-21A0) | 1 | SN: 50201-56999 KIT-FLAG: _- SERIALNO: 50201-56999 |
|||
| ? | (FOR 1-ACTUATER ATTACHMENT) (7-SPOOL) | SERIALNO: |
|||||
| ? | 723-37-11105 | CONTROL VALVE,(SEE FIG.Y1662-21A0) | 1 | SN: 50201-56999 KIT-FLAG: _- SERIALNO: 50201-56999 |
|||
| ? | (FOR 2-ACTUATER ATTACHMENT) (8-SPOOL) | SERIALNO: |
|||||
| ? | 723-38-11105 | CONTROL VALVE,(SEE FIG.Y1664-21A0) | 1 | SN: 50201-56999 KIT-FLAG: _- SERIALNO: 50201-56999 |
|||
| ? | 203-62-61172 | BRACKET | 1 | SN: 52401-56999 KIT-FLAG: _- SERIALNO: 52401-56999 |
|||
| ? | 01010-51640 | BOLT | 4 | SN: 52401-56999 KIT-FLAG: _- SERIALNO: 52401-56999 |
|||
| ? | 01643-31645 | WASHER | 4 | SN: 47703-@ KIT-FLAG: _- SERIALNO: 47703-@ |
|||
| ? | 203-62-61571 | PLATE | 4 | SN: 47703-@ KIT-FLAG: _- SERIALNO: 47703-@ |
|||
| ? | 01011-51600 | BOLT | 4 | SN: 47703-56999 KIT-FLAG: _- SERIALNO: 47703-56999 |
|||
| ? | 01643-31645 | WASHER | 4 | SN: 47703-@ KIT-FLAG: _- SERIALNO: 47703-@ |
|||
| ? | 203-54-21110 | CUSHION | 8 | SN: 47703-@ KIT-FLAG: _- SERIALNO: 47703-@ |
|||
| ? | 203-62-61581 | SPACER | 4 | SN: 52401-@ KIT-FLAG: _- SERIALNO: 52401-@ |
|||
| ? | 07000-03025 | O-RING | 4 | SN: 47703-@ KIT-FLAG: _- SERIALNO: 47703-@ |
|||
| ? | 07049-01215 | PLUG | 1 | SN: 47703-@ KIT-FLAG: _- SERIALNO: 47703-@ |
|||
| ? | 07040-11812 | PLUG | 1 | SN: 47703-@ KIT-FLAG: _- SERIALNO: 47703-@ |
|||
| ? | 07002-11823 | O-RING | 1 | SN: 47703-@ KIT-FLAG: _- SERIALNO: 47703-@ |
