| Номер на схеме | Каталожный номер | Название | Количество | Детали | |||
|---|---|---|---|---|---|---|---|
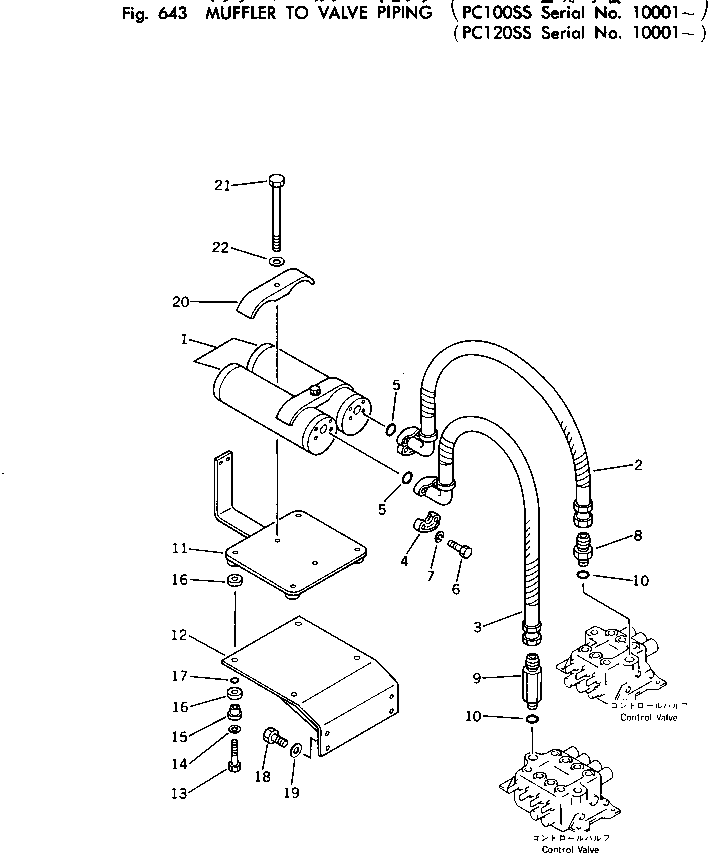
| ? | 206-62-41450 | MUFFLER | 2 | SN: 10001- KIT-FLAG: _- SERIALNO: 10001- |
|||
| ? | 203-62-32220 | HOSE | 1 | SN: 10001- KIT-FLAG: _- SERIALNO: 10001- |
|||
| ? | 203-62-32230 | HOSE | 1 | SN: 10001- KIT-FLAG: _- SERIALNO: 10001- |
|||
| ? | 07371-21049 | FLANGE | 4 | SN: 10001- KIT-FLAG: _- SERIALNO: 10001- |
|||
| ? | 07000-13032 | O-RING | 2 | SN: 10001- KIT-FLAG: _- SERIALNO: 10001- |
|||
| ? | 01010-31035 | BOLT | 8 | SN: 10001- KIT-FLAG: _- SERIALNO: 10001- |
|||
| ? | 01602-01030 | WASHER | 8 | SN: 10001- KIT-FLAG: _- SERIALNO: 10001- |
|||
| ? | 07230-11034 | UNION | 1 | SN: 10001- KIT-FLAG: _- SERIALNO: 10001- |
|||
| ? | 202-62-11251 | NIPPLE | 1 | SN: 10001- KIT-FLAG: _- SERIALNO: 10001- |
|||
| ? | 07002-13334 | O-RING | 2 | SN: 10001- KIT-FLAG: _- SERIALNO: 10001- |
|||
| ? | 203-62-32250 | BRACKET | 1 | SN: 10001- KIT-FLAG: _- SERIALNO: 10001- |
|||
| ? | 206-62-41410 | BRACKET | 1 | SN: 10001- KIT-FLAG: _- SERIALNO: 10001- |
|||
| ? | 01010-31050 | BOLT | 4 | SN: 10001- KIT-FLAG: _- SERIALNO: 10001- |
|||
| ? | 01643-31032 | WASHER | 4 | SN: 10001- KIT-FLAG: _- SERIALNO: 10001- |
|||
| ? | 206-62-41440 | COLLAR | 4 | SN: 10001- KIT-FLAG: _- SERIALNO: 10001- |
|||
| ? | 206-62-41430 | CUSHION | 8 | SN: 10001- KIT-FLAG: _- SERIALNO: 10001- |
|||
| ? | 07000-02020 | O-RING | 4 | SN: 10001- KIT-FLAG: _- SERIALNO: 10001- |
|||
| ? | 01010-31230 | BOLT | 4 | SN: 10001- KIT-FLAG: _- SERIALNO: 10001- |
|||
| ? | 01643-31232 | WASHER | 4 | SN: 10001- KIT-FLAG: _- SERIALNO: 10001- |
|||
| ? | 206-62-41460 | CLAMP | 2 | SN: 10001- KIT-FLAG: _- SERIALNO: 10001- |
|||
| ? | 01011-31250 | BOLT | 2 | SN: 10001- KIT-FLAG: _- SERIALNO: 10001- |
|||
| ? | 01643-31232 | WASHER | 2 | SN: 10001- KIT-FLAG: _- SERIALNO: 10001- |
