| Номер на схеме | Каталожный номер | Название | Количество | Детали | |||
|---|---|---|---|---|---|---|---|
| ? | (20Y-54-00317) | OPERATOR'S CAB ASS'Y | 1 | SN: 41401-@ |
|||
| ? | (□20Y-54-00316) | OPERATOR'S CAB ASS'Y | 1 | SN: 41028-41400 |
|||
| ? | (▩20Y-54-00315) | OPERATOR'S CAB ASS'Y | 1 | SN: 40658-41027 |
|||
| ? | (20Y-54-00316{20Y-54-35753)} | ||||||
| ? | (□20Y-54-00314) | OPERATOR'S CAB ASS'Y | 1 | SN: 40571-40657 |
|||
| ? | (□20Y-54-00313) | OPERATOR'S CAB ASS'Y | 1 | SN: 40430-40570 |
|||
| ? | (□20Y-54-00312) | OPERATOR'S CAB ASS'Y | 1 | SN: 40403-40429 |
|||
| ? | (□20Y-54-00311) | OPERATOR'S CAB ASS'Y | 1 | SN: 40339-40402 |
|||
| ? | (□20Y-54-00310) | OPERATOR'S CAB ASS'Y | 1 | SN: 40001-40338 |
|||
| ? | (20Y-54-00327) | OPERATOR'S CAB ASS'Y | 1 | SN: 41401-@ |
|||
| ? | (□20Y-54-00326) | OPERATOR'S CAB ASS'Y | 1 | SN: 41028-41400 |
|||
| ? | (▩20Y-54-00325) | OPERATOR'S CAB ASS'Y | 1 | SN: 40658-41027 |
|||
| ? | (20Y-54-00326{20Y-54-35753)} | ||||||
| ? | (□20Y-54-00324) | OPERATOR'S CAB ASS'Y | 1 | SN: 40571-40657 |
|||
| ? | (□20Y-54-00323) | OPERATOR'S CAB ASS'Y | 1 | SN: 40430-40570 |
|||
| ? | (□20Y-54-00322) | OPERATOR'S CAB ASS'Y | 1 | SN: 40403-40429 |
|||
| ? | (□20Y-54-00321) | OPERATOR'S CAB ASS'Y | 1 | SN: 40339-40402 |
|||
| ? | (□20Y-54-00320) | OPERATOR'S CAB ASS'Y | 1 | SN: 40001-40338 |
|||
| ? | (20Y-54-00514) | • DOOR ASS'Y | 1 | SN: 41028-@ |
|||
| ? | (▩20Y-54-00513) | • DOOR ASS'Y | 1 | SN: 40571-41027 |
|||
| ? | (20Y-54-00514{20Y-54-35753)} | ||||||
| ? | (□20Y-54-00512) | • DOOR ASS'Y | 1 | SN: 40430-40570 |
|||
| ? | (□20Y-54-00511) | • DOOR ASS'Y | 1 | SN: 40403-40429 |
|||
| ? | (□20Y-54-00510) | • DOOR ASS'Y | 1 | SN: 40001-40402 |
|||
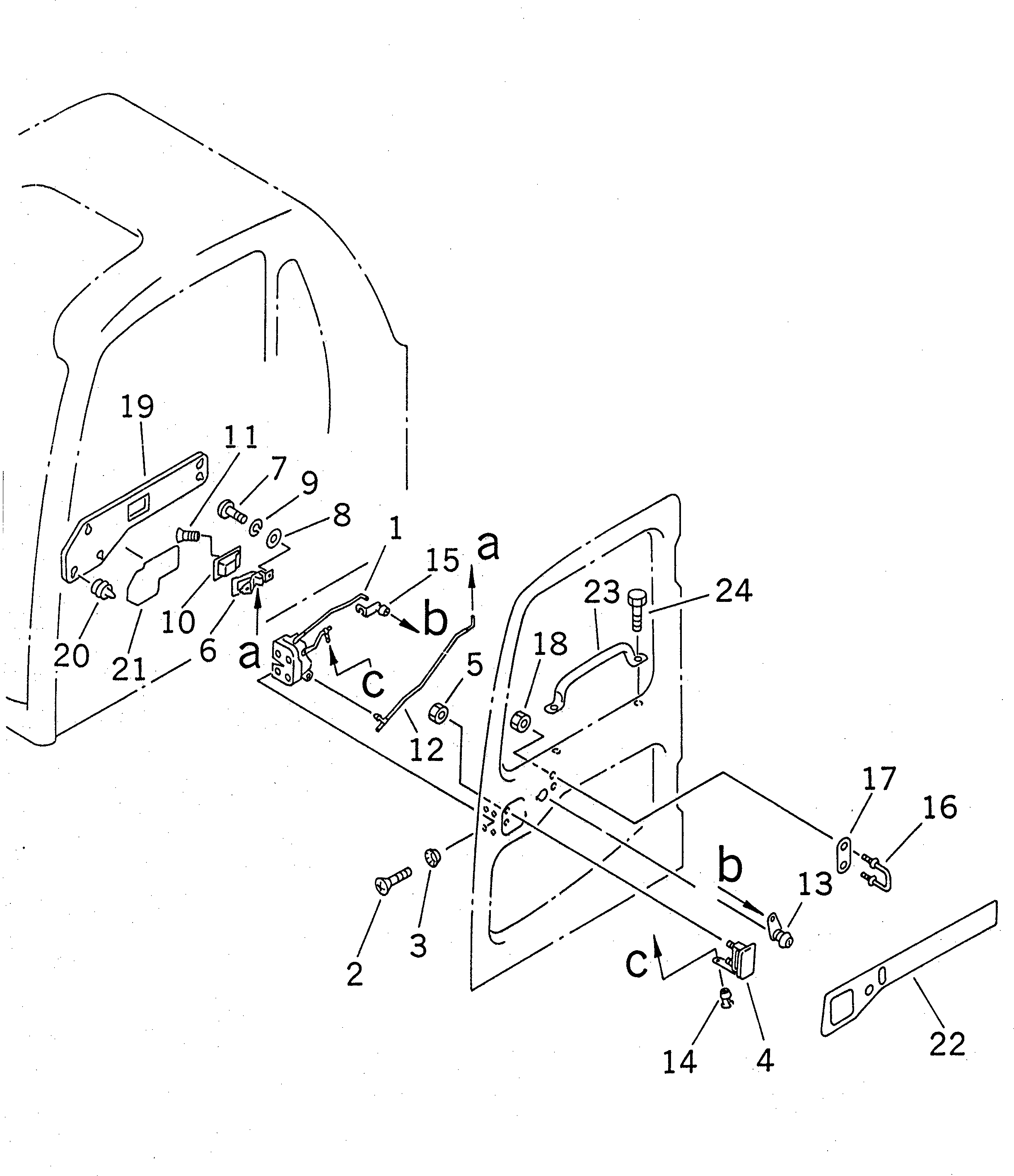
| ? | 20Y-54-35941 | • • LATCH | 1 | SN: 40430-@ |
|||
| ? | □20Y-54-35940 | • • LATCH,DOOR | 1 | SN: 40001-40429 |
|||
| ? | 01240-00616 | • • SCREW | 3 | SN: 40001-@ |
|||
| ? | 195-Z11-1690 | • • WASHER | 3 | SN: 40001-@ |
|||
| ? | 20Y-54-35932 | • • HANDLE ASS'Y | 1 | SN: 40571-@ |
|||
| ? | □20Y-54-35931 | • • HANDLE ASS'Y | 1 | SN: 40001-40570 |
|||
| ? | 01584-00605 | • • NUT | 2 | SN: 40001-@ |
|||
| ? | 20Y-54-35910 | • • HANDLE | 1 | SN: 40001-@ |
|||
| ? | 01220-40512 | • • SCREW | 2 | SN: 40001-@ |
|||
| ? | 01641-20508 | • • WASHER | 2 | SN: 40001-@ |
|||
| ? | 01601-20513 | • • WASHER | 2 | SN: 40001-@ |
|||
| ? | 20Y-54-35920 | • • COVER | 1 | SN: 40001-@ |
|||
| ? | 20Y-54-35880 | • • SCREW | 1 | SN: 40001-@ |
|||
| ? | 20Y-54-35951 | • • ROD ASS'Y | 1 | SN: 40001-@ |
|||
| ? | 20Y-54-35890 | • • LOCK ASS'Y | 1 | SN: 40001-@ |
|||
| ? | 14X-911-1740 | • • SNAP,ROD | 1 | SN: 40001-@ |
|||
| ? | 205-54-71840 | • • SNAP | 1 | SN: 40001-@ |
|||
| ? | 20Y-54-35961 | • • STRIKER | 1 | SN: 40001-@ |
|||
| ? | 20Y-54-35710 | • • PLATE | 1 | SN: 40001-@ |
|||
| ? | 01584-01008 | • • NUT | 2 | SN: 40001-@ |
|||
| ? | 20Y-54-35760 | • • COVER | 1 | SN: 40001-@ |
|||
| ? | 20Y-54-14560 | • • CLIP ASS'Y | 5 | SN: 40001-@ |
|||
| ? | 20Y-54-35771 | • • SEAL | 1 | SN: 40001-@ |
|||
| ? | 20Y-54-35753 | • • PLATE | 1 | SN: 40430-41027 |
|||
| ? | □20Y-54-35752 | • • PLATE | 1 | SN: 40339-40429 |
|||
| ? | □20Y-54-35751 | • • PLATE | 1 | SN: 40001-40338 |
|||
| ? | 20Y-54-35690 | • • GRIP | 1 | SN: 40001-@ |
|||
| ? | 01240-00820 | • • SCREW | 2 | SN: 40001-@ |
