| Номер на схеме | Каталожный номер | Название | Количество | Детали | |||
|---|---|---|---|---|---|---|---|
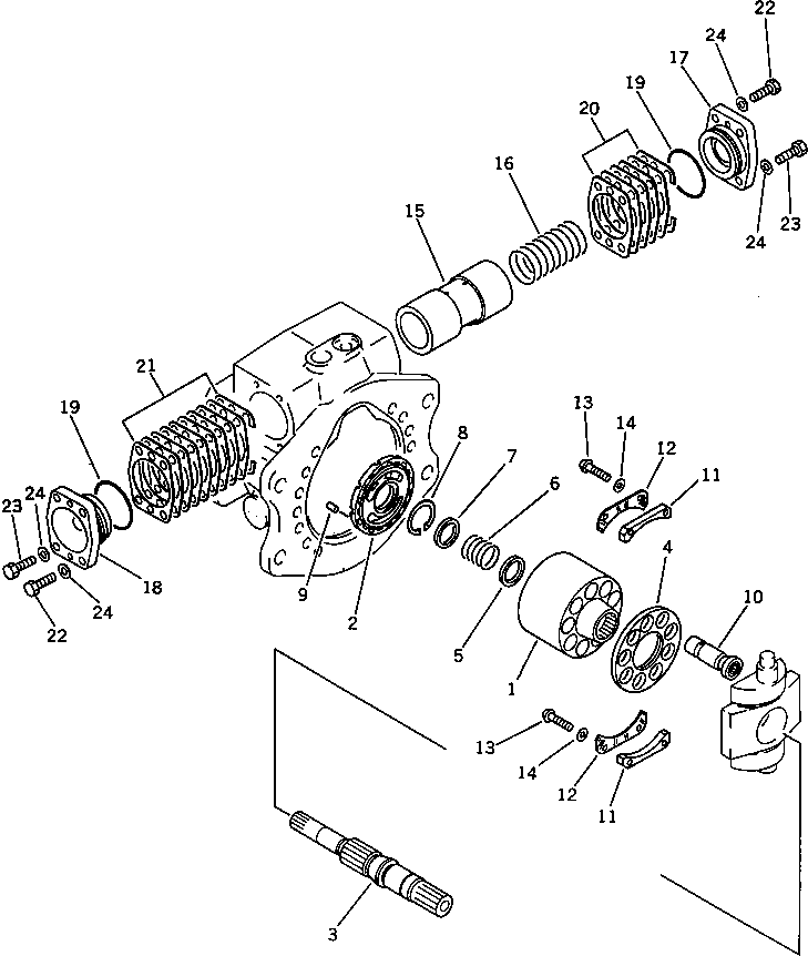
| ? | (708-23-01012) | PUMP ASS'Y,(HPV55+55) | 1 | SN: 22269- KIT-FLAG: _- SERIALNO: 22269- |
|||
| ? | (□708-23-01011) | PUMP ASS'Y,(HPV55+55) | 1 | SN: ..-22268 KIT-FLAG: _- SERIALNO: ..-22268 |
|||
| ? | (□708-23-01010) | PUMP ASS'Y,(HPV55+55) | 1 | SN: 20811-.. KIT-FLAG: _- SERIALNO: 20811-.. |
|||
| ? | (□708-23-10101) | PUMP ASS'Y,(HPV55+55) | 1 | SN: 18001-20810 KIT-FLAG: _- SERIALNO: 18001-20810 |
|||
| ? | THESE ASSEMBLIES CONSIST OF ALL PARTS SHOWN IN FIGS.6001 TO 6021. | SERIALNO: |
|||||
| ? | (708-23-11101) | • PUMP SUB ASS'Y | 1 | SN: .- KIT-FLAG: _- SERIALNO: .- |
|||
| ? | (□708-23-11100) | • PUMP SUB ASS'Y | 1 | SN: 18001-. KIT-FLAG: _- SERIALNO: 18001-. |
|||
| ? | THESE ASSEMBLIES CONSIST OF ALL PARTS SHOWN IN FIGS.6002 TO 6006. | SERIALNO: |
|||||
| ? | (★708-23-00010) | • • BLOCK ASS'Y | 1 | SN: .- KIT-FLAG: _- SERIALNO: .- |
|||
| ? | (★708-23-00130) | • • BLOCK ASS'Y | 1 | SN: 18001-. KIT-FLAG: _- SERIALNO: 18001-. |
|||
| ? | ☆ | • • • CYLINDER BLOCK | 1 | SN: .- KIT-FLAG: _- SERIALNO: .- |
|||
| ? | ☆ | • • • CYLINDER BLOCK | 1 | SN: 18001-. KIT-FLAG: _- SERIALNO: 18001-. |
|||
| ? | ☆ | • • • PLATE,VALVE | 1 | SN: 18001- KIT-FLAG: _- SERIALNO: 18001- |
|||
| ? | (★708-23-12711) | • • SHAFT,FRONT | 1 | SN: .- KIT-FLAG: _- SERIALNO: .- |
|||
| ? | (★708-23-12710) | • • SHAFT,FRONT | 1 | SN: 18001-. KIT-FLAG: _- SERIALNO: 18001-. |
|||
| ? | (★708-23-13342) | • • RETAINER,SHOE | 1 | SN: .- KIT-FLAG: _- SERIALNO: .- |
|||
| ? | (★708-23-13341) | • • RETAINER,SHOE | 1 | SN: 18001-. KIT-FLAG: _- SERIALNO: 18001-. |
|||
| ? | (★708-23-13130) | • • WASHER | 1 | SN: 18001- KIT-FLAG: _- SERIALNO: 18001- |
|||
| ? | (★708-23-13140) | • • SPRING | 1 | SN: 18001- KIT-FLAG: _- SERIALNO: 18001- |
|||
| ? | (★708-23-13120) | • • WASHER | 1 | SN: 18001- KIT-FLAG: _- SERIALNO: 18001- |
|||
| ? | (★04065-03815) | • • RING,SNAP | 1 | SN: 18001- KIT-FLAG: _- SERIALNO: 18001- |
|||
| ? | (★720-68-19610) | • • PIN | 1 | SN: 18001- KIT-FLAG: _- SERIALNO: 18001- |
|||
| ? | (★708-23-13311) | • • PISTON ASS'Y | 9 | SN: .- KIT-FLAG: _- SERIALNO: .- |
|||
| ? | (★708-23-13310) | • • PISTON ASS'Y | 9 | SN: 18001-. KIT-FLAG: _- SERIALNO: 18001-. |
|||
| ? | (★708-23-05041) | • • SPACER KIT | 2 | SN: .- KIT-FLAG: _- SERIALNO: .- |
|||
| ? | (★708-23-05040) | • • SPACER KIT | 2 | SN: 18001-. KIT-FLAG: _- SERIALNO: 18001-. |
|||
| ? | ☆ | • • • SPACER | 2 | SN: .- KIT-FLAG: _- SERIALNO: .- |
|||
| ? | ☆ | • • • SPACER | 2 | SN: 18001-. KIT-FLAG: _- SERIALNO: 18001-. |
|||
| ? | ☆ | • • • SPACER | 2 | SN: .- KIT-FLAG: _- SERIALNO: .- |
|||
| ? | ☆ | • • • SPACER | 2 | SN: 18001-. KIT-FLAG: _- SERIALNO: 18001-. |
|||
| ? | ☆ | • • • SPACER | 1 | SN: .- KIT-FLAG: _- SERIALNO: .- |
|||
| ? | ☆ | • • • SPACER | 1 | SN: 18001-. KIT-FLAG: _- SERIALNO: 18001-. |
|||
| ? | (★708-23-13431) | • • RETAINER | 2 | SN: 18001- KIT-FLAG: _- SERIALNO: 18001- |
|||
| ? | (★708-23-13460) | • • SCREW | 4 | SN: 18001- KIT-FLAG: _- SERIALNO: 18001- |
|||
| ? | (★01643-30623) | • • WASHER | 4 | SN: 18001- KIT-FLAG: _- SERIALNO: 18001- |
|||
| ? | (★708-23-14110) | • • PISTON | 1 | SN: 18001- KIT-FLAG: _- SERIALNO: 18001- |
|||
| ? | 708-23-14130 | • • SPRING | 1 | SN: 18001- KIT-FLAG: _- SERIALNO: 18001- |
|||
| ? | (★708-23-14140) | • • CAP | 1 | SN: 18001- KIT-FLAG: _- SERIALNO: 18001- |
|||
| ? | (★708-23-14150) | • • CAP | 1 | SN: 18001- KIT-FLAG: _- SERIALNO: 18001- |
|||
| ? | 07000-02055 | • • O-RING | 1 | SN: 18001- KIT-FLAG: _- SERIALNO: 18001- |
|||
| ? | (★708-23-05080) | • • SHIM KIT | 1 | SN: 18001- KIT-FLAG: _- SERIALNO: 18001- |
|||
| ? | ☆ | • • • SHIM | 2 | SN: 18001- KIT-FLAG: _- SERIALNO: 18001- |
|||
| ? | ☆ | • • • SHIM | 2 | SN: 18001- KIT-FLAG: _- SERIALNO: 18001- |
|||
| ? | ☆ | • • • SHIM | 2 | SN: 18001- KIT-FLAG: _- SERIALNO: 18001- |
|||
| ? | ☆ | • • • SHIM | 2 | SN: 18001- KIT-FLAG: _- SERIALNO: 18001- |
|||
| ? | (★708-23-05090) | • • SHIM KIT | 1 | SN: 18001- KIT-FLAG: _- SERIALNO: 18001- |
|||
| ? | ☆ | • • • SHIM | 2 | SN: 18001- KIT-FLAG: _- SERIALNO: 18001- |
|||
| ? | ☆ | • • • SHIM | 2 | SN: 18001- KIT-FLAG: _- SERIALNO: 18001- |
|||
| ? | ☆ | • • • SHIM | 2 | SN: 18001- KIT-FLAG: _- SERIALNO: 18001- |
|||
| ? | ☆ | • • • SHIM | 6 | SN: 18001- KIT-FLAG: _- SERIALNO: 18001- |
|||
| ? | 01010-50840 | • • BOLT | 4 | SN: 18001- KIT-FLAG: _- SERIALNO: 18001- |
|||
| ? | 01010-30830 | • • BOLT | 4 | SN: 18001- KIT-FLAG: _- SERIALNO: 18001- |
|||
| ? | 01643-30823 | • • WASHER | 8 | SN: 18001- KIT-FLAG: _- SERIALNO: 18001- |
