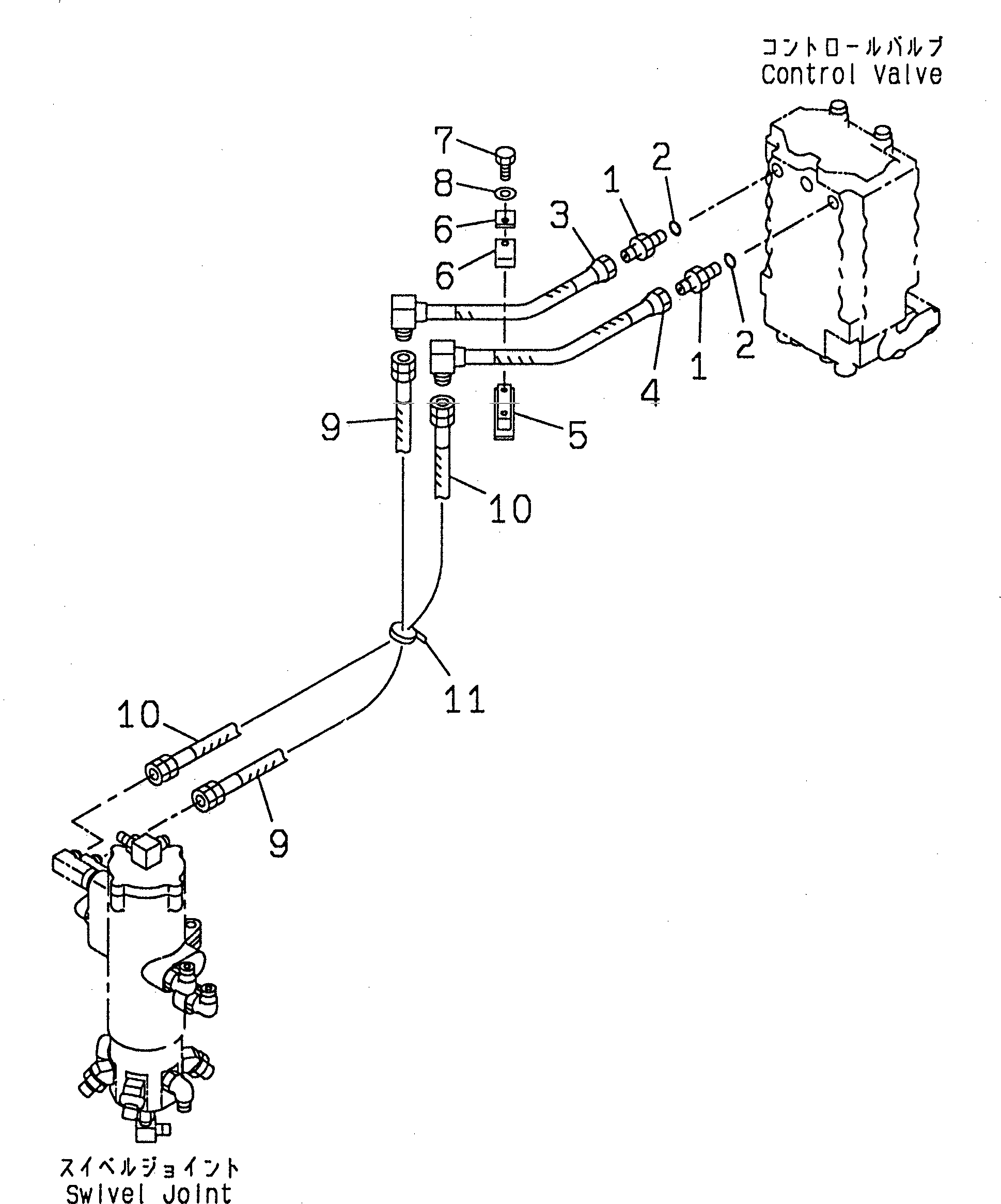
| Номер на схеме | Каталожный номер | Название | Количество | Детали | |||
|---|---|---|---|---|---|---|---|
| ? | 07230-20522 | UNION | 2 | SN: 40001-@ |
|||
| ? | 07002-12434 | O-RING | 2 | SN: 40001-@ |
|||
| ? | 203-910-6110 | TUBE | 1 | SN: 40001-44999 |
|||
| ? | 203-910-6120 | TUBE | 1 | SN: 40001-44999 |
|||
| ? | 203-910-6130 | PLATE | 1 | SN: 40001-44999 |
|||
| ? | 202-966-2910 | CLIP | 2 | SN: 40001-@ |
|||
| ? | 01010-51025 | BOLT | 2 | SN: 40001-44999 |
|||
| ? | 01643-31032 | WASHER | 2 | SN: 40001-@ |
|||
| ? | 07096-00408 | HOSE | 1 | SN: 40001-@ |
|||
| ? | 07096-00409 | HOSE | 1 | SN: 40001-@ |
|||
| ? | 08034-00823 | BAND | 1 | SN: 40001-44999 |
