| Номер на схеме | Каталожный номер | Название | Количество | Детали | |||
|---|---|---|---|---|---|---|---|
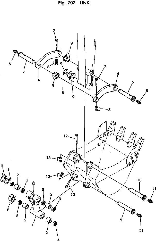
| ? | 203-70-00032 | LINK ASS'Y | 1 | SN: 10001- KIT-FLAG: _- SERIALNO: 10001- |
|||
| ? | ☆ | • LINK | 1 | SN: 10001- KIT-FLAG: _- SERIALNO: 10001- |
|||
| ? | 203-70-33150 | • BUSHING | 4 | SN: 10001- KIT-FLAG: _- SERIALNO: 10001- |
|||
| ? | 203-70-33210 | SEAL | 6 | SN: 10001- KIT-FLAG: _- SERIALNO: 10001- |
|||
| ? | 203-70-21310 | LINK | 2 | SN: 10001- KIT-FLAG: _- SERIALNO: 10001- |
|||
| ? | 202-70-11550 | PIN | 2 | SN: 10001- KIT-FLAG: _- SERIALNO: 10001- |
|||
| ? | 07020-00000 | FITTING | 2 | SN: 10001- KIT-FLAG: _- SERIALNO: 10001- |
|||
| ? | 01019-01620 | BOLT | 2 | SN: 10001- KIT-FLAG: _- SERIALNO: 10001- |
|||
| ? | 01580-01613 | NUT | 4 | SN: 10001- KIT-FLAG: _- SERIALNO: 10001- |
|||
| ? | 203-70-34260 | SPACER, 0.5MM | 1 | SN: 10001- KIT-FLAG: _- SERIALNO: 10001- |
|||
| ? | 203-70-24150 | SPACER, 1.0MM | 5 | SN: 10001- KIT-FLAG: _- SERIALNO: 10001- |
|||
| ? | 203-70-24160 | SPACER, 2.0MM | 5 | SN: 10001- KIT-FLAG: _- SERIALNO: 10001- |
|||
| ? | 202-70-11550 | PIN | 2 | SN: 10001- KIT-FLAG: _- SERIALNO: 10001- |
|||
| ? | 07020-00000 | FITTING | 2 | SN: 10001- KIT-FLAG: _- SERIALNO: 10001- |
|||
| ? | 01011-31640 | BOLT | 2 | SN: 10001- KIT-FLAG: _- SERIALNO: 10001- |
|||
| ? | 01580-01613 | NUT | 4 | SN: 10001- KIT-FLAG: _- SERIALNO: 10001- |
|||
| ? | 203-70-34260 | SPACER, 0.5MM | 1 | SN: 10001- KIT-FLAG: _- SERIALNO: 10001- |
