| Номер на схеме | Каталожный номер | Название | Количество | Детали | |||
|---|---|---|---|---|---|---|---|
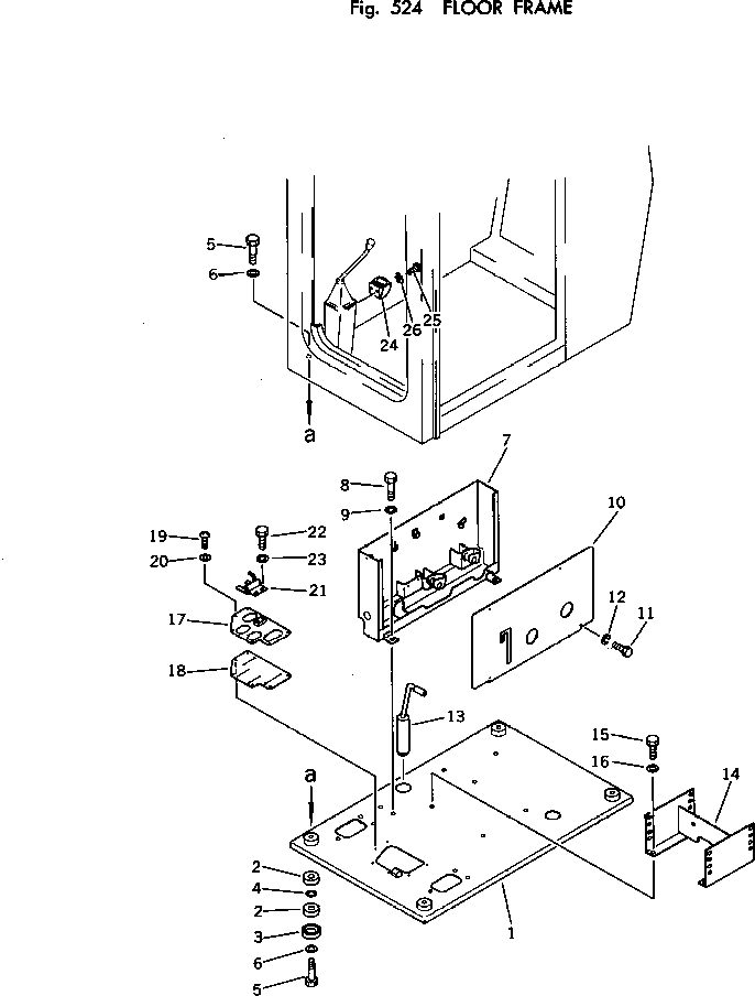
| ? | 202-54-48120 | FRAME | 1 | SN: 10001- KIT-FLAG: _- SERIALNO: 10001- |
|||
| ? | 203-54-21110 | CUSHION | 8 | SN: 10001- KIT-FLAG: _- SERIALNO: 10001- |
|||
| ? | 201-54-21860 | COLLAR | 4 | SN: 10001- KIT-FLAG: _- SERIALNO: 10001- |
|||
| ? | 07000-03025 | O-RING | 4 | SN: 10001- KIT-FLAG: _- SERIALNO: 10001- |
|||
| ? | 01010-51675 | BOLT | 8 | SN: 10001- KIT-FLAG: _- SERIALNO: 10001- |
|||
| ? | 01643-31645 | WASHER | 8 | SN: 10001- KIT-FLAG: _- SERIALNO: 10001- |
|||
| ? | 202-54-48160 | COVER | 1 | SN: 10001- KIT-FLAG: _- SERIALNO: 10001- |
|||
| ? | 01010-51025 | BOLT | 4 | SN: 10001- KIT-FLAG: _- SERIALNO: 10001- |
|||
| ? | 01643-31032 | WASHER | 4 | SN: 10001- KIT-FLAG: _- SERIALNO: 10001- |
|||
| ? | 202-54-48170 | COVER | 1 | SN: 10001- KIT-FLAG: _- SERIALNO: 10001- |
|||
| ? | 01010-50816 | BOLT | 4 | SN: 10001- KIT-FLAG: _- SERIALNO: 10001- |
|||
| ? | 01602-20825 | WASHER | 4 | SN: 10001- KIT-FLAG: _- SERIALNO: 10001- |
|||
| ? | 202-54-48150 | PIN | 1 | SN: 10001- KIT-FLAG: _- SERIALNO: 10001- |
|||
| ? | 203-54-31490 | BRACKET | 1 | SN: 10001- KIT-FLAG: _- SERIALNO: 10001- |
|||
| ? | 01010-51230 | BOLT | 4 | SN: 10001- KIT-FLAG: _- SERIALNO: 10001- |
|||
| ? | 01643-31232 | WASHER | 4 | SN: 10001- KIT-FLAG: _- SERIALNO: 10001- |
|||
| ? | 202-54-48131 | PLATE | 1 | SN: 10001- KIT-FLAG: _- SERIALNO: 10001- |
|||
| ? | 202-54-48141 | COVER | 1 | SN: 10001- KIT-FLAG: _- SERIALNO: 10001- |
|||
| ? | 01220-40616 | SCREW | 6 | SN: 10001- KIT-FLAG: _- SERIALNO: 10001- |
|||
| ? | 01643-30623 | WASHER | 6 | SN: 10001- KIT-FLAG: _- SERIALNO: 10001- |
|||
| ? | 202-43-28150 | HINGE | 1 | SN: 10001- KIT-FLAG: _- SERIALNO: 10001- |
|||
| ? | 01010-51016 | BOLT | 2 | SN: 10001- KIT-FLAG: _- SERIALNO: 10001- |
|||
| ? | 01643-31032 | WASHER | 2 | SN: 10001- KIT-FLAG: _- SERIALNO: 10001- |
|||
| ? | 201-54-23220 | ASHTRAY | 1 | SN: 10001- KIT-FLAG: _- SERIALNO: 10001- |
|||
| ? | 01370-00410 | SCREW | 3 | SN: 10001- KIT-FLAG: _- SERIALNO: 10001- |
|||
| ? | 01611-04045 | WASHER | 3 | SN: 10001- KIT-FLAG: _- SERIALNO: 10001- |
