| Номер на схеме | Каталожный номер | Название | Количество | Детали | |||
|---|---|---|---|---|---|---|---|
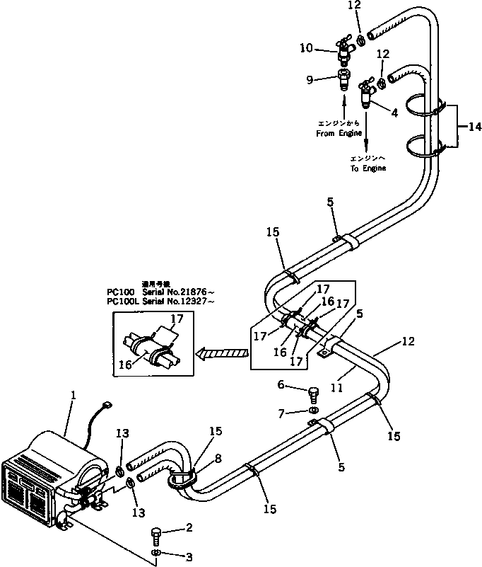
| ? | 205-977-K110 | HEATER ASS'Y | 1 | SN: 12032- |
|||
| ? | □205-977-7110 | HEATER ASS'Y | 1 | SN: 12001-12031 |
|||
| ? | 01010-51025 | BOLT | 4 | SN: 12001- |
|||
| ? | 01602-21030 | WASHER,SPRING | 4 | SN: 12001- |
|||
| ? | 203-944-4130 | VALVE | 1 | SN: 12011- |
|||
| ? | □201-54-24130 | VALVE | 1 | SN: 12001-12010 |
|||
| ? | 176-911-4170 | CLIP | 4 | SN: 12001- |
|||
| ? | 01010-51020 | BOLT | 4 | SN: 12001- |
|||
| ? | 01602-21030 | WASHER,SPRING | 4 | SN: 12001- |
|||
| ? | 176-911-4160 | GROMMET | 1 | SN: 12001- |
|||
| ? | 20R-54-19150 | JOINT | 1 | SN: 12001- |
|||
| ? | 20R-54-19111 | VALVE | 1 | SN: 12001- |
|||
| ? | 09483-00432 | HOSE | 1 | SN: 12011- |
|||
| ? | 09483-00485 | HOSE | 1 | SN: 12001-12010 |
|||
| ? | 09483-00430 | HOSE | 1 | SN: 12011- |
|||
| ? | 09483-00433 | HOSE | 1 | SN: 12001-12010 |
|||
| ? | 07281-00259 | CLAMP | 4 | SN: 12001- |
|||
| ? | 08034-00536 | BAND | 2 | SN: 12001- |
|||
| ? | 08034-00519 | BAND | 4 | SN: 12001- |
|||
| ? | 203-62-41150 | COVER | 1 | SN: 12032- |
|||
| ? | ▩203-04-31230 | COVER | 2 | SN: 12001-12031 |
|||
| ? | (203-62-41150{08034-00519(2))} | ||||||
| ? | 08034-00519 | BAND | 2 | SN: 12032- |
|||
| ? | 08034-00519 | BAND | 4 | SN: 12001-12031 |
