| Номер на схеме | Каталожный номер | Название | Количество | Детали | |||
|---|---|---|---|---|---|---|---|
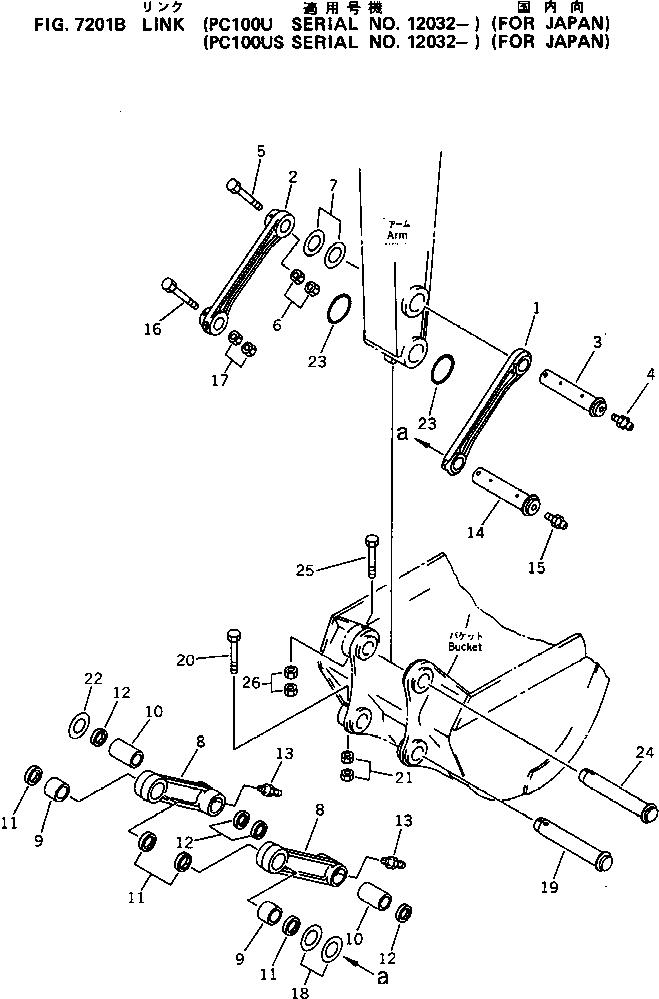
| ? | 202-70-64120 | LINK,L.H. | 1 | SN: 12032- |
|||
| ? | 202-70-64130 | LINK,R.H. | 1 | SN: 12032- |
|||
| ? | 202-70-64150 | PIN | 1 | SN: 12032- |
|||
| ? | 07020-00000 | FITTING,GREASE | 1 | SN: 12001- |
|||
| ? | 01011-51620 | BOLT | 1 | SN: 12001- |
|||
| ? | 01580-11613 | NUT | 2 | SN: 12001- |
|||
| ? | 203-70-24150 | SPACER ? 1.0MM | 1 | SN: 12001- |
|||
| ? | 203-70-24160 | SPACER ? 2.0MM | 1 | SN: 12001- |
|||
| ? | 203-70-00540 | LINK ASS'Y | 2 | SN: 12032- |
|||
| ? | ☆ | • LINK | 1 | SN: 12032- |
|||
| ? | 203-70-44331 | • BUSHING | 1 | SN: 12020- |
|||
| ? | 202-70-64230 | • BUSHING | 1 | SN: 12032- |
|||
| ? | 07145-00065 | SEAL,DUST | 4 | SN: 12032- |
|||
| ? | 07145-00060 | SEAL,DUST | 4 | SN: 12032- |
|||
| ? | 07020-00000 | FITTING,GREASE | 2 | SN: 12032- |
|||
| ? | 202-70-64160 | PIN | 1 | SN: 12032- |
|||
| ? | 07020-00000 | FITTING,GREASE | 1 | SN: 12001- |
|||
| ? | 01011-51620 | BOLT | 1 | SN: 12032- |
|||
| ? | 01580-11613 | NUT | 2 | SN: 12001- |
|||
| ? | 202-70-48460 | SPACER ? 1.0MM | 2 | SN: 12001- |
|||
| ? | 203-70-44380 | PIN | 1 | SN: 12032- |
|||
| ? | 01011-51640 | BOLT | 1 | SN: 12001- |
|||
| ? | 01580-11613 | NUT | 2 | SN: 12001- |
|||
| ? | 203-70-24150 | SPACER ? 1.0MM | 1 | SN: 12001- |
|||
| ? | 203-70-44470 | O-RING | 2 | SN: 12001- |
|||
| ? | 203-70-44380 | PIN | 1 | SN: 12001- |
|||
| ? | 01011-51670 | BOLT | 1 | SN: 12001- |
|||
| ? | 01580-11613 | NUT | 2 | SN: 12001- |
