k-part
Номер на схеме Каталожный номер Название Количество Детали
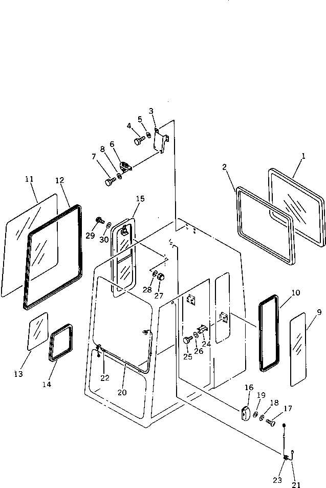
? (203-54-00304) OPERATOR'S CAB ASS'Y 1
SN: 20825-21554
? (□203-54-00303) OPERATOR'S CAB ASS'Y 1
SN: 20400-20824
? (203-54-00302) OPERATOR'S CAB ASS'Y 1
SN: 20000-20399
? (□203-54-00301) OPERATOR'S CAB ASS'Y 1
SN: 18253-19999
? (□203-54-00300) OPERATOR'S CAB ASS'Y 1
SN: 18001-18252
? THESE ASSEMBLIES CONSIST OF ALL PARTS SHOWN IN FIGS.5201 TO 5211.
? 203-54-43710 • GLASS 1
SN: 18001-21554
? 203-54-43660 • STRIP,WEATHER 1
SN: 18001-21554
? 203-54-43680 • BRACKET 1
SN: 18001-21554
? 01010-50816 • BOLT 4
SN: 18001-@
? 01643-30823 • WASHER 4
SN: 18001-@
? 205-54-63310 • LOCK ASS'Y 1
SN: 18001-@
? 01010-50820 • BOLT 2
SN: 18001-@
? 01643-30823 • WASHER 2
SN: 18001-@
? 205-54-71241 • GLASS 1
SN: 18001-@
? 203-54-45470 • STRIP,WEATHER 1
SN: 20400-21554
? 205-54-71531 • STRIP,WEATHER 1
SN: 18001-20399
? 205-54-71231 • GLASS 1
SN: 18001-@
? 205-54-71541 • STRIP,WEATHER 1
SN: 18001-@
? 205-54-72671 • GLASS 1
SN: 18001-@
? 205-54-72661 • STRIP,WEATHER 1
SN: 18001-@
? 203-54-43300 • SASH ASS'Y 1
SN: 18001-@
? 08141-02400 • LAMP 1
SN: 18001-@
? 08116-02410 • • BULB ? 10W 1
SN: 18001-@
? 01220-40412 • SCREW 2
SN: 18001-@
? 01601-20410 • WASHER,SPRING 2
SN: 18001-@
? 01641-20405 • WASHER 2
SN: 18001-@
? 205-06-71540 • WIRE 1
SN: 18001-@
? 205-06-71550 • WIRE 1
SN: 18001-@
? 205-54-72710 • CLIP 4
SN: 18001-@
? 08037-01008 • GROMMET 7
SN: 18001-@
? 22D-62-14560 • CLAMP 4
SN: 18001-@
? 01010-50816 • BOLT 8
SN: 18001-21554
? 01643-30823 • WASHER 8
SN: 18001-21554
? 205-54-71490 • NUT 4
SN: 18001-21554
? 01602-20513 • WASHER,SPRING 4
SN: 18001-21554
? 01220-40516 • SCREW 4
SN: 18001-21554
? 01602-20513 • WASHER,SPRING 4
SN: 18001-21554

Excavators Komatsu / PC100S-3 S/N 18001-UP(pc100s-r) / OPERATOR