| Номер на схеме | Каталожный номер | Название | Количество | Детали | |||
|---|---|---|---|---|---|---|---|
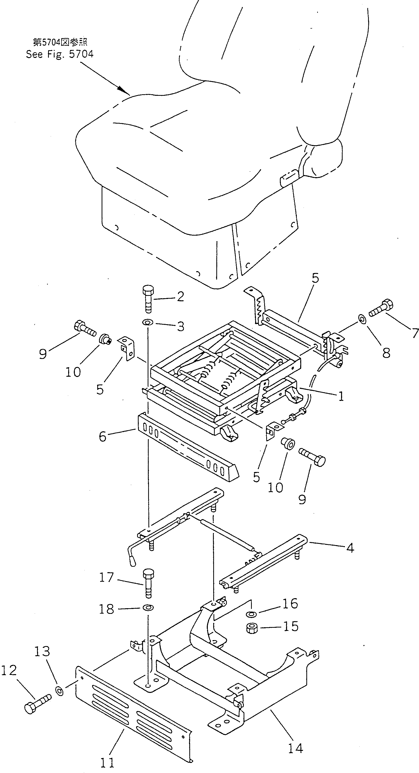
| ? | 20Y-57-11450 | LIFTER ASS'Y | 1 | SN: 32402- |
|||
| ? | 01010-50816 | BOLT | 4 | SN: 32402- |
|||
| ? | 01641-20812 | WASHER | 4 | SN: 32402- |
|||
| ? | 205-57-74181 | ADJUSTER ASS'Y | 1 | SN: 32402- |
|||
| ? | 20Y-57-11430 | TILTING ASS'Y | 1 | SN: 32402- |
|||
| ? | 205-57-74190 | COVER | 1 | SN: 32402- |
|||
| ? | 01010-50816 | BOLT | 2 | SN: 32402- |
|||
| ? | 01641-20812 | WASHER | 2 | SN: 32402- |
|||
| ? | 205-57-74210 | BOLT | 2 | SN: 32402- |
|||
| ? | 205-57-74220 | BUSHING | 2 | SN: 32402- |
|||
| ? | 20Y-57-11470 | COVER | 1 | SN: 32402- |
|||
| ? | 01010-50820 | BOLT | 2 | SN: 32402- |
|||
| ? | 01641-20812 | WASHER | 2 | SN: 32402- |
|||
| ? | 20Y-57-11460 | BRACKET | 1 | SN: 32402- |
|||
| ? | 01580-10806 | NUT | 4 | SN: 32402- |
|||
| ? | 01641-20812 | WASHER | 4 | SN: 32402- |
|||
| ? | 01010-51230 | BOLT | 4 | SN: 32402- |
|||
| ? | 01643-31232 | WASHER | 4 | SN: 32402- |
