| Номер на схеме | Каталожный номер | Название | Количество | Детали | |||
|---|---|---|---|---|---|---|---|
| ? | (708-23-04014) | PUMP ASS'Y,HYDRAULIC (HPV55+55) | 1 | SN: 32402- |
|||
| ? | □708-23-04013 | PUMP ASS'Y,HYDRAULIC (HPV55+55) | 1 | SN: 28001-32401 |
|||
| ? | (☒708-23-04012) | PUMP ASS'Y,HYDRAULIC (HPV55+55) | 1 | SN: (28001-30286) |
|||
| ? | (708-23-04512) | • VALVE ASS'Y,FRONT | 1 | SN: 28001- |
|||
| ? | 708-23-15502 | • • VALVE SUB ASS'Y,FRONT | 1 | SN: 28001- |
|||
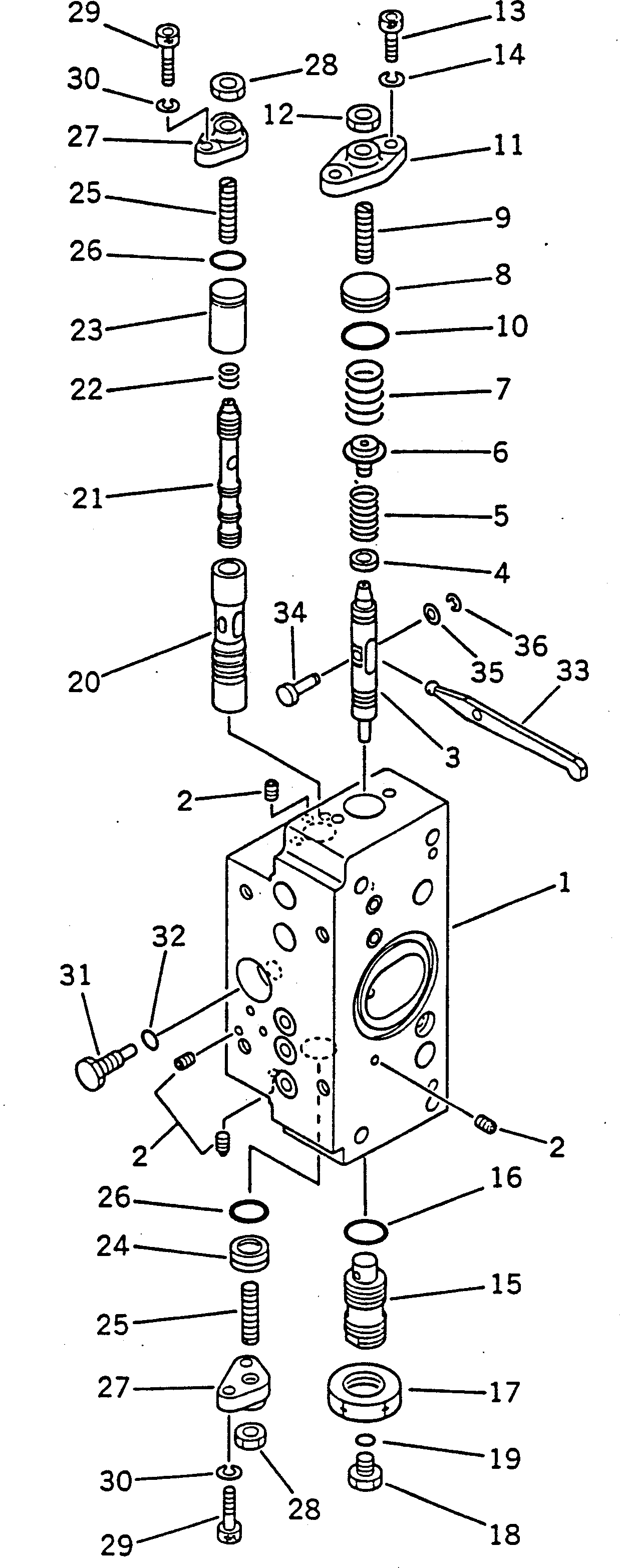
| ? | (★708-23-00421) | • • • BODY ASS'Y | 1 | SN: 28001- |
|||
| ? | ☆ | • • • • BODY | 1 | SN: 28001- |
|||
| ? | ☆ | • • • • EXPANDER | 7 | SN: 28001- |
|||
| ? | (★708-25-15120) | • • • PISTON | 1 | SN: 28001- |
|||
| ? | (★708-25-15130) | • • • SEAT | 1 | SN: 28001- |
|||
| ? | (★708-23-15521) | • • • SPRING | 1 | SN: 28001- |
|||
| ? | (★708-23-15120) | • • • SEAT | 1 | SN: 28001- |
|||
| ? | (★708-23-15510) | • • • SPRING | 1 | SN: 28001- |
|||
| ? | (★708-23-15160) | • • • PLUG | 1 | SN: 28001- |
|||
| ? | (★708-25-15340) | • • • SCREW | 1 | SN: 28001- |
|||
| ? | (★07000-02018) | • • • O-RING | 1 | SN: 28001- |
|||
| ? | (★708-25-15150) | • • • COVER | 1 | SN: 28001- |
|||
| ? | (★01580-10806) | • • • NUT | 1 | SN: 28001- |
|||
| ? | (★708-25-15320) | • • • BOLT | 2 | SN: 28001- |
|||
| ? | (★01602-20619) | • • • WASHER,SPRING | 2 | SN: 28001- |
|||
| ? | (★708-25-15171) | • • • PLUG | 1 | SN: 28001- |
|||
| ? | (★07002-02034) | • • • O-RING | 1 | SN: 28001- |
|||
| ? | (★07239-12009) | • • • NUT | 1 | SN: 28001- |
|||
| ? | (★07040-11007) | • • • PLUG | 1 | SN: 28001- |
|||
| ? | (★07002-01023) | • • • O-RING | 1 | SN: 28001- |
|||
| ? | (★708-25-15180) | • • • SLEEVE | 1 | SN: 28001- |
|||
| ? | (★708-25-15280) | • • • SPOOL | 1 | SN: 28001- |
|||
| ? | (★708-25-15310) | • • • SPRING | 1 | SN: 28001- |
|||
| ? | (★708-25-15330) | • • • SPACER | 1 | SN: 28001- |
|||
| ? | (★708-25-15430) | • • • PLUG | 1 | SN: 28001- |
|||
| ? | (★708-25-15340) | • • • SCREW | 2 | SN: 28001- |
|||
| ? | (★07000-02012) | • • • O-RING | 2 | SN: 28001- |
|||
| ? | (★708-25-15250) | • • • COVER | 2 | SN: 28001- |
|||
| ? | (★01580-10806) | • • • NUT | 2 | SN: 28001- |
|||
| ? | (★708-25-15320) | • • • BOLT | 4 | SN: 28001- |
|||
| ? | (★01602-20619) | • • • WASHER,SPRING | 4 | SN: 28001- |
|||
| ? | (★708-25-15260) | • • • PLUG | 1 | SN: 28001- |
|||
| ? | (★07002-00823) | • • • O-RING | 1 | SN: 28001- |
|||
| ? | (★708-23-15150) | • • • ARM | 1 | SN: 28001- |
|||
| ? | (★708-25-15360) | • • • PIN | 1 | SN: 28001- |
|||
| ? | (★708-25-15370) | • • • WASHER | 1 | SN: 28001- |
|||
| ? | (★708-25-15380) | • • • E-RING | 1 | SN: 28001- |
